
Bute-BQ Grill
Butane Barbecue
OPERATING INSTRUCTIONS

AGA approval
No: 8585
Australian Gas Association
WARNING: FOR OUTDOOR USE ONLY
CM2280
CM2280 Bute BQ Grill
![]()
- Improper installation, adjustment, alteration, service or maintenance can cause property damage, injury or death
- IMPORTANT. Read these instructions for use carefully.
Familiarise yourself with the appliance before connecting it to its gas container. Keep these instructions for future reference - WARNING: Accessible parts may be very hot. Keep young children away at all times
- DO NOT modify this appliance
This page has been left blank
NAME OF PARTS

OPERATING INSTRUCTIONS
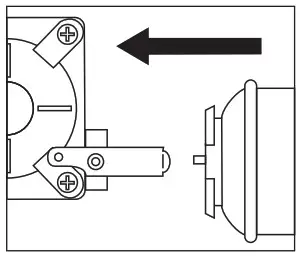
How to connect a butane cartridge:
- The cartridge lever must be in the unlock position. The control knob must be to the OFF position. If the gas knob is in the ON position the cartridge cannot be put into position

- Open the cartridge cover and insert the butane cartridge. Make sure that the cartridge slot is aligned with the valve and fits into the cartridge lever guide on the valve inside the stove
(CAUTION: USE ONLY APPROVED BUTANE GAS CARTRIDGE UL147B OR EN417)
- When you are ready to use the stove, push the cartridge lever down to the LOCK position. If a hissing sound or gas smell is evident, check that cartridge is fitted correctly. If lever is hard to push down, do not force it. Check that the cartridge is fitted correctly and the control is in the OFF position

How to light the Barbecue:
- Turn the control knob towards the ignition SYMBOL until hear a click from the piezo ignition. Hold the knob in the fully rotated position
- Continue to hold the knob in the fully rotated position for 15 to 30 seconds
- Release the knob and check the flame remains alight
- If the ignition fails, turn the control knob back to OFF position and repeat steps 1 to 3
Heat Control:
- The control knob can be turned to adjust the flame output. Adjust it to the suitable position for cooking
Turning off the Barbecue /Disconnecting the butane
- Turn the control knob to the OFF position
- Raise the cartridge lever to UNLOCK position and remove the butane cartridge from the barbecue when not in use
WARNING!!
- Do not store cartridge in barbecue during transportation or storage
- Replace the nozzle cap back onto the cartridge to protect nozzle and prevent accidental gas leakage
- Avoid boil overs and spillage
- CAUTION: Accessible parts may be very hot. Keep young children away
- Allow to cool before moving or handling
- Do not use as space heater
- Do not use for any other purpose other than cooking
- Remove all packaging before use. Do not operate barbecue in the carry case
- CAUTION: Never obstruct the air openings or vents on this appliance
What to do if your barbecue shuts down unexpectedly:
This barbecue includes 3 safety shut down mechanisms;
- CARTRIDGE EJECTION – Ejects butane cartridge when the pressure is too high
- PRESSURE SHUT OFF – Stops gas flow to the burner when the cartridge pressure is too high
- THERMAL SHUT OFF – Stops gas flow to the burner when the cartridge temperature is too high
Any of these safety mechanisms can activate due to overheating, for example, if you place a large solid hotplate directly on top of the barbecue, its likely that you will overheat the Barbecue / Butane Cartridge. If safety shut down occurs, you may need to wait 15 minutes for the barbecue to cool before its possible to relight the barbecue, however if the PRESSURE SHUT OFF (item 2) has occurred, this is easily reset by pressing the lever as shown in the diagram.
Handy Hint, Storing butane cartridges in direct sunlight or in cars can also result in overheating. Always store butane cartridges in a cool area.
PRECAUTIONS
Butane Cartridge:
- This appliance shall only be used with a butane cartridge certified to
UL147B or EN417. IT MAY BE HAZARDOUS TO ATTEMPT TO FIT OTHER TYPES OF GAS CARTRIDGES - The cartridge should be placed away from flammable products or direct sunlight. Never keep cartridge in places where the temperature is over 50°C
- Do not subject the cartridge to impact or rough handling
- Cartridges must be stored outdoors in a well ventilated location out of reach of children
- Do not puncture or incinerate empty cartridge
- Avoid carrying cartridge in the boot of a car or any unventilated enclosure
- Gas cartridges shall be changed in a well ventilated location, preferably outside, away from people and any sources of ignition such as naked flames, electric heaters/equipment
- To check if gas cartridge contains gas, disconnect from the barbecue, then hold upright and shake from side to side. If you can feel or hear liquid movement, it contains gas
Barbecue:
- Check the seals between the appliance and the gas cartridge are in place and in good condition before connecting the gas cartridge
- Do not use this appliance if it has damaged or worn seals
- Do not use this appliance if it is leaking, damaged or does not operate properly
- If there is a leak on your appliance (smell of gas) and you cannot stop the gas flow, remove the appliance to a well ventilated location away from any ignition source. Only check for leaks outdoors using a soapy water solution. Do not try to detect leaks using a flame
- This appliance must only be serviced by an authorised person
- Do not modify this appliance
Use:
CAUTION: This barbecue must only be used with the supplied barbecue grill and fat pan supplied. NEVER use other hotplates, cooking pans or vessels on this barbecue.
- Do not use for any purpose other than cooking a barbecue. Incorrect use may result in overheating, incomplete combustion and/or a risk of fire or explosion

- NEVER put items such as briquettes, charcoal or heat beads on the barbecue
- In the event of a gas leak (smell of gas) immediately turn the control to the off position and move the cartridge lever to the unlock position to isolate the gas supply/butane cartridge

- Do not move the appliance during operation
Placement:
- Do not use the barbecue in very windy conditions

- Do not place or use this appliance on any hot surface
- Do not use the barbecue under overhanging shelves etc
- Do not use close to combustible materials such as curtains. No combustible materials should be within 40cm from any side of or 120cm above the barbecue
- Use barbecue in the shade or in cool places. Avoid using in direct sunlight
- Only operate this appliance on a flat horizontal surface to ensure the aeration opening below the stove is clear and unobstructed
- ONLY USE IN WELL VENTILATED AREAS: CARBON MONOXIDE HAZARD – THIS APPLIANCE CAN PRODUCE CARBON MONOXIDE WHICH HAS NO ODOUR. USING IT IN AN ENCLOSED SPACE (FOR EXAMPLE, CARAVAN, TENT, CAR, MOBILE HOME) MAY CAUSE DEATH
ABNORMAL OPERATION
Abnormal operation can be identified by: Irregular burner flame which is unstable. Refer to the trouble shooting section of this manual for possible solutions . If the stove does not operate properly DO NOT use the appliance.
MAINTENANCE
Precautions:
- Make sure that the gas cartridge is released before cleaning
- Never remove safety devices or gas components
Cleaning:
- Body: Wipe off with a clean cloth. When necessary, use a kitchen cleanser and then finish with a dry cloth
- BBQ Grill, Drip Tray and Fat Pan: After washing, wipe with a dry cloth
- Burner: Clean the burner ports with a hard brush making sure that all particles are removed from the burner ports
SPECIFICATIONS
| Model No. | CM2280 |
| Ignition Method | Piezo-Electric |
| Dimensions | 421 mm(W) X 291 mm(D) X 117 mm(H) |
| Weight | 3.70 kg |
| Nominal Gas consumption | 150 q/h (7.5 Mj/hr) |
| Type of Gas | Butane |
| Injector size | 0.6 mm |
| AGA approval No. | AGA 8585 |
INSTALLATION:
Select a location for the appliance that will provide adequate clearances. See figures below for clearances that must be maintained to the side walls, floor and horizontal surface surrounding the appliance. These clearances must be maintained at all times.
MINIMUM CLEARANCE FROM COMBUSTIBLES:
SIDES – 40cm REAR – 40cm ABOVE – 120cm FRONT – 40cm
This appliance shall only be used in an above ground open air situation with natural ventilation, without stagnant areas, where gas leakage and products of combustion are rapidly dispersed by wind and natural convection. Any enclosure in which the appliance is used shall comply with one of the following.
- An enclosure with walls on all sides, but with no overhead cover.
- Within a partial enclosure that includes an overhead cover and no more than two walls.
- Within a partial enclosure that includes an overhead cover and more than two walls, the following shall apply;
- At least 25% of the total wall area is completely open.
- 30% or more in total of the remaining wall side, back and front wall areas is open and unrestricted.
- In the case of balconies 20% or more of the total wall area shall be and remain open and unrestricted.
DIAGRAMMATIC REPRESENTATIONS OF OUTDOOR AREAS
The following figures are diagrammatic representations of outdoor areas. Rectangular areas have been used in these figures the same principles apply to any other shaped area.



TROUBLESHOOTING

If you are still experiencing difficulty with the appliance after trying these solutions, the appliance should not be used until it has been inspected and repaired by a suitably qualified person.
WARRANTY
1 YEAR EXPRESS WARRANTY
Amalgamated Hardware Merchants Limited (“AHM”) warrants that this product will be free from material defects in workmanship and materials for a period of 1 year from the date of purchase (“Warranty Period”). If a material defect occurs during the Warranty Period, and AHM veries such material defect and your claim, AHM will choose to either repair the product, replace the product, or provide you with a refund of the purchase price of the product (“AHM’s Express Warranty”). Any repaired or replaced product will be covered by AHM’s Express Warranty for the remainder of the original Warranty Period only.
AHM’s Express Warranty will not apply if the defect in the product is caused or contributed to by misuse of the product, failure to maintain the product, neglect or accident, ordinary wear and tear (including rust, corrosion, and normal fading, weathering, staining, discolouration, scratching or chipping), exposure to heat, failure to use or install the product in accordance with any instructions or manuals, or any modication, repair or tampering with the product by anyone other than AHM.
To claim under AHM’s Express Warranty, you must take the product (and proof of purchase) to the store where it was purchased. You must provide any additional information requested in relation to your claim. For online purchases, contact the online supplier to arrange the return of the product. You will bear any costs incurred in making a claim, including any costs of returning the product to the store, and of having the product returned to you (if applicable).
Additional guarantees under Consumer Laws
The New Zealand Consumer Guarantees Act 1993 and the Australian Competition and Consumer Act 2010 (including the Australian Consumer Law 2011), as well as other laws in those jurisdictions (“Consumer Law”) give you other legal rights. For products sold in New Zealand, these rights cannot be modied or excluded by any contract, except in those circumstances expressly contemplated by New Zealand Consumer Law. For products sold in Australia, our goods come with guarantees that cannot be excluded under the Australian Consumer Law. You are entitled to a replacement or refund for a major failure and for compensation for any other reasonably foreseeable loss or damage. You are also entitled to have the goods repaired or replaced if the goods fail to be of acceptable quality and the failure does not amount to a major failure. Warranty excludes warping of the cooking plate due to misuse.
AHM’s Express Warranty is in addition to any other rights and remedies you have under the applicable Consumer Law. Except as otherwise provided by AHM’s Express Warranty, all warranties, terms, conditions, guarantees or similar, other than those which cannot be excluded under applicable Consumer Law, are expressly excluded by AHM to the extent legally permitted.
AHM NZ: 8 Hautu Drive, Wiri, Auckland, New Zealand 2104. Phone: +64 9 251 1300
Email: [email protected] Fax: +64 9 251 1301 www.ahm.co.nz
AHM AUS: 1/169 Given Terrace Paddington Queensland, Australia 4064. Phone: +61 7 3367 8419
Email: [email protected]
MADE IN CHINA
Campmaster® is a registered trademark of AHM Australia: 07 3367 8419
New Zealand: 09 251 1310 (Service & Repairs)
http://www.campmaster.co.nz






















