PHILIPS 915005842401 Hue White and Color Ambiance Attract Wall Light LED

WHAT IS IN BOX
TOOLS REQUIRED
IMPORTANT
INSTALLATION
STEP1
STEP2
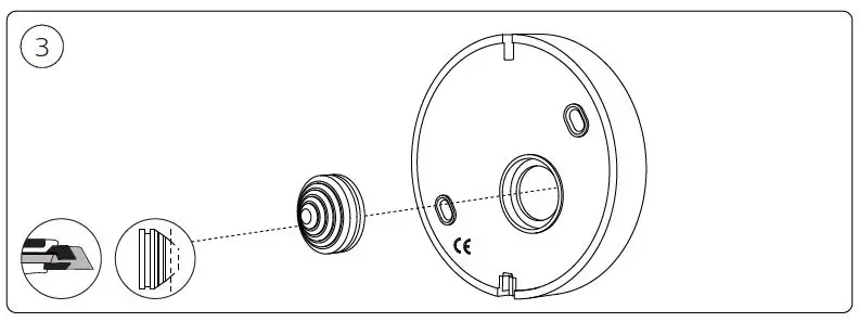
STEP3
STEP4
STEP5
STEP6
STEP7
STEP8
STEP9




IMPORTANT

STEP1
STEP2
STEP3
STEP4
STEP5
STEP6
STEP7
STEP8
STEP9
Download manual
Here you can download full pdf version of manual, it may contain additional safety instructions, warranty information, FCC rules, etc.