Philips 5309231p6 Runner Hue Led Wall And Ceiling Light User Manual
WHAT IS IN THE BOX
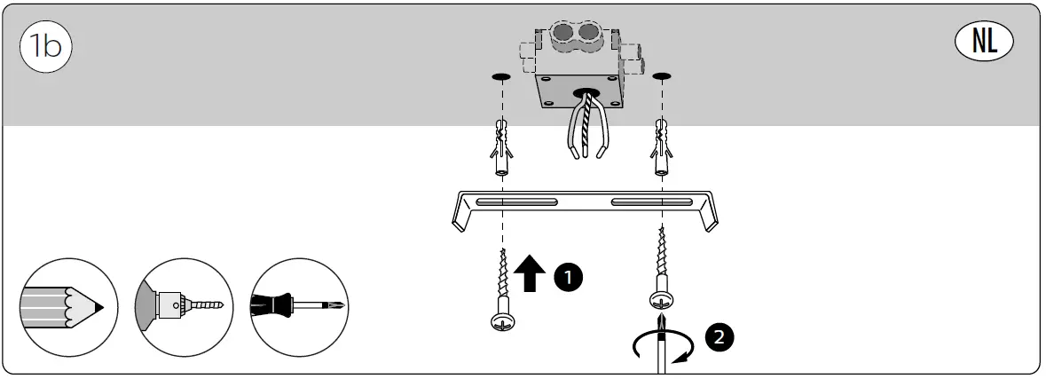
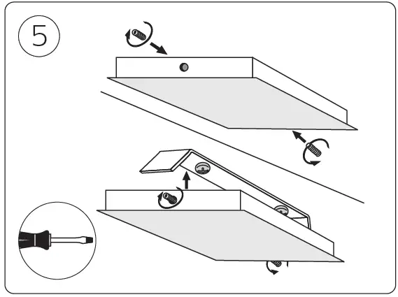
TOOLS
INSTRUCTIONS
POWER
INSTALLATION
Download manual
Here you can download full pdf version of manual, it may contain additional safety instructions, warranty information, FCC rules, etc.
To access the pdf donwload links, solve the captcha.












































