
Lutron Roller 100 / 150 / 300 Wall /Ceiling /Jamb Mount
Chassis Mounting Guide for Roller 100, 150, and 300 Shades. Please read before installing.
Prepare to Install
CAUTION: RISK OF FALLING OBJECTS. Read and follow all instructions for mounting the shade system. Failure to follow these instructions could result in minor to moderate injury.
Important Notes: Please Read Before Installing
A. Lutron window treatment systems are intended for use only with Lutron controls and power supplies.
B. Codes: Install in accordance with all local and national electrical codes.
C. Environment: Ambient operating temperature: 32 °F – 104 °F (0 °C – 40 °C), 0 – 90% humidity, non-condensing. Indoor use only.
D. Maintain sufficient clearance between the moving shade and any object.
E. Mount fixed controls and keep remote controls out of reach of children.
F. DO NOT operate shades if there are visible signs of wear or damage.
G. For wiring and programming information, refer to Sivoia QS Basic Wiring and Setup; P/N 045520.
Lutron Items:

* Depending on quantities ordered and shipped, bracket kit(s) may or may not be packaged inside shade box(es)
** See note regarding mounting hardware in Section 3
Tools Required:

Mark the Sub-bracket Locations
Mark the location of the sub-brackets so that they are level and centered over the window, ensuring that the screws will be driven into a structural member capable of supporting the operating load of the shade system.

NOTE: Allow ample clearance to prevent the fabric from rubbing against the trim, window, top treatment, or any object. Wall mount may require spacer blocks (not included), to clear the trim.
Install the Sub-brackets
NOTE: The self-drilling mounting screws provided are suitable for mounting into solid wood structural members. It is the responsibility of the installer to select and install mounting fasteners which are appropriate for the mounting surface and capable of supporting the operating load of the shade system.
Using fasteners that are appropriate for the mounting surface, install the subbrackets at the marks made in the previous section.

Cable Entry
Cable should exit from the wall, ceiling, or jamb on the drive side of system. Leave 1218 in (3045 cm) of cable exposed.
Ceiling Sub-bracket

Ensure the cable entry location and sub-bracket location do not conflict. Cable may enter beside or below the sub-bracket, with enough clearance to ensure it will not contact the moving shade fabric after final installation. The ceiling sub-bracket features a clearance hole for ceiling cable entry. Suggested cable entry locations are shown.
Wall Sub-bracket

Ensure the cable entry location and sub-bracket location do not conflict. Cable may enter beside, above, or below the sub-bracket, with enough clearance to ensure it will not contact the moving shade fabric after final installation. Suggested cable entry locations are shown.
Universal Sub-bracket

Ensure the cable entry location and sub-bracket location do not conflict. Cable may enter through ceiling, wall, or jamb, with enough clearance to ensure it will not contact the moving shade fabric after final installation. The universal sub bracket features clearance holes for ceiling and wall cable entry. Suggested cable entry locations are shown.
Hang the Shade
IMPORTANT: This procedure must be performed by 2 people, with one person supporting each end of the shade. If the sub-brackets are mounted in a location that cannot be reached when standing on the floor, 2 ladders or lifts may also be required. It is recommended that all steps are reviewed by both installers before proceeding.
Ceiling Mount

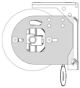
Align and insert the tab at the top of the shade bracket into the sub-bracket’s rear hook while lifting the front of the shade bracket over the sub-bracket’s front hook as shown.

Ensure both shade brackets are engaged in the sub-bracket hooks as shown. Carefully slide the shade left or right to center it on the window opening.

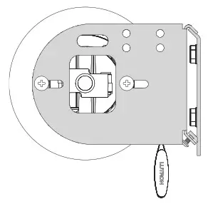
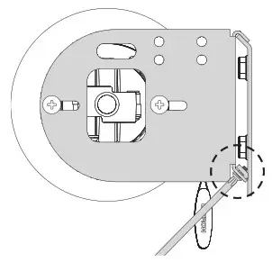
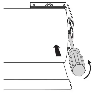
Use a hand screwdriver to fully tighten the securing screw on each shade bracket, ensuring it passes through the subbracket hook. Verify the bracket is secured with a careful tug.
Wall Mount

Tilt the shade bracket slightly and engage its hook with the sub-bracket’s upper tab, then allow the shade to swing downward and rest against the sub-bracket’s lower tab.

Ensure both shade brackets are engaged in the sub-brackets as shown. Carefully slide the shade left or right to center it on the window opening.

Use a hand screwdriver to fully tighten the securing screw on each shade bracket, ensuring it passes through the subbracket tab. Verify the bracket is secured with a careful tug.
Universal Mount

Tilt the shade bracket slightly and engage its hook with the subbracket’s upper tab, then allow the shade to swing downward and rest against the sub-bracket’s lower tab.

Ensure both shade brackets are engaged in the sub-brackets as shown. Carefully slide the shade left or right to center it on the window opening.

Use a hand screwdriver to fully tighten the securing screw on each shade bracket, ensuring it passes through the subbracket tab. Verify the bracket is secured with a careful tug.
Level the Shade
Use a bubble level along the fabric roll to check whether the shade is level. If adjustment is needed, the idler bracket features an adjusting screw that raises or lowers the idler end of the shade for levelling purposes.


Turn the adjusting screw clockwise to lower the idler end of the shade

Turn the adjusting screw counter-clockwise to raise the idler end of the shade
Wire the Shade and Power Up
A. Follow the instructions in the enclosed document: Sivoia QS Basic Wiring and Setup; P/N 045520 to complete the shade wiring and set limits.
B. Run the shade up and down several times and verify that no object interferes with normal shade movement. Make additional adjustments as necessary to correct any problems discovered.
Care and Maintenance
After a product has been installed correctly by a qualified installer, there is no mechanical upkeep required. In the event adjustments or repairs are needed, the original provider of the systems should be notified. All adjustments and repairs must be made by qualified personnel.
Fabrics can be periodically dusted in place using a feather duster or vacuum with a soft brush attachment. For detailed fabric care information, refer to www.lutronfabrics.com
For complete warranty information, refer to:
lutron.com/TechnicalDocumentLibrary/Window Systems Warranty.pdf
Worldwide Headquarters | USA
Lutron Electronics Co., Inc. 7200 Suter Road, Coopersburg, PA 18036
Customer Assistance: 1.844.LUTRON1 (588-7661)
Online: www.lutron.com/help | Email: [email protected]
EEA
Lutron NL B.V., Herengracht 466, 1017 CA, Amsterdam, Netherlands (Importer)
United Kingdom
Lutron EA Ltd, 125 Finsbury Pavement, 4th floor, London EC2A 1NQ, UK
Tel: +44.(0)20.7702.0657 | Fax: +44.(0)20.7480.6899
Technical Support: +44.(0)20.7680.4481 | Freephone: 0800.282.107
For complete warranty information, refer to: lutron.com/TechnicalDocumentLibrary/Window Systems Warranty.pdf
The Lutron logo and Sivoia are trademarks of Lutron Electronics Co., Inc., registered in the U.S. and other countries

Lutron Electronics Co., Inc.
7200 Suter Road
Coopersburg, PA 18036-1299, U.S.A.
![]()
02/2022
P/N 045786 Rev B

















