BROAN L100E Light Commercial Energy Star Certified Ventilators Ceiling or Wall Mount User Manual
SAFETY INSTRUCTIONS
Please take note that this manual uses the following symbols to emphasize particular information:
WARNING
Identifies an instruction which, if not followed, might cause serious personal injuries including possibility of death.
CAUTION
Denotes an instruction which, if not followed, may severely damage the unit and/or its components.
NOTE: Indicates supplementary information needed to fully complete an instruction.
LIMITATION
For residential (domestic) and light commercial installation only.
WARNING
TO REDUCE THE RISK OF FIRE, ELECTRIC SHOCK, OR INJURY TO PERSON(S) OBSERVE THE FOLLOWING:
- Use this unit only in the manner intended by the manufacturer. If you have questions, contact the manufacturer at the address or telephone number listed in the warranty.
- Before servicing or cleaning unit, switch power off at service panel and lock the service disconnecting means to prevent power from being switched on accidentally. When the service disconnecting means cannot be locked, securely fasten a prominent warning device, such as a tag, to the service panel.
- Installation work and electrical wiring must be done by a qualifi ed person(s) in accordance with all applicable codes and standards, including fi re-rated construction codes and standards.
- Sufficient air is needed for proper combustion and exhausting of gases through the flue (chimney) of fuel burning equipment to prevent backdrafting. Follow the heating equipment manufacturer’s guideline and safety standards such as those published by the
National Fire Protection Association (NFPA), and the American Society for Heating, Refrigeration and Air Conditioning Engineers (ASHRAE), and the local code authorities. - When cutting or drilling into a wall or ceiling, do not damage electrical wiring and other hidden utilities.
- Ducted fans must always be vented to the outdoors.
- To reduce the risk of fi re, use only metal ductwork.
- Models L100E, L150E, L200E, L250E and L300E only:
If this unit is to be installed over a tub or shower, it must be marked as appropriate for the application and be connected to a GFCI (Ground Fault Interrupter) – protected branch circuit. - Never place a switch where it can be reached from a tub or shower.
- This unit must be grounded.
- The wearing of safety glasses and gloves is recommended when installing, maintaining or cleaning the unit to reduce the risk of injury that could be caused by the presence of thin metal and/or moving parts.
- If the fan makes excessive noise or if there is unusual noise or smells of smoke, disconnect power supply and contact customer service.
CAUTION
- For general ventilating use only. Do not use to exhaust hazardous or explosive materials and vapors.
- To avoid motor bearing damage and noisy and/or unbalanced impellers, keep drywall spray, construction dust, etc. off power unit.
- Please read specification label on product for further information and requirements.

TYPICAL INSTALLATION
WARNING
The wearing of safety glasses and gloves is recommended when installing, maintaining or cleaning the unit to reduce the risk of injury that could be caused by the presence of thin metal and/or moving parts.
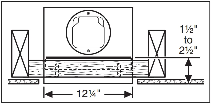
MOUNTING (NEW FRAME CONSTRUCTION)

Factory-shipped unit installed in new construction.
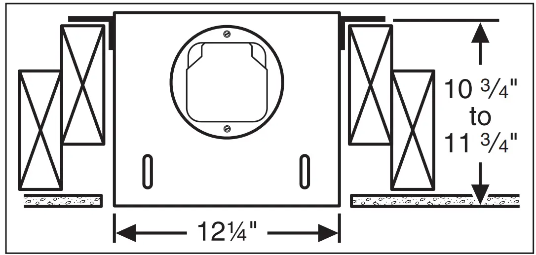
MOUNTING (EXISTING FRAME CONSTRUCTION)

Factory-shipped unit installed in existing construction.
MOUNTING OPTIONS
Use 1/4-20 hex. nuts to secure mounting brackets to housing. Loosen and re-tighten or remove and replace nuts as necessary for desired mounting bracket position.
- Mounting brackets in factory-shipped position. (Outlet parallel to joists.) (New construction)

- Mounting brackets mounted to outlet sides of housing. (Outlet perpendicular to joists.) (New construction)

- Mounting brackets mounted to top of sides of housing. (Outlet parallel to joists.) (New or existing construction)

- Mounting brackets flipped over and mounted to outlet sides of housing. (Outlet parallel to joists.) (Existing construction)

- Mounting brackets flipped over to give approx. 1” more clearance. (Outlet parallel to joists.) (New construction)

- Mounting brackets flipped over and mounted to top of sides of housing. (Outlet parallel to joists.) (New or existing construction)

WIRING
WARNING
Electrical wiring must be done by a qualified person(s) in accordance with all applicable codes and standards, including fire-rated construction codes and standards.
Ventilator can be wired from outside of housing. Use UL approved connectors to wire per local codes.
WIRING PLATE POSITION
Wiring plate mounts to side or top of housing.
DUCTING
CAUTION
Remove shipping tape from damper.
Remove the shipping tape from the damper flap and make sure that damper flap opens and closes freely inside the ductwork. Use duct tape to make ductwork connections secure and air-tight.
CAUTION
Remove shipping ring from blower inlet.
Remove the shipping ring from the blower inlet before operating the ventilator.
BLOWER DISCHARGE POSITIONS
- To remove blower: unplug blower and remove 2 blower retaining nuts

- Blower and duct connector in horizontal discharge position. (Factory shipped)

- Blower and duct connector in vertical discharge position.
HORIZONTAL BLOWER DISCHARGE
- Two ways to connect ductwork to a factory-shipped unit.

- Typical ductwork connection to a ventilator converted to vertical discharge.

USE AND CARE
Ventilator is designed for continuous operation. If desired, it may be controlled using an on/off switch or a solid-state, variable speed control. Follow wiring instructions packed with control, and adhere to all local and state codes, and the National Electrical Code.
WARNING
To reduce the risk of electric shock, disconnect from power supply before servicing.
To clean grille: Use vacuum soft brush attachment or remove grille and clean with a soft cloth and mild soap or detergent. Dry grille thoroughly before reinstalling.
To clean blower assembly: Remove grille, unplug blower from housing, remove blower mounting nuts, and carefully remove blower from housing. Vacuum blower and interior of unit with the dusting brush attachment.
Motor is permanently lubricated. Do not oil or disassemble motor.
If the product is making excessive or unusual noises, replace the blower assembly.
WARRANTY
Broan-NuTone warrants to the original consumer purchaser of its products that such products will be free from defects in materials or workmanship for a period of one year from the date of original purchase. THERE ARE NO OTHER WARRANTIES, EXPRESS OR IMPLIED, INCLUDING, BUT NOT LIMITED TO, IMPLIED WARRANTIES OF MERCHANTABILITY OR FITNESS FOR A PARTICULAR PURPOSE.
During this one-year period, Broan-NuTone will, at its option, repair or replace, without charge, any product or part which is found to be defective under normal use and service.
THIS WARRANTY DOES NOT EXTEND TO FLUORESCENT LAMP STARTERS AND TUBES. This warranty does not cover (a) normal maintenance and service or (b) any products or parts which have been subject to misuse, negligence, accident, improper maintenance or repair (other than by Broan-NuTone), faulty installation or installation contrary to recommended installation instructions.
The duration of an implied warranty is limited to the one-year period as specifi ed for the express warranty. Some states do not allow limitation on how long an implied warranty lasts, so the above limitation may not apply to you.
BROAN-NUTONE’S OBLIGATION TO REPAIR OR REPLACE, AT BROAN NUTONE’S OPTION, SHALL BE THE PURCHASER’S SOLE AND EXCLUSIVE REMEDY UNDER THIS WARRANTY. BROAN-NUTONE SHALL NOT BE LIABLE FOR INCIDENTAL, CONSEQUENTIAL OR SPECIAL DAMAGES ARISING OUT OF OR IN CONNECTION WITH PRODUCT USE OR PERFORMANCE. Some states do not allow the exclusion or limitation of incidental or consequential damages, so the above limitation may not apply to you.
This warranty gives you specific legal rights, and you may also have other rights, which vary from state to state. This warranty supersedes all prior warranties.
To qualify for warranty service, you must (a) notify Broan-NuTone at the address or phone number stated below (b) give the model number and part identification and (c) describe the nature of any defect in the product or part. At the time of requesting warranty service, you must present evidence of the original purchase date.
Broan-NuTone LLC, 926 West State Street, Hartford, WI 53027 1 800-558-1711 www.broan-nutone.com
Venmar Ventilation ULC, 550 Lemire Blvd., Drummondville, Québec Canada J2C 7W9 1 800-567-3855 www.broan-nutone.ca



























