BORA PORTAMATE PM5090 Standard Pedestal Roller

Product Information
The PM5090 and PM5093 are pedestal rollers designed to provide support for large or long pieces of material during cutting, sanding, or other similar tasks. The PM5093 model is a deluxe version and includes additional features such as a shoulder nut, bolt for shoulder nut, and roller ball attachment.
The pedestal rollers have a weight capacity of 200lbs and come with a height adjustment handle and adjustable foot for added convenience.
Proper care and maintenance are required to ensure the longevity and safe operation of the pedestal rollers. Refer to the owner’s manual for a complete parts list, specifications, and safety warnings.
Product Usage Instructions
- Unpack the product and ensure all parts listed in Figure-1 are present.
- Assemble the pedestal roller using the tools required which include a 5mm Allen wrench and adjustable wrench.
- Once assembled, place the pedestal roller on a flat and level surface.
- Adjust the height of the roller using the height adjustment handle and ensure it is at the appropriate level for the task at hand.
- Place the material to be worked on top of the roller and adjust as necessary.
- Ensure the material is properly supported by the roller and does not exceed the weight capacity of 200lbs.
- Use caution when working with large or long pieces of material and consider providing extra support or assistance from another person.
- When finished, properly maintain the pedestal roller by periodically checking hardware for tightness and replacing damaged components immediately.
Remember to always follow the safety warnings and precautions provided in the owner’s manual, use the correct tools for the job, and maintain awareness and alertness at all times.
OPERATORS MANUAL
Caution: Read all instructions carefully.
SAVE THESE INSTRUCTIONS. Refer to them often and use them to instruct others.
- Date Purchased
- Where Purchased
- Address
Congratulations!
You have just purchased a Portamate PM-5090 or PM-5093 folding pedestal roller. This versatile, sturdy workshop accessory is built for supporting material. This pedestal roller solves many woodworker’s needs for stable support and freedom of movement when using larger work material. Quality cutting, planing or other machining operations depend on precise stability and material control. When working alone and using power tools, the Portamate pedestal roller becomes an important safety tool to prevent workplace injuries.
The pedestal roller has been manufactured under high quality standards to meet superior performance criteria. With proper care it should give you many years of dependable service. Before using, familiarize yourself with all the operating features and safety requirements.
When unpacking this product be careful to check for all the parts listed in Figure-1. Sometimes hardware kits are accidentally discarded with the packaging material so do NOT throw anything away until you have completed the assembly process.
Save this owner’s manual for future reference to the safety warnings, parts list, assembly instructions, operating and maintenance procedures. Just in case of warranty support, keep your payment receipt together with this manual.
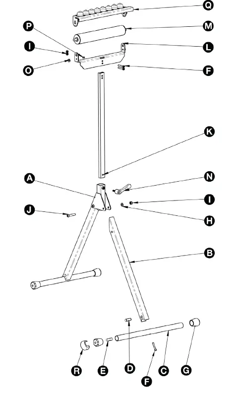
Parts List and Specifications
Tools Required: 5mm Allen Wrench, Adjustable Wrench
Figure 1
| Description | Part No. | Qty. |
| A CENTER HINGE | PR106 | 1 |
| B VERTICAL LEGS | PR107 | 2 |
| C HORIZONTAL FEET | PR101 | 2 |
| D 6MM THREADED CYLINDER NUT | HD500 | 2 |
| E CYLINDER SLEEVE | PR108 | 3 |
| F M5 X 35MM BOLT | HD214 | 4 |
| G RUBBER FEET | PR109 | 4 |
| H M6 FLAT WASHER | HD215 | 2 |
| I M6 LOCK NUT | HD216 | 4 |
| J M6 X 45MM BOLT | HD217 | 2 |
| K EXTENSION ARM | PR110 | 1 |
| L ROLLER BRACKET | PR111 | 1 |
| M 12″ BALL BEARING ROLLER | PR112 | 1 |
| N HEIGHT ADJUSTMENT HANDLE | PR104 | 1 |
| R ADJUSTABLE FOOT | PR116 | 1 |
| PM 5093 ONLY | ||
| O SHOULDER NUT | PR113 | 2 |
| P BOLT FOR SHOULDER NUT | PR114 | 2 |
| Q ROLLER BALL ATTACHMENT | PR115 | 1 |
Important Safety Warnings
Read all instructions before setup and use of this product. Recognizing the hazards of each workshop operation and proper attention to safety to anticipate problems will considerably limit the risk of personal injury. Always use common sense. Your personal safety is your responsibility.
- Do not use this pedestal roller to support people or animals. Do not sit or stand on it.
- Keep children away. Never allow children to play with the pedestal roller.
- Ensure that the material can be securely supported by the pedestal roller and will not vibrate or move unexpectedly during use.
- Do not continue working if the pedestal roller tips, slides or moves in any way.
- Do not exceed the maximum weight capacity of 200lbs.
- Think safety and provide extra support like a second stand or consider getting assistance from another person for extremely large or long pieces when working.
- Check for damaged parts before use. A broken part could compromise the strength and performance of the pedestal roller and create an unsafe operating condition.
- Proper maintenance is your responsibility. For safety, periodically check hardware for tightness, and replace damaged components immediately.
- When servicing, use only identical replacement parts. Use of other parts will void the warranty.
- Use the pedestal roller on a flat and level surface.
- Use the correct tools for the job. This roller top may not be suitable for every application.
- Maintain safety labels on this tool for clear readability. If missing or unreadable, please contact HTC for a replacement.
- Never stand or sit on tools.
- Replace damaged components immediately.
- Make sure your work platform is sufficiently sturdy to do the specific job at hand.
- Properly anchor power tools to work stands.
- Use correct blade for job being done.
- Think Safety. Safety is a combination of operator awareness, common sense and alertness at all times.
General Power Tool Safety Precautions
Using power tools of any kind can be dangerous if safe operating procedures are not followed. Recognizing the hazards of each tool and using them with respect and caution will considerably limit the risk of personal injury.
- Keep the work area well illuminated and clean. Cluttered benches, misplaced tools, messy floors and dimly lit work surfaces can lead to injuries. Maintain a safe work environment by making sure you have an adequate surrounding workspace that is dry and clear of debris.
- Stay Alert – Watch what you are doing and use common sense. Do not operate tools while you are tired, under the influence of drugs, alcohol or any medication. Avoid distractions because a moment of inattention while operating power tools may result in serious personal injury.
- Dress Properly – Do not wear loose clothing, gloves, neckties, rings, bracelets or other jewelry that may get caught in moving parts. Non-slip footwear is recommended. Long hair must be contained.
- Always Wear Safety Protection – Recommendations for power tool usage include: safety glasses that comply with ANSI Z87.1 standards, earmuffs to reduce noise exposure, and a face or dust mask to prevent inhalation of sanding dust.
- Keep Children and Visitors Away – Operate tools at a safe distance from onlookers and distractions. Be cautious of flying debris and sparks if onlookers are present. Store power tools locked up and out of the reach of children. Tools are very dangerous in the hands of untrained users.
- Do Not Overreach – Take care to maintain proper footing and balance at all time. Clamps and other practical ways to secure and support the workpiece or to keep power cords from moving during operation make work safer. Holding your work by hand or against your body for support is unstable and may lead to loss of control and injury.
- Electrical Safety – If a tool is equipped with a three-prong plug then it is specifically designed for a grounded three-hole electrical receptacle. If an adapter or extension cord is used, always use a three-prong type attached to a known grounded electrical connection and NEVER remove the third prong. Do not abuse the cord. Keep the power cord away from heat, oil, water and sharp objects. Grasp the plug when disconnecting from the power receptacle and do NOT pull from the cord. Do not use electrically powered tools in the presence of flammable gases or liquids.
- Do not carry a plugged in tool. Avoid accidental starting by making certain the switch is in the OFF position before plugging in the power cord. Never leave a tool running unattended.
- Do Not Force Tool – The tool will do a better job and be safer sanding at a moderate rate.
- Check Tools Regularly – Inspect tools periodically for misalignment or binding of moving parts, breakage or damaged parts. Repair or replace any damaged parts before further operation. Follow the instructions on recommended accessory changes and lubrication maintenance. Do not use a tool if the switch does not turn the tool on and off correctly. Storing tools in a dry location will inhibit performance damage due to rust.
- Use only approved parts and accessories. The use of replacement parts from unauthorized sources may present a risk of personal injury. Accessories that may be suitable for one tool may become hazardous when used on another tool.
- Warning: Work in a well ventilated area at all times. Dust from wood, plastic and other materials may be hazardous to your health so you should always wear a dust mask when sanding, sawing, grinding, drilling, etc. Many power tools provide built-in vacuum attachment dust ports designed to provide proper dust removal and it is highly recommended that you have one properly fitted to your tool when in operation to reduce your exposure to harmful chemicals.
Assembly Instructions
See parts list table and Figure-1 for names and identification of the components and hardware.
Tools Required: 5mm Allen Wrench (included), Adjustable Wrench
Remove components from the box and spread them out to make certain that all parts and hardware are included and are not damaged from shipment. Complete the assembly before discarding the box.
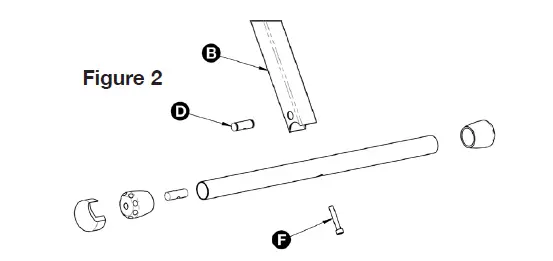
- Begin by inserting a Cylinder Nut (D) into the hole at the bottom of a Vertical Leg (B). Orient the hole in the Cylinder Nut to accept the M6 x 35mm bolt (F) as shown in Figure-2.

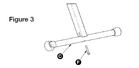
- Place a M6 x 35 bolt (F) through the Horizontal Foot (C) as shown in Figure-3 so that the head of the screw is inside the tube. A 5mm Allen Wrench is useful to keep the screw steady during alignment.

- Tighten the bolt firmly into the Cylinder Nut with the 5mm Allen Wrench.
- Repeat Steps 1 – 3 for the other Vertical Leg.
- Next fasten the two Vertical Legs together at the hinge point with an M6 x 45 bolt (J). Use a M6 washer (H) and an M6 lock nut (I) to complete the assembly as shown in Figure-4. The M6 bolt is tightened using a 5mm Allen Wrench while a standard adjustable wrench holds the nut steady.

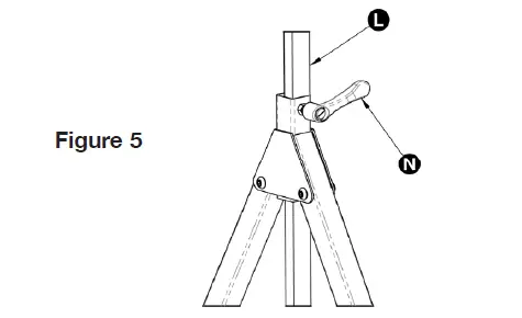
- Insert the Extension Arm (L) into the center hinge.
- Fasten the Height Adjustment Handle (N) into the pre-drilled hole on the side of the hinge as shown in Figure-5.

- Spread the stand legs open and rest it on the ground. Attach the roller bracket (L) using two M6 x 35 bolts (F) and M6 lock nuts (I) as shown in Figure-6.

Operating Instructions
Setting up the Pedestal Roller Stand properly is the key to safe use. This Stand is designed to safely support the maximum weight at the maximum height setting. Do not overload the stand.
- Be sure the stand legs are fully opened and situated on a flat level surface.
- Ensure the stand height is set level to the bottom of the workpiece for stability.
- Be sure that the adjustable handle is fully tightened before using the stand.
- It is extremely dangerous to loosen the adjustable handle while the stand is supporting a load.
- Safe maintenance includes periodically checking all hardware for tightness prior to use.
Adjusting the 3-in-1 Roller Head (PM-5093 model only)
The PM-5093 features a handy 3-in-1 roller head that can be set in three different positions depending on the project and the shape of your workpiece. See Figure-8.
- Position-1: Flat surface up. Use this position if the workpiece needs to be supported but does not need to move, such as in a gluing or assembly process.

- Position-2: Large roller surface up. Use this position when your project requires the workpiece to move only in one direction, such as an infeed or outfeed support in a sawing process.

- Position-3: Ball bearing roller surface up. Use this position when the workpiece needs to move in more than one direction, such as aligning your piece under a drill press.

Portamate Customer Support
Should you encounter any problems, need replacement parts, or have any questions about your PM-5090 or PM-5093 Pedestal Roller, call 1-800-624-2027. For assistance via email, contact [email protected].
One Year Limited Warranty
Warrantor warrants to the original purchaser that the PortaMate PM5090/PM5093 will be free from defects in materials and workmanship under normal use and service for a period of one (1) year from the date of original purchase.
The obligation of this Warranty is limited to repair or replacement, at our option, of components which prove defective under normal use.
Any product or component claimed to be defective should be sent during Warranty period, postage prepaid to Affinity Tool Works, 1161 Rankin, Troy, MI 48083, Attn: Warranty Department, together with a copy of your original dated sales receipt. Call for authorization number before sending.
This warranty is in lieu of all other express warranties, obligations or liabilities. ANY IMPLIED WARRANTIES, OBLIGATIONS OR LIABILITIES, SHALL BE LIMITED IN DURATION TO THE ONE YEAR PERIOD OF THIS LIMITED WARRANTY. NO AGENT, REPRESENTATIVE, DEALER, OR EMPLOYEE OF THE COMPANY HAS THE AUTHORITY TO INCREASE OR ALTER THE OBLIGATIONS OF THIS WARRANTY.
This Warranty shall not apply to any product or component which in the opinion of the Warrantor has been modified or altered in any way, damaged as a result of an accident, misuse or abuse, or loss of parts. In no case shall the Warrantor be liable for any special or consequential damages, or any other costs or warranty, expressed or implied, whatsoever.
Customer Service Department • Service Clientèle • Departamento de Atención al Cliente
866-588-0395 • www.boratool.com
©2017 Bora Tool • 1161 Rankin, Troy, MI 48083


























