FMK-SW (Swing Gate) and
FMK-SL (Slide Gate)
Flex Mount Kit
Installation Instructions
Product Overview
The FMK Flex-Mount Bracket System is a set of mounting brackets designed exclusively for use with the M62FG Magnalock ® and the GL1 Gate Lock. Pre-formed post channels and plates of varying lengths make it easy to assemble a high-security gate lock mounting platform.
Product Components
Upon unpacking this product, an inventory should be made to ensure that all the required components and hardware have been included.
Along with these instructions, the kit should include the following items:
| Fastener | Quantity | Description |
![]() | 1 | 5/16”-18 x 1-1/4” Flathead Screw |
![]() | 6 | 1/4”-20 x 1/2” Hex Bolt |
![]() | 1 | 5/16”-18 Lock |
| 8 | 1/4”-20 Lock Nut | |
| 4 | 1/4”-20 x 1-3/4” Cap Screw | |
![]() | 2 | 1/4”-20 x 2-3/4” Hex Bolt |
![]() | 2 | 1/4”-20 x 4” Hex Bolt |
![]() | 6 | 1/4” Split Washer |
| 4 | 1/4”-20 x 3/4” Socket Head Cap Screw |
FMK-SW Swing Gate Kit 
FMK-SL Slide Gate Kit

Recommended Tools
NOTE: It is recommended that all brackets and hardware be welded after installation to ensure maximum security.
| Electric Drill | 3/16” Hex Wrench | Adjustable Wrench |
| 5/16”, 3/8” and 13/64” Drill Bits | 1/4”-20 Tap | 7/16” Socket Wrench |
| Hammer | Center Punch | Welder (Optional) |
Installing the FMK-SW on a Swinging Gate
Perform a Pre-Installation Survey
It is recommended that an initial physical survey and assessment be made of the actual area where the FMK-SW be installed to determine the optimal method of mounting prior to installation. The following should be considered:
- The physical strength of mounting areas: It is recommended that the structural integrity of mounting surfaces be strong enough to meet or exceed the holding force of the lock product (Maglock or GL1).
- Protection of the lock from external attack: The lock and the wiring must be protected to a reasonable degree from potential damage due to intruders or vandals.
- Convenience and accessibility of the area to be protected: The lock assembly should be installed in a location that will not hinder or create a potential safety hazard to authorized personnel routinely accessing the protected area.
Install Strike “U” Bracket #1 to Swinging Gate
Required Parts: Strike “U” Bracket #1 (Bracket #1)
Shims, as needed
Two (2) 1/4”-20 x 2 3/4” hex bolts (SG)
Two (2) 1/4”-20 lock nuts (SE)
- PLAN the installation prior to any drilling.
a. POSITION Bracket #1 on the swinging gate at a location suitable for lock height.
b. VERIFY that there are no obstructions on either the fence or gate posts at this height, and RE-POSITION if required. - Using Bracket #1 as a template, MARK the four (4) through-hole locations onto the post.
- REMOVE Bracket #1, CENTER PUNCH, and DRILL the 4 locations using a 5/16” bit.
- REINSTALL Bracket #1 with shims (if needed) and hardware.
Install Lock “U” Bracket #2 to Fence Post
Required Parts: Lock “U” Bracket #2 (Bracket #2)
Shims, as needed
Two (2) 1/4”-20 x 4” hex bolts (SH)
Two (2) 1/4”-20 lock nuts (SE)
- CLOSE the gate.
- ALIGN Bracket #2 on the fence post to match the height of Bracket #1.
- Using Bracket #2 as a template, MARK the 4 through-hole locations onto the post.
- REMOVE Bracket #2, CENTER PUNCH, and DRILL the 4 locations using a 5/16” bit.
- REINSTALL Bracket #2 with shims (if needed) and hardware.
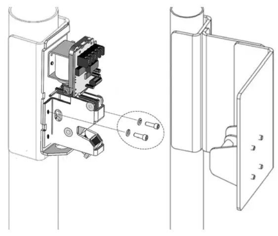
Install “L” Bracket #6 (Magnalock) or Bracket #7 (GL1)
Required Parts: “L” Bracket #6 or #7
Three (3) 1/4”-20 x 1/2” hex bolts (SC)
Three (3) 1/4” split washers (SJ)
NOTE: The following step allows for the lock and strikes to properly align regardless of the fence/gate poles’ distances.
- SELECT the proper set of vertical adjustment holes and INSTALL Bracket #6 or #7 onto Bracket #1.
Install “L” Bracket #5
Required Parts: “L” Bracket #5 (Bracket #5)
Three (3) 1/4”-20 x 1/2” hex bolts (SC)
Three (3) 1/4” split washers (SJ)
NOTE 1: Brackets can be adjusted in any manner necessary to ensure proper fit and alignment.
NOTE 2: Installing Bracket #5 onto Bracket #6 or #7 forms the “Z” Bracket.
- INSTALL Bracket #5 onto Bracket #6 or #7 to complete the “Z” bracket installation.
Installing Lock on a Swinging Gate
Install GL1 Lock on a Swinging Gate
Required Parts: Lock Chassis and strike assembly
Eight (8) 1/4” split washers (SJ) from GL1 hardware kit
Four (4) 1/4”-20 x 3/4” socket head cap screws (SK)
Four (4) 1/4”-20 x 1” socket head cap screws from
GL1 hardware pack
For proper gate and fence alignment on GL1 applications, MEASURE and ADJUST (if needed) the “Z” bracket to ensure its face is 4” from the face of Bracket #2 when the gate is closed.- ATTACH the GL1 lock chassis to Bracket #2 with the upper two bolts only (1/4”-20 x 3/4” socket head cap screws [SK]).

- PULL wire as needed to the lock body circuit board, and CONNECT appropriate wiring per the GL1 installation instructions.

- PERFORM a functional test of the GL1.
- CLOSE the gate.
- ALIGN the GL1 strike assembly onto Bracket #1 to match the position of the lock chassis, or USE the template to properly position the strike assembly.
- MARK the 4 through-hole locations onto Bracket #1.
- CENTER PUNCH and DRILL the holes using a 13/64” drill bit and 1/4”-20 tap.
- MOUNT the strike assembly onto Bracket #1 using the 4 washers and screws from the GL1 hardware pack.
- PERFORM the cylinder lock/cover hole plug installation, as required, per the GL1 installation instructions.
CAUTION:
The lock cover must be installed straight on to avoid possible damage to the PC Board. - INSTALL the lock cover over the lock chassis by placing the cover straight on and then sliding down to engage.

- SECURE the cover to the mounting surface using two 1/4”-20 x 3/4” socket head cap screws and two split lock washers.
- PLUG conduit fitting if not used, welding the plug for maximum security.
Install GL1 Lock on a Swinging Gate (Alternate Method)
Required Parts:
Lock Chassis and strike assembly
Eight (8) 1/4” split washers (SJ) from GL1 hardware kit
Four (4) 1/4”-20 x 3/4” socket head cap screws (SK)
Four (4) 1/4”-20 x 1” socket head cap screws
from GL1 hardware pack
NOTE: The following installation reverses the lock and strikes the traditional location, allowing for the lock to be mounted to the moving gate for ease of wiring the lock to a gate operator.
- Carefully POSITION and MARK the 4 lock mounting holes onto the “Z” bracket using the GL1 template or by using the lock chassis as a template.
- CENTER PUNCH and DRILL the 4 holes using a 13/64” drill bit and tap for 1/4”-20 machine screws.
- ATTACH the GL1 lock chassis to Bracket #2 with the upper 2 bolts only.
- PULL wire as needed to the lock body circuit board and CONNECT appropriate wiring per the GL1 installation instructions.

- PERFORM a functional test of the GL1.
CAUTION:
The lock cover must be installed straight on to avoid possible damage to the PC board. - INSTALL the lock cover over the lock chassis by placing the cover straight on and then sliding down to engage.

- SECURE the cover to the mounting surface using 2 socket head cap screws and 2 split lock washers.
- ENGAGE strike assembly into lock and CLOSE gate.
- Carefully CENTER strike with lock and MARK strike assembly location on the fence post bracket.
- CENTER PUNCH and DRILL the 4 holes with a 13/64” drill bit and TAP for 1/4”-20 machine screws.
- ATTACH strike assembly to the bracket using four 1/4”-20 x 3/4” socket head cap screws and four lock washers.
- CLOSE the gate and TEST the GL1 for proper mechanical and electrical operations.
- For high-security applications, WELD lock body, strike assembly, and all brackets in place.
Install Magnalock on a Swinging Gate
CAUTION:
The strike plate must not be welded directly to the gate, just mounted using the provided hardware, or the holding force and alignment will be affected.
- POSITION the lock template onto Bracket #2 and MARK the 4 corner holes for the Magnalock.
- CENTER PUNCH and DRILL the 4 corner holes using a 13/64” drill bit, and TAP for 1/4”-20 machine screws.
- INSTALL the Magnalock using the supplied hardware.
NOTE: The Magnalock can be energized in Step 4 to hold the strike for ease of alignment. - POSITION the strike to the lock, and ENSURE it is aligned properly with the lock.
- CLOSE the gate and “Z” Bracket until it touches the strike.
- MARK the outer edge outline of the strike.
- OPEN the gate and POSITION the strike template in the outlined area.
- MARK the mounting and roll pin locations, as needed.
- CENTER PUNCH and DRILL the appropriate hole using a 5/16” drill bit.

- INSTALL the strike using provided hardware.
Installing FMK-SL on a Sliding Gate
Perform a Pre-Installation Survey
It is recommended that an initial physical survey and assessment be made of the actual area where the FMK-SW be installed to determine the optimal method of mounting prior to installation. The following should be considered:
- The physical strength of mounting areas: It is recommended that the structural integrity of mounting surfaces be strong enough to meet or exceed the holding force of the lock product (Magnalock or GL1).
- Protection of the lock from external attack: The lock and the wiring must be protected to a reasonable degree from potential damage due to intruders or vandals.
- Convenience and accessibility of area to be protected: The lock assembly should be installed in a location that will not hinder or create a potential safety hazard to authorized personnel routinely accessing the protected area.
Install Strike “U” Bracket #2 to Fence Post
Required Parts:
Strike “U” Bracket #2 (Bracket #2) Shims, as needed
Two (2) 1/4”-20 x 4” hex bolts (SH)
Two (2) 1/4”-20 lock nuts (SE)
- PLAN the installation prior to any drilling.
a. POSITION the Bracket #2 on the swinging gate at a location suitable for lock height.
b. VERIFY that there are no obstructions on either the fence or gate posts at this height and RE-POSITION if required. - Using the bracket as a template, MARK the 4 through-hole locations onto the post.
- REMOVE the bracket and CENTER PUNCH and DRILL the 4 locations using a 5/16” drill bit.
- INSTALL Bracket #2 using supplied hardware.

Install Lock “L” Bracket #3 and GL1 Lock onto
Bracket #2
Required Parts:
Lock “L” Bracket #3 (Bracket #3)
Three (3) 1/4”-20 x 1/2” hex bolts (SC)
Three (3) 1/4”-20 lock washers (SJ)
- INSTALL and ADJUST Bracket #3 in any manner necessary to locate the lock as needed for proper gate closure.
- POSITION the lock template on Bracket #3 and MARK the 4 mounting holes for the GL1.
- CENTER PUNCH and DRILL the 4 mounting locations using a 13/64” drill bit, and TAP for 1/4”-20 machine screws.
- INSTALL the GL1 lock chassis using supplied hardware in the upper holes only.
- COMPLETE the installation of the GL1 lock following the installation guide included with the GL1.

Install Lock “L” Bracket #3 and Magnalock onto
Bracket #2
Required Parts: “L” Bracket #3
Three (3) 1/4”-20 x 1/2” hex bolts (SC)
Three (3) 1/4”-20 lock washers (SJ)
- POSITION the lock template on Bracket #3 and MARK only the 4 corner holes for the Magnalock.
- CENTER PUNCH and DRILL the 4 corner holes using a 13/64” drill bit, and TAP for 1/4”-20 machine screws.
- INSTALL the Magnalock using supplied hardware.
- COMPLETE the installation of the Magnalock following the installation guide included with the Magnalock.

Install Strike “U” Bracket #1 to Gate Post
Required Parts: “U” Bracket #1
Shims, as needed
Two (2) 1/4”-20 x 2 ¾” hex bolts (SG)
Two (2) 1/4”-20 lock nuts (SE)
- CLOSE the gate, ALIGN Bracket #1, and, using it as a template, MARK the 4 through-hole locations onto the post.
- REMOVE the bracket, CENTER PUNCH, and DRILL the four locations using a 5/16” drill bit.
- REINSTALL Bracket #1 with shims (if needed) and hardware.

Install Strike “L” Bracket #4 and Strike
Required Parts: Strike “L” Bracket #4 (Bracket #4)
Three (3) 1/4”-20 x 1/2” hex bolts (SC)
Three (3) 1/4”-20 lock washers (SJ)
GL1 Strike
Magnalock Strike
- INSTALL and ADJUST Bracket #4 in any manner necessary to locate the strike, as needed, for proper gate closure.
NOTE: The Magnalock can be energized to hold the strike or the GL1 strike can be inserted into the latch for ease of alignment. - POSITION the strike to the lock, and ENSURE it is aligned properly with the lock.
- CLOSE the gate and “Z” bracket until it touches the strike.
- MARK the outer edge outline of the strike.
- OPEN the gate and POSITION the strike template in the outlined area.
- MARK the mounting and roll pin locations, as needed.
- CENTER PUNCH and DRILL appropriate holes (13/64” drill bit and 1/4”-20 tap for GL1 strike; or 5/16” drill bit for Magnalock strike center hole and roll pins).
- ATTACH the strikes as shown in the figures to the right.

Security
10027 S. 51st St., Ste. 102
Phoenix, AZ 85044
Tel: 1-800-624-5625
Mon–Fri: 6:00am – 4:00pm PDT
Fax: 1-800-232-7329
500-22190, Rev E
ASSA ABLOY, the global leader in door-opening solutions
ASSA ABLOY, the global leader in door-opening solutions
500-22190, Rev E
securitron.com
© 2014, Hanchett Entry Systems, Inc., an ASSA ABLOY Group Company.






For proper gate and fence alignment on GL1 applications, MEASURE and ADJUST (if needed) the “Z” bracket to ensure its face is 4” from the face of Bracket #2 when the gate is closed.




NOTE: The Magnalock can be energized in Step 4 to hold the strike for ease of alignment.




NOTE: The Magnalock can be energized to hold the strike or the GL1 strike can be inserted into the latch for ease of alignment.



















