CROWN ROYAL Nemo Pendant Light
Box contents



Installation
- BOX1
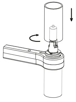
upper lamp


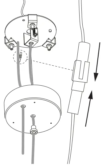
- Metal Wires connections


- Canopy installation

- Electring wiring

- Ground canopy wiring

Bulbs installation
- Glass diffuser installation

CAUTION
Symbols and guarantee of the fixture are described in the enclosed sheet. / Disconnect power before proceeding with the installation of the fixture. / In the absence of the IP symbol, fixture is only for indoor installation. / Use only bulbs of suitable type and power specified in the label. / Safety is guaranteed only if installation is carried out by a qualified electrician. / Products with anodized finishes could show different color shades due to the industrial galvanic process. Shades have to be considered as aesthetic elements of the product. / Polishing process is hand-made. Shades are therefore due to this manual process. / Dimensions of products made with deformations of extrusions could be subject to changes of ±1cm. / As blown glass is produced by traditional craft techniques, its thickness, color and finish are subject to variations, a feature that makes each piece unique. /
Do not install fixture in ambiences with presence of chlorine, salt air or aggressive agents, if not expressly mentioned. / The color temperature (CCT) of LED sources can be different from the declared nominal value between a range of ±5%. / NEMO reserves the right to make any technical or formal alterations to its products without giving prior notice, especially for LED sources. / We recommend you to keep instructions for further consultations. /
Disposal
This lamp has been manufactured in conformity with EU Directive 2002/96/EC. The crossed-out wheelie bin symbol marked on the appliance means that it was put on the market after 13th August 2005 and that it must therefore be disposed of separately from household waste. Separate disposal of this product prevents any negative effects to public health and the environment deriving from unsuitable disposal and allows the materials it is made of to be recovered to achieve considerable savings of power and resources. The end user is responsible for delivering the appliance, at the end of its working life, to a suitable collection facility. Failure to do so will be punished according to the current national legislation. For detailed information on collection systems and methods, please contact the relative office in your town, the local waste disposal service or the shop where you purchased the product.
LED, 2×60 G9 BULBS, 110-240V
dimmable (depending on bulb installed)

INSTRUCTIONS FOR LAMP CLEANING
To clean the lamp, use only a soft cloth.
Customer Service
Viale Brianza, 30 – 20823 Lentate sul Seveso (MB) ITALY
Tel +39 0362 166 05 00 – Fax +39 0362 372 996
[email protected] – nemolighting.com
NEMO Srl
Copyright © 2021 NEMO Srl Milano, Italia.
The text and images are protected by copyright.
Unauthorized reproduction.





























