Paul Neuhaus 15025 Pendant Light Instruction Manual
Specification
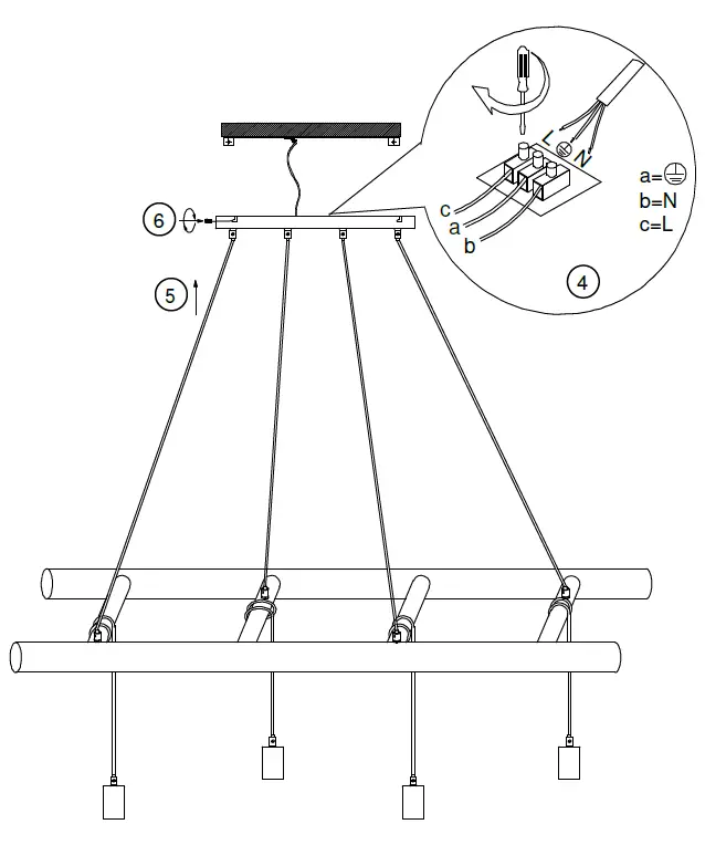
Installation
Download manual
Here you can download full pdf version of manual, it may contain additional safety instructions, warranty information, FCC rules, etc.
To access the pdf donwload links, solve the captcha.
























