Paul Neuhaus 3081 Pendant Light

WHAT IS INCLUDE

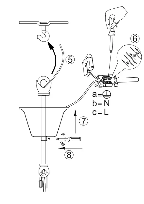
INSTALLATION





Paul Neuhaus GmbH
Olakenweg 36 • D-59457 Werl
9721 9290
[email protected]
www.paul-neuhaus.de








Paul Neuhaus GmbH
Olakenweg 36 • D-59457 Werl
9721 9290
[email protected]
www.paul-neuhaus.de
Download manual
Here you can download full pdf version of manual, it may contain additional safety instructions, warranty information, FCC rules, etc.