USER MANUAL
Vaccum extractor
ZI-ASA550E
EAN: 9120039233611![]()
Edition: 02.10.2018 – Revision – 00 – RaR –
SAFETY SIGNS
![]() | EC-CONFORM – This product complies with the EC directives. |
| READ THE MANUAL! Read the user and maintenance manual carefully and get familiar with the controls in order to use the machine correctly and avoid injuries and machine defects. | |
| ATTENTION! Ignoring the safety signs and warnings applied on the machine as well as ignoring the security and operating instructions can cause serious injuries and even lead to death. | |
| General note | |
| Protective clothing! | |
| Stop and pull out the power plug before any break and engine maintenance! | |
| Warning of rotating parts! | |
| High voltage! | |
| Protect from moisture! | |
| Highly flammable! | |
| Burn hazard! |
| Hand injuries because of belt drive! |
ILLUSTRATION ASSEMBLY


TECHNIC
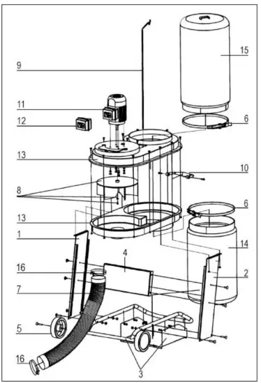
4.1 components
Illustration
| 8. Dustbag 9. Quick clamp device for PVC debris collector bag 10. Quick clamp device for dust bag 11. Holding device for dust bag 12. Wheels 13. Transportation handle 14. Adapter |
4.2 Delivery content
Name | Qty |
| Pre-assembled device unit | 1 |
| Extraction Hose | 1 |
| Wheels | 2 |
| dustbag | 1 |
| Sawdust collecting bag | 5 |
| Side panel | 1+1 |
| Transverse joint | 1 |
| Base frame | 1 |
| Quick-release fasteners | 2 |
| Bag suspension | 1 |
| Screw bag | 1 |
| Instruction manual | 1 |
| Adapter ø100-ø70; ø70-ø45; ø45-ø40; ø40-ø35 | 1+1+1+1 |
4.3 Technical data
| Voltage | 230 V/50 Hz |
| Motor power S1 (100%) / S6 (40%) | 550W S1 /825W S6 |
| Speed | 2900 min -1 |
| Collector power | 1150 m³/h |
| Filter surface size | ~1,0m² |
| Vacuum | 700 Pa |
| Filling capacity debris collector bag | 65 l |
| Dust collector plug | Ø100 mm |
| Machine dimension | 1560x820x530 mm |
| gross Weight | 20.4 kg 18.5kg |
| Sound pressure level LPA | 75 dB (A) k: 3 dB (A) |
| Sound power level LWA | 95 dB (A) k:3 dB (A) |
PREFACE
Dear Customer!
This manual contains important information and advice for the correct and safe use and maintenance of the dust collector ZI-ASA550E.
Following the usual commercial name of the device (see cover) is substituted in this manual with the name “machine”.
The manual is part of the machine and may not be stored separately. Read it profoundly before the first use of the machine and keep it for later reference. When the machine is handed to other persons always put the manual to the machine.
Please follow the security instructions!
Please read the entire manual, to prevent misunderstandings, machine damage or even injuries!
Due to the continuous development of our products illustrations, pictures might differ slightly.
If you however find errors in this manual, please inform us.
Technical changes excepted!
Copyright law
© 2018
This manual is protected by copyright law – all rights reserved. Especially the reprinting as well as the translation and depiction of pictures will be prosecuted by law. The Court of jurisdiction is the Landesgericht Linz or the competent court for 4707 Schlüsslberg, AUSTRIA.
Customer Support
ZIPPER MASCHINEN GmbH
Gewerbepark 8, 4707 Schlüsslberg AUSTRIA
Tel.: +43 7248 61116-700
Fax: +43 7248 61116–720
Mail: [email protected]
SAFETY
12.1 Intended Use
The machine must only be used for its intended purpose! Any other use is deemed to be a case of misuse.
To use the machine properly you must also observe and follow all safety regulations, the assembly instructions, operating and maintenance instructions lay down in this manual.
All people who use and service the machine have to be acquainted with this manual and must be informed about the machine’s potential hazards.
It is also imperative to observe the accident prevention regulations in force in your area.
The same applies to the general rules of occupational health and safety.
The machine is used for:
Extract wood dust, wood, and plastic chips.
Any manipulation of the machine or its parts is a misuse, in this case, ZIPPER-MASCHINEN and its sales partners cannot be made liable for ANY direct or indirect damage.
Even when the machine is used as prescribed it is still impossible to eliminate certain residual risk factors.
WARNING
- Inflammable gases (e.g. paint or varnish mist) must not be extracted.
- Polyethylene dust bags must be a minimum thickness of 0,2mm!
- When using bags made of other materials the mechanical strength must be the same!
- Refer to the user manual of the connected woodworking machine!
Ambient conditions
The machine may be operated:
| humidity | max. 70% |
| temperature | +5°С to +40°С (+41°F to +104°F) |
The machine shall not be operated outdoors or in wet or damp areas.
The machine shall not be operated in areas exposed to increased fire or explosion hazards.
Prohibited use
- The operation of the machine outside the stated technical limits described in this manual is forbidden.
- The use of the machine not according to the required dimensions is forbidden.
- The use of the machine not being suitable for the use of the machine and not being certified is forbidden.
- Any manipulation of the machine and parts is forbidden.
- The use of the machine for any purposes other than described in this user manual is forbidden.
- The unattended operation of the machine during the working process is forbidden!
- It is not allowed to leave the immediate work area during the work is being performed.
12.2 Security instructions
Missing or non-readable security stickers have to be replaced immediately!
The locally applicable laws and regulations may specify the minimum age of the operator and limit the use of this machine!
To avoid malfunction, machine defects, and injuries, read the following security instructions!
| |
| |
| |
| |
| |
| |
| |
| |
|
12.3 Remaining risk factors
Despite of correct and proper use and maintenance there remain some residual risk factors:
- Hazard of injury or machine damage due to undetected machine defect
To minimize this risk, check the machine prior to every operation for loose screws and connections. Check the motor noise, the collector tubes, filter bag, dust collector bag, and impeller for eventual damage. Damaged parts have to be replaced immediately, no operation of the machine in the meantime! - Hazard of electric shock
Undetected malfunctions in the power supply and/or the connected woodworking machine might result in electric shock when touching the machine. Ensure proper electric installation, and let it check periodically by a trained electrician. - Danger due to unintended machine start-up
Eliminate this risk by disconnecting the machine before you perform any checks or activities on the machine. - Hazard of inhaling toxic wood dust
Especially wood dust arising from chemically treated wood and/or lacquer/paint is harmful when inhaled. Therefore let the dust settle for 10 Minutes before you change the dust collector bag and wear a suitable breathing mask if required.
ASSEMBLY
13.1 Delivery content
Please check the product contents immediately after receipt for any eventual transport damage or missing parts. Claims from transport damage or missing parts must be placed
immediately after initial machine receipt and unpacking before putting the machine into operation. Please understand that later claims cannot be accepted anymore.
13.2 Workplace requirements
The workplace has to fulfill the requirements. The ground has to be even, in level, and hard. It must be suitable at least to weight it with double weight per square meter than the machine’s net weight. The chosen workplace must have access to a suitable electric supply net that complies with the requirements of the machine.
13.3 Power supply
AT TEN TI ON
When working with non-grounded machines:
Severe injury or even death may arise through electrocution!
Therefore: The machine must be operated at a grounded power socket
The connection of the machine to the electric power supply and the following checks have to be carried out by a respectively trained electrician only.
- The electronic connection of the machine is designated for operation with a grounded power socket!
- The connector plug may not be manipulated.
- The mains supply must be secured with 10A:
- If the connector plug doesn’t fit or if it is defective, only qualified electricians may modify or renew it!
- The grounding wire should be held in green-yellow.
- A damaged cable has to be exchanged immediately!
- Make sure that a possible extension cord is in good condition and suitable for the transmission of power. An undersized cord reduces the transmission of power and heats up.
- A damaged cable must be replaced immediately
| NOTICE | ||
| Operation is only allowed with a safety switch against stray current (RCD max. stray current of 30mA) |
| NOTICE | ||
| Use only permitted extension cable with cross-section the one in the following table declared. |
| Voltage | Extension | Cross-section |
| 220 V-240 V 50 Hz | <27 m | 1,5 mm2 |
| <44 m | 2,5 mm2 | |
| <70 m | 4,0 mm2 | |
| <105 m | 6,0 mm2 |
13.4 Assembly (Fig. 1-11)
Important! Pull out the power plug before carrying out any maintenance, resetting or assembly work on the vacuum extraction system!
- Fig1.: Screw-on both side parts (1+2). For each side part, you require 2 cup square screws M8x40 2 combi nuts M8
- Fig2.: Screw on the transverse joint (4) For the connection you require: 4 cup square screws M8x10, 4 combi nuts M8
- Fig3.: Put the pre-assembled device unit on the side parts.
- Fig4.: Fix first one side with each 2 round-head screws M5x16 and hexagon nut M5. Now fix the other side. Then, fasten the four screw connections.
- Fig5.: Put on the extraction hose (7). Fasten the extraction hose by refastening the screw on the hose clip (17) a few revolutions.
- Fig6.: Put on the sawdust collection bag (14)
- Fig7.: Fasten the sawdust collection bag by attaching the quick release fastener (6).
- Fig8.: Hang in the bag suspension (9).
- Fig9.: Put on the filter bag (15)
- Fig10.: Fasten the filter bag by attaching the quick release fastener (6).
- Fig11.: Hang in the filter bag.
OPERATION
Device to be operated in a perfect state only. Inspect the device visually every time it is to be used. Check-in particular the safety equipment, electrical controls, electric cables, and screwed connection for damage and if tightened properly. Replace any damaged parts before operating the device.
14.1 Operation instructions
| WARNING | ||
| Perform all machine settings with the machine being disconnected from the power supply! |
| CHIN WEI S | ||
|
14.2 Connection of dust collector to machine
Dust collector plug: Ø 100mm
Ensure dust collector tubes are composed of hardly inflammable material and antistatic. The total distance between the dust collector hood and machine dust collector hood shall not exceed 10 meters.
14.3 Switch unit
On-off-switch:
Press green button (I): turn on
Press red button (0): turn off

14.4 Switching on
- Check that extractor hose (6) is attached firmly to the adapter of both vacuum extractor and woodworking machine.
- Check if dust collecting bags (7/8) are tightened well.
- Start the dust collector by pressing the green button “I”.
- Now you can start the woodworking machine.
14.5 Switching off
- Switch off the woodworking machine
- Switch off the woodworking machine by pressing the red button,,0″ or by pressing the Emergency button (17).
14.6 Emptying the debris bags
The debris collector bag (7) shall be controlled on a regular basis and emptied if necessary.
Empty bags when they are approximately 2/3 full.
- Attention: Disconnect from the power supply!
- Shake the dust bag. Let the dust settle down for 5 minutes.
- Grap collector bag with the left hand.
- Release the quick-clamp (9)
- Take the bag and dispose of the content meeting environmental standards.
- Fix the empty bag onto the holding device and fix it with the quick clamp (9).
MAINTENANCE
| ATTENTION | |
| Don’t clean or do maintenance on the machine while it is still connected to the power supply: Damages to machines and injuries might occur due to unintended switching on the machine! Therefore: Switch the machine off and disconnect it from the power supply before any maintenance works or cleaning is carried out |
The machine does not require extensive maintenance. If malfunctions and defects occur, let it be serviced by trained persons only.
Before the first operation as well as later on every 100 operation hours you should lubricate all connecting parts (if required, remove beforehand with a brush all swarfs and dust).
Check regularly the condition of the security stickers. Replace them if required. Check regularly the condition of the machine. The good condition and perfect adjustment of the guiding rollers is essential for smooth band guidance and a clean cut. Store the machine in a closed, dry location.
NOTICE
Clean your machine regularly after every usage – it prolongs the lifespan of the machine and is a prerequisite for a safe working environment. Repair jobs shall be performed by respectively trained professionals only!
15.1 Maintenance plan
- Clean regularly the filter bag to ensure its filter capacity.
- You should check the dust collector hood regularly for deposits that cumulate especially on the protective fence and clean if necessary. Failure to do so will result in lower suction capacity and motor overload.
- Do not dismount the protective fence, it is a security component.
15.1.1 Change of dust collector bag
Empty dust collector bags when they are 60-70% full. Switch the dust collector off and let the dust settle at least for 10 minutes. Disconnect the dust collector from the power supply. Do not use a dust collector bag twice. Use solely certified dust collector bags, which match the technical specifications, especially Ø and height, of the dust collector
15.2 Cleaning
After each work shift, the machine has to be cleaned. Remove chips etc. with a suitable tool. Do not remove them by hand (cutting injury!). Remove dust as well.
NOTIS
The usage of certain solutions containing ingredients damaging metal surfaces, as well as the use of scrubbing agents, will damage the machine surface!
Clean the machine surface with a wet cloth soaked in a mild solution
15.3 Disposal
Do not dispose of the machine in residual waste. Contact your local authorities for information regarding the available disposal options. When you buy at your local dealer for a replacement unit, the latter is obliged to exchange your old one.
TROUBLESHOOTING
BEFORE YOU START WORKING FOR THE ELIMINATING OF DEFECTS, DISCONNECT THE MACHINE FROM THE POWER SUPPLY.
| Trouble | Possible cause | Solution |
| The magnetic support has no magnetic force | •Switch defective | •Repair switch |
| •Power supply is off | •Repair power supply | |
| •Fuse is defective | •Change fuse | |
| •Electric contactor is defective | •Repair or change electric contactor | |
| Dust emerges from | •Leaking or blocked connections | •Check connection •Remove blockages |
| •Dust bag or filter bag is defective or incorrectly installed | •Check bags •Change defective bags | |
| Loud noise in the fan wheel housing | •Extracting of a big part | •Switch the machine, disconnect the machine and remove the part |
| •Loosen fan wheel | •lighten the fan wheel |
MANY POTENTIAL SOURCES OF ERROR CAN BE CLEARED BY THE EXPERTLY CONNECTION TO THE ELECTRICITY GRID.
NOTICE
Should you in necessary repairs not able to properly to perform or you have not the prescribed training for it always attract a workshop to fix the problem.
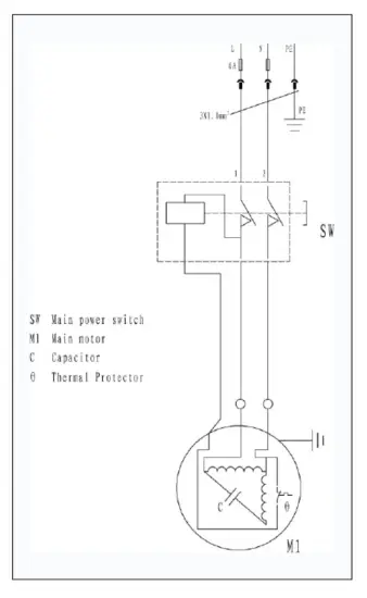
WIRING DIAGRAM

SPARE PARTS
With original ZIPPER spare parts, you use parts that are attuned to each other shortening the installation time and elongating the lifespan of your machine.
IMPORTANT
The installation of other than original spare parts voids the warranty! So you always have to use original spare parts
When you place a spare parts order please use the service formula you can find in the last chapter of this manual. Always take a note of the machine type, spare parts number, and part name. We recommend copying the spare parts diagram and marking the spare part you need.
You find the order address in the preface of this operation manual.

| Pos. | Description |
| 1 | Side part – left |
| 2 | Side part – right |
| 3 | Base frame with wheels and bottom plate |
| 4 | Transverse joint |
| 5 | Wheel |
| 6 | Quick-release fastener for filter or saw dust bag |
| 7 | Extraction Hose |
| 8 | Fan wheel with fastening |
| 9 | Bag suspension |
| 10 | Handhold |
| 11 | Motor with switch |
| 12 | Switch |
| 13 | Synthetic cabinet kpl. |
| 14 | Sawdust collecting bag |
| 15 | Filter bag |
| 16 | Hose clip |
WARRANTY GUIDELINES
- Warranty:
Company ZIPPER Maschinen GmbH grants mechanical and electrical components a warranty period of 2 years for amateur use; and a warranty period of 1 year for professional use, starting with the purchase of the final consumer. In case of defects during this period, which are not excluded by paragraph 3, ZIPPER will repair or replace the machine at its own discretion. - Report:
In order to check the legitimacy of warranty claims, the final consumer must contact his dealer. The dealer has to report in written form the occurred defect to ZIPPER. If the warranty claim is legitimate, ZIPPER will pick up the defective machine from the dealer. Returned shipping by dealers which have not been coordinated with ZIPPER, will not be accepted and refused. - Regulations:
a) Warranty claims will only be accepted, when a copy of the original invoice or cash voucher from the trading partner of ZIPPER is enclosed to the machine. The warranty claim expires if the accessories belonging to the machine are missing.
b) The warranty does not include free checking, maintenance, inspection or service works on the machine. Defects due to incorrect usage of the final consumer or his dealer will not be accepted as warranty claims either. Some examples: usage of wrong fuel, frost damage in water tanks, leaving fuel in the tank during the winter, etc.
c) Defects on wear parts are excluded, e.g. carbon brushes, collection bags, knives, cylinders, cutting blades, clutches, sealings, wheels, saw blades, splitting crosses, riving knives, riving knife extensions, hydraulic oils, oil/air/fuel filters, chains, spark plugs, sliding blocks, etc.
d) Also excluded are damages on the machine caused by incorrect or inappropriate usage, if it was used for a purpose which the machine is not supposed to, ignoring the user manual, force majeure, repairs or technical manipulations by not authorized workshops or by the customer himself, usage of non-original ZIPPER spare parts or accessories.
e) After inspection by our qualified personnel, resulted in costs (like freight charges) and expenses for not legitimated warranty claims will be charged to the final customer or dealer.
f) In case of defective machines outside the warranty period, we will only repair them after advance payment or dealer’s invoice according to the cost estimate (incl. freight costs) of ZIPPER.
g) Warranty claims can only be granted for customers of an authorized ZIPPER dealer who directly purchased the machine from ZIPPER. These claims are not transferable in the case of multiple sales of the machine. - Claims for compensation and other liabilities:
The liability of company ZIPPER is limited to the value of goods in all cases. Claims for compensation because of poor performance, lack, damages or loss of earnings due to defects during the warranty period will not be accepted. ZIPPER insists on its right to the subsequent improvement of the machine.
Product experience form
We observe the quality of our delivered products in the frame of a Quality Management policy. Your opinion is essential for further product development and product choice. Please let us know about your:
- Impressions and suggestions for improvement.
- experiences that may be useful for other users and for product design
- Experiences with malfunctions that occur in specific operation modes
We would like to ask you to note down your experiences and observations and send them to us via FAX, E-Mail or by post:
My experiences:
| name : product : purchase date : purchased from : e-mail: Thank you for your kind cooperation! |
| CONTACT: Z.I.P.P.E.R MASCHINEN GmbH 4707 Schlüsslberg, Gewerbepark 8 AUSTRIA Tel :+43 7248 61116 700 Fax:+43 7248 61116 720 |
SERVICE FORM
Please tick one box from below:
service inquiry
spare part inquiry
guarantee claim
1. senders information (* required)
- first name, family name………………………..
- street, house number……………………..
- ZIP code, place……………………………….
- country………………………………….
- (mobile) phone……………………..
- International numbers with country code…………………………………
- E-Mail………………………………….
- Fax……………………………………..
2. tool information
!serial number:……………………………..
‘machine type:…………………………………….
2.1 required spare parts
| Part No° | description | number |
problem description
Please describe amongst others the problem: What has caused the problem/defect, what was the last activity before you noticed the problem/defect? For electrical problems: Have you had checked your electric supply and the machine already by a certified electrician?
Additional information
INCOMPLETELY FILLED SERVICE FORMS CAN NOT BE PROCESSED! FOR GUARANTEE CLAIMS PLEASE ADD A COPY OF YOUR ORIGINAL SALES! DELIVERY RECEIPT OTHERWISE IT CAN NOT BE ACCEPTED. FOR SPARE PART ORDERS PLEASE ADD TO THIS SERVICE FORM A COPY OF THE
ZIPPER MASCHINEN GmbH
Gewerbepark 8
4707 SchlUsslberg I AUSTRIA
+43 (0) 7248 61116-700 I FAX 7248 61116-720
[email protected] I www.zipper-maschinen.at
















