PCE Instruments PCE-DOM Series Oxygen Meter User Manual
Safety notes
Please read this manual carefully and completely before you use the device for the first time. The device may only be used by qualified personnel and repaired by PCE Instruments personnel.
Damage or injuries caused by non-observance of the manual are excluded from our liability and not covered by our warranty.
- The device must only be used as described in this instruction manual. If used otherwise, this can cause dangerous situations for the user and damage to the meter.
- The instrument may only be used if the environmental conditions (temperature, relative humidity, …) are within the ranges stated in the technical specifications. Do not expose the device to extreme temperatures, direct sunlight, extreme humidity or moisture.
- Do not expose the device to shocks or strong vibrations.
The case should only be opened by qualified PCE Instruments personnel. - Never use the instrument when your hands are wet.
- You must not make any technical changes to the device.
- The appliance should only be cleaned with a damp cloth. Use only pH neutral cleaner, no abrasives or solvents.
- The device must only be used with accessories from PCE Instruments or equivalent.
- Before each use, inspect the case for visible damage. If any damage is visible, do not use the device.
- Do not use the instrument in explosive atmospheres.
- The measurement range as stated in the specifications must not be exceeded under any circumstances.
- Non-observance of the safety notes can cause damage to the device and injuries to the user.
We do not assume liability for printing errors or any other mistakes in this manual.
We expressly point to our general guarantee terms which can be found in our general terms of business.
If you have any questions please contact PCE Instruments. The contact details can be found at the end of this manual.
Device description
Technical specifications
| Measurement function | Measurement range | Resolution | Accuracy |
| Oxygen in liquids | 0 … 20 mg/L | 0.1 mg/L | ± 0.4 mg/L |
| Oxygen in the air (reference measurement) | 0 … 100 % | 0.1 % | ± 0.7 % |
| Temperature | 0 … 50 °C | 0.1 °C | ± 0.8 °C |
| Further specifications | |||
| Cable length (PCE-DOM 20) | 4 m | ||
| Temperature units | °C / °F | ||
| Display | LC display 29 x 28 mm | ||
| Temperature compensation | automatically | ||
| Memory | MIN, MAX | ||
| Automatic power-off | after about 15 minutes | ||
| Operating conditions | 0 … 50°C, <80 % RH. | ||
| Power supply | 4 x 1.5 V AAA batteries | ||
| Power consumption | approx. 6.2 mA | ||
| Dimensions | 180 x 40 x 40 mm (handheld unit without sensor) | ||
| Weight | approx. 176 g (PCE-DOM 10) approx. 390 g (PCE-DOM 20) | ||
Spare parts PCE-DOM 10
Sensor: OXPB-19
Diaphragm: OXHD-04
Spare parts PCE-DOM 20
Sensor: OXPB-11
Diaphragm: OXHD-04
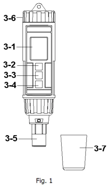
Front side
PCE-DOM 10 
- 3-1 Display
- 3-2 On / Off key
- 3-3 HOLD key
- 3-4 REC key
- 3-5 Sensor with diaphragm
- 3-6 Battery compartment
- 3-7 Protection cap
PCE-DOM 20 
- 3-1 Display
- 3-2 On / Off key
- 3-3 HOLD key
- 3-4 REC key
- 3-5 Sensor with diaphragm
- 3-6 Battery compartment
- 3-7 Sensor connection
- 3-8 Sensor plug
- 3-9 Protection cap
Attention: The sensor of the PCE-DOM 20 is covered with a red protective cap which must be removed before measurement!
Operating instructions
When using the meter for the first time, the sensor of the oxygen meter must be filled with electrolyte solution OXEL-03 and then calibrated.
Changing units
To change the oxygen unit, press and hold the ”HOLD“ key for at least 3 seconds. You can select “mg/L“ or “%“.
To change the temperature unit, press and hold the “REC“ key for at least 3 seconds. You can select °C or °F.
Calibration
Before the measurement, the PCE-DOM 10/20 must be calibrated in fresh air. First remove the grey protective cap from the sensor. Then switch on the test instrument using the on/off key. The display then shows a measured value and the current temperature:
The upper, large display shows the current measured value. Wait approx. 3 minutes until the display has stabilised and the measured value no longer fluctuates.
Now press the HOLD key so that the display shows Hold. Then press the REC key. CAL will flash in the display and a countdown will start counting down from 30.
As soon as the countdown is finished, the oxygen meter returns to normal measuring mode and the calibration is finished.
The oxygen meter should now display a measured value between 20.8 … 20.9 % O2 in fresh air.
Hint: Calibration works best when performed outdoors and in fresh air. If this is not possible, the meter can also be calibrated in a very well ventilated room.
Measurement of dissolved oxygen in liquids
After the calibration has been carried out as described in chapter 3.2, the oxygen meter can be used to measure dissolved oxygen in liquids.
Press the UNIT key for three seconds to change the unit from %O2 to mg/l.
Now place the sensor head in the liquid to be measured and carefully move the meter (sensor head) slightly back and forth within the liquid. The measurement result can be read from the display after a few minutes.
Hint: In order to obtain a quick and exact measuring result, the meter must be moved within the liquid at a speed of approx. 0.2 … 0.3 m/s. In laboratory tests, it is recommended to stir the liquid in a beaker with a magnetic stirrer (e. g. PCE-MSR 350).
After the measurement is completed, the electrode can be rinsed with tap water and the protective cap can be placed on the sensor.
Measurement of atmospheric oxygen
After calibration, the oxygen meter can also be used to measure the atmospheric oxygen content.
To do this, set the unit to O2%.
Note: This measurement function gives only an indicative measurement.
Temperature measurement
During the measurement, the oxygen meter displays the current medium temperature.
To change the unit, press the REC button for at least 2 seconds to toggle the unit between °C and °F.
Note: This function is not available when the oxygen meter is in memory mode.
Freezing data in the display
If you press the HOLD key during the measurement, the current display is frozen. The hold icon then appears in the display.
Save measured data (MIN HOLD, MAX HOLD)
This function ensures that after activating this function, the minimum and maximum measured values are saved in the display.
Save maximum value
Press and release the REC key. Then the REC icon appears in the display. When you press the REC key again, the display shows REC MAX and as soon as the measured value exceeds the maximum value, the maximum value is updated. If you press the HOLD key, the MAX Hold function is terminated. Only REC appears in the display.
Save minimum value
If the memory function was activated via the REC key, you can display the minimum measured value on the display by pressing the REC key again. The display will then also show REC MIN.
Pressing the HOLD key terminates the function and the REC icon appears in the display.
Terminate memory mode
When the REC icon appears in the display, this function can be cancelled by pressing the REC key for at least two seconds. The oxygen meter then returns to normal measuring mode.
Maintenance
First use
When using the oxygen meter for the first time, the sensor must be filled with electrolyte solution OXEL-03 and then calibrated.
Maintenance of the sensor
If the meter can no longer be calibrated or the reading does not appear stable on the display, the following points should be considered.
Testing the electrolyte
Check the condition of the electrolyte in the sensor head. If the electrolyte is dry or dirty, the head should be cleaned with tap water. Then fill the black cap with new electrolyte (OXEL-03) as described in chapter Fehler! Verweisquelle konnte nicht gefunden werden..
Maintenance of the diaphragm
The Teflon diaphragm is capable of allowing oxygen molecules to pass through it, this is how the oxygen meter can measure oxygen. However, larger molecules cause the membrane to clog. For this reason, the diaphragm should be replaced if the meter cannot be calibrated despite a new electrolyte. The diaphragm should also be replaced if it has been damaged by an impact.
The procedure for changing the diaphragm is similar to that for refilling the electrolyte.
Remove the black cap with the diaphragm from the sensor head. Clean the sensor with tap water.
Fill new electrolyte fluid into the new cap with the diaphragm (OXHD-04). Then screw the black cap back onto the sensor and finally perform the calibration as described in chapter 3.2.
Battery replacement
When the display shows this icon
, the batteries must be replaced to ensure proper operation of the oxygen meter. To do this, open the battery compartment cover of the meter and remove the old batteries. Then insert new 1.5 V AAA batteries into the meter. Make sure that the polarity is correct. After the new batteries have been inserted, close the battery compartment.
Warranty
You can read our warranty terms in our General Business Terms which you can find here: https://www.pce-instruments.com/english/terms.
Disposal
For the disposal of batteries in the EU, the 2006/66/EC directive of the European Parliament applies. Due to the contained pollutants, batteries must not be disposed of as household waste. They must be given to collection points designed for that purpose.
In order to comply with the EU directive 2012/19/EU we take our devices back.
We either re-use them or give them to a recycling company which disposes of the devices in line with law.
For countries outside the EU, batteries and devices should be disposed of in accordance with your local waste regulations.
If you have any questions, please contact PCE Instruments.

PCE Instruments contact information
Germany
PCE Deutschland GmbH
Im Langel 26
D-59872 Meschede
Deutschland
Tel.: +49 (0) 2903 976 99 0
Fax: +49 (0) 2903 976 99 29
[email protected]
www.pce-instruments.com/deutsch
United Kingdom
PCE Instruments UK Ltd
Unit 11 Southpoint Business Park
Ensign Way, Southampton
Hampshire
United Kingdom, SO31 4RF
Tel: +44 (0) 2380 98703 0
Fax: +44 (0) 2380 98703 9
[email protected]
www.pce-instruments.com/english
The Netherlands
PCE Brookhuis B.V. Institutenweg 15
7521 PH Enschede Nederland
Telefoon: +31 (0)53 737 01 92
[email protected]
www.pce-instruments.com/dutch
France
PCE Instruments France EURL
23, rue de Strasbourg
67250 Soultz-Sous-Forets
France
Téléphone: +33 (0) 972 3537 17
Numéro de fax: +33 (0) 972 3537 18
[email protected]
www.pce-instruments.com/french
Italy
PCE Italia s.r.l.
Via Pesciatina 878 / B-Interno 6
55010 Loc. Gragnano
Capannori (Lucca)
Italia
Telefono: +39 0583 975 114
Fax: +39 0583 974 824
[email protected]
www.pce-instruments.com/italiano
United States of America
PCE Americas Inc.
1201 Jupiter Park Drive, Suite 8 Jupiter / Palm Beach
33458 FL USA
Tel: +1 (561) 320-9162
Fax: +1 (561) 320-9176
[email protected]
www.pce-instruments.com/us
Spain
PCE Ibérica S.L.
Calle Mayor, 53
02500 Tobarra (Albacete)
España
Tel. : +34 967 543 548
Fax: +34 967 543 542
[email protected]
www.pce-instruments.com/espanol
Turkey
PCE Teknik Cihazları Ltd.Şti.
Halkalı Merkez Mah.
Pehlivan Sok. No.6/C
34303 Küçükçekmece – İstanbul
Türkiye
Tel: 0212 471 11 47
Faks: 0212 705 53 93
[email protected]
www.pce-instruments.com/turkish

References
France.fr : Actualités, destinations et infos du tourisme en France
iberica.es
Make an offer on the domain instruments.co.uk - Domains.co.uk
Computer Instruments | Home
Discover Italy: Official Tourism Website - Italia.it
Industrial Measurement Products and Solutions | PCE Instruments
PCE Deutschland GmbH Prüfgeräte vom Hersteller | PCE Instruments
PCE Brookhuis B.V. | PCE Instruments
PCE Americas Inc. : Test Instruments | PCE Instruments
PCE Iberica S.L. Instrumentación | PCE Instruments
PCE Instruments France | PCE Instruments
PCE Italia s.r.l. / Strumenti di Misura | PCE Instruments
PCE Teknik Cihazlar Paz. Tic. Ltd.Şti. | PCE Instruments
PCE Americas Inc. : Test Instruments | PCE Instruments














