HH Electronics HPT-112 Active 12 PA Speaker

ATTENTION
- Intended to alert the user to the presence of uninsulated ‘Dangerous Voltage’ within the products enclosure that may be sufficient to constitute a risk of electrical shock to persons.
- Intended to alert the user of the presence of important operating and maintenance (Servicing) instructions in the literature accompanying the product.
CAUTION:
- Risk of electrical shock – DO NOT OPEN.
- To reduce the risk of electrical shock, do not remove the cover. No user serviceable parts inside. Refer servicing to qualified personnel.
WARNING:
To prevent electrical shock or fire hazard, do not expose this appliance to rain or moisture. Before using this appliance please read the operating instructions for further warnings.
WIRES
- EARTH or GROUND: GREEN/YELLOW
- NEUTRAL – BLUE
- LIVE – BROWN
After unpacking your amplifier check that it is factory fitted with a three pin ‘grounded’ (or earthed) plug. Before plugging into the power supply ensure you are connecting to a grounded earth outlet. If you should wish to change the factory fitted plug yourself, ensure that the wiring convention applicable to the country where the amplifier is to be used is strictly conformed to. As an example in the United Kingdom the cable colour code for connections are shown opposite.
GENERAL INSTRUCTIONS
In order to take full advantage of your new product and enjoy long and trouble-free performance, please read this owner’s manual carefully, and keep it in a safe place for future reference.
- Unpacking:
On unpacking your product please check carefully for any signs of damage that may have occurred whilst in transit from the HH factory to your dealer. In the unlikely event that there has been damage, please re-pack your unit in its original carton and consult your dealer. We strongly advise you to keep your original transit carton, since in the unlikely event that your unit should develop a fault, you will be able to return it to you dealer for rectification securely packed. - Amplifier Connection:
- In order to avoid damage, it is advisable to establish and follow a pattern for turning on and off your system. With all system parts connected, turn on source equipment, tape decks, cd players, mixers, effects processors etc, BEFORE turning on your amplifier. Many products have large transient surges at turn on and off which can cause damage to your speakers.
- By turning on your bass amplifier LAST and making sure its level control is set to a minimum, any transients from other equipment should not reach your loud speakers. Wait till all system parts have stabilised, usually a couple of seconds. Similarly when turning off your system always turn down the level controls on your bass amplifier and then turn off its power before turning off other equipment
- Cables:
Never use shielded or microphone cable for any speaker connections as this will not be substantial enough to handle the amplifier load and could cause damage to your complete system. - Servicing:
The user should not attempt to service these products. Refer all servicing to qualified service personnel.
FCC COMPLIANCY STATEMENT
This device complies with Part 15 of the FCC rules Operation is subject to the following two conditions:
- This device may not cause harmful interference
- This device must accept any interference received, that may cause undesired operation.
Warning: Changes or modification to the equipment not approved by HH Electronics Ltd. can void the user’s authority to use the equipment.
Note: This equipment has been tested and found to comply with the limits for Class B digital device, pursuant to Part 15 of the FCC Rules. These limits are designed to provide reasonable protection against harmful interference in a residential installation. This equipment generates, uses and can radiate radio frequency energy and if not installed and used in accordance with the instructions, may cause harmful interference to radio communications. However, there is no guarantee that interference will not occur in a particular installation. If this equipment does cause harmful interference to radio or television reception, which can be determined by turning the equipment off and on, the user is encouraged to try and correct the interference by one or more of the following measures.
- Reorient or relocate the receiving antenna.
- Increase the separation between the equipment and receiver.
- Connect the equipment into an outlet on a circuit different from that to which the receiver is connected.
- Consult the dealer or an experienced radio/TV technician for help.
ABOUT PRODUCT
- This product conforms to the requirements of the following European Regulations, Directives & Rules:
- CE Mark (93/68/EEC), Low Voltage (2014/35/EU), EMC (2014/30/EU),
- RoHS (2011/65/EU), ErP (2009/125/EU).
- In order to reduce environmental damage, at the end of its useful life, this product must not be disposed of along with normal household waste to landfill sites. It must be taken to an approved recycling centre according to the recommendations of the WEEE (Waste Electrical and Electronic Equipment) directive applicable in your country.
- http://support.hhelectronics.com/approvals
IMPORTANT INSTRUCTION
- Read these instructions.
- Keep these instructions safe.
- Heed all warnings.
- Follow all instructions.
- Do not use this apparatus near water.
- Clean only with a dry cloth.
- Do not block any of the ventilation openings. Install in accordance with manufacturer’s instructions.
- Do not install near any heat sources such as radiators, heat registers, stoves or other apparatus (including amplifiers) that produce heat.
- An apparatus with Class I construction shall be connected to a mains socket outlet with a protective connection. Do not defeat the safety purpose of the polarized or grounding-type plug. A polarized plug has two blades with one wider than the other. A grounding type plug has two blades and a third grounding prong. The wide blade or third prong is provided for your safety. If the provided plug does not fit into your outlet, consult an electrician for replacement of the obsolete outlet.
- Protect the power cord from being walked on or pinched, particularly at plugs, convenience receptacles, and the point they exit from the apparatus.
- Only use attachments/accessories provided by the manufacturer.
- Use only with a cart, stand, tripod, bracket, or table specified by the manufacturer, or sold with the apparatus. When a cart is used, use caution when moving the cart/apparatus combination to avoid injury from tip-over.
- The mains plug or appliance coupler is used as the disconnect device and shall remain readily operable. The user should allow easy access to any mains plug, mains coupler and mains switch used in conjunction with this unit thus making it readily operable. Unplug this apparatus during lightning storms or when unused for long periods of time.
- Refer all servicing to qualified service personnel. Servicing is required when the apparatus has been damaged in any way, such as when power-supply cord or plug is damaged, liquid has been spilled or objects have fallen into the apparatus, the apparatus has been exposed to rain or moisture, does not operate normally, or has been dropped.
- Never break off the ground pin. Connect only to a power supply of the type marked on the unit adjacent to the power supply cord.
- If this product is to be mounted in an equipment rack, rear support should be provided.
- Note for UK only: If the colors of the wires in the mains lead of this unit do not correspond with the terminals in your plug‚ proceed as follows:
- The wire that is colored green and yellow must be connected to the terminal that is marked by the letter E‚ the earth symbol‚ coloured green or coloured green and yellow.
- The wire that is colored blue must be connected to the terminal that is marked with the letter N or the colour black.
- The wire that is colored brown must be connected to the terminal that is marked with the letter L or the colour red.
- This electrical apparatus should not be exposed to dripping or splashing and care should be taken not to place objects containing liquids, such as vases, upon the apparatus.
- Exposure to extremely high noise levels may cause a permanent hearing loss. Individuals vary considerably in susceptibility to noise-induced hearing loss, but nearly everyone will lose some hearing if exposed to sufficiently intense noise for a sufficient time.
The U.S. Government’s Occupational Safety and Health Administration (OSHA) has specified the following permissible noise level exposures: According to OSHA, any exposure in excess of the above permissible limits could result in some hearing loss. Earplugs or protectors to the ear canals or over the ears must be worn when operating this amplification system in order to prevent a permanent hearing loss, if exposure is in excess of the limits as set forth above. To ensure against potentially dangerous exposure to high sound pressure levels, it is recommended that all persons exposed to equipment capable of producing high sound pressure levels such as this amplification system be protected by hearing protectors while this unit is in operation. - Symbols & nomenclature used on the product and in the product manuals, intended to alert the operator to areas where extra caution may be necessary, are as follows:
- Intended to alert the user to the presence of high ‘Dangerous Voltage’ within the products enclosure that may be sufficient to constitute a risk of electrical shock to persons.
- Intended to alert the user of the presence of important operating and maintenance (Servicing) instructions in the literature accompanying the product.

- Risk of electrical shock – DO NOT OPEN. To reduce the risk of electrical shock, do not remove the cover. No user serviceable parts inside. Refer servicing to qualified personnel.
- To prevent electrical shock or fire hazard, do not expose this appliance to rain or moisture. Before using this appliance please read the operating instructions.
- If your appliance features a tilting mechanism or a kickback style cabinet, please use this design feature with caution. Due to the ease with which the amplifier can be moved between straight and tilted back positions, only use the amplifier on a level, stable surface.
- DO NOT operate the amplifier on a desk, table, shelf or otherwise unsuitable non-stable platform.
INTRODUCTION
- The HH HPT range of active cabinets, engineered in the UK to deliver power, performance and reliability.
- The HPT-112 12-inch active loudspeaker enclosure offers 1400W of Class D power output and an impressive SPL of 130dB with the larger HPT-115 15-inch system providing 1400W of Class D power output and an SPL of 131dB.
- Both models feature dual 1/4″ & XLR Mic/line input channels with individual gain controls, on-board DSP with 4 audio modes,
- Master Volume Control, Mix Output, Ground Switch and Illuminating Logo.
- The HPT full range enclosures provide flexibility during use, either as a stand alone unit or part of a larger system.
- Multiple options are available to the user. These include a 35mm pole mount for use with a HPS active sub cabinet, four M8 integrated fly points for vertical or horizontal suspension, freestanding and kick back 35 degree monitor tilt.
- With their elegant design and three integrated carry handles, both models are easily transportable weighing in at 14.4Kg and 18Kg respectively.
GETTING STARTED
This manual contains important information regarding correct and safe operation of your HPT system. Please read it thoroughly in order to get the best performance and reliability from your HH product.
VOLTAGE SELECT SWITCH
- Although every effort has been made to select the correct voltage for the region of use, please check before powering up for the first time. Damage could occur if the voltage is incorrectly set.
- If necessary, use a suitable tool to slide the Voltage Selector Switch to the required setting.

POWER CYCLE
Many products have large transient surges at turn on and off which can cause damage to your speakers. Following the sequence below for power-up and the reverse for power down will prevent this from occurring.

REAR CONTROL PANEL – THIS IS THE SAME FOR BOTH MODELS.

- 1 & 2. INPUTS: A Combi Input allows for the use of both XLR and 1/4″ Jacks and accepts balanced and unbalanced signals.
Note: a stereo signal on a TRS lead cannot be connected directly, and must be split to two mono connectors. - GAIN: Use to set the channel level.
Note: Set the Gain control to minimum before connecting an audio signal.
Once the system is powered up, we recommend that the Gain set to midway is a good starting point. - 3. MASTER VOLUME: Controls the overall level of your HPT system.
Note: Set this control to minimum when switching the unit ON or Off. - LIMIT: The HPT cabinets are equipped with an onboard limiter to prevent overload to the power amplifiers and loudspeakers. The Limit led will illuminate when the Limiter is active. Occasional blinking of the Limit led is ok, but continuous illumination could result in damage to the system and Main Volume should be reduced.
- 4. MIX OUT: A signal feed which can be used to connect a second HPT cabinet (daisy chained – see page 12), active monitor, house PA or recording console for example. The Mix Out signal level is not affected by the Volume Control.
- 5. EQUALISATION: Four presets are included to optimise the response of the cabinet to suit your needs. Cycle through them using the Mode button.
- MUSIC: A bass lift with a flat mid to high response. LIVE: Similar to the ‘MUSIC’ response with the LF lift frequency shifted.
- MONITOR: A LF and HF roll-off with a with a slight mid band cut for clarity.
- VOCAL: A bass roll-off with flat mid and upper frequencies.
The EQ setting is stored and recalled following a power cycle. Please note the unit is shipped with the EQ mode set to Music.
- 6. OPTION: A Ground lift has been provided to reduce the potential problem of earth loops when connecting to other equipment.
- This control is to be used in conjunction with the MIX OUT.
- The Cabinets front logo illumination can be turned ON/Off with the Logo control.

- 7. MAINS INLET SOCKET AND FUSE: IEC input for connection of an appropriate mains lead. Only replace the fuse with the type indicated on the rear panel.
- 8. MAINS SWITCH: Turns the system on and off. Ensure the Volume controls is set to minimum when switching on and off.
- 9. VOLTAGE SELECT SWITCH: As previously mentioned, please enure the setting is correct before powering up to prevent damage to the amplifier.
- 10. INFORMATION: Area relating to the amplifier: Serial Number, operational information, power rating, etc.
- 11. AIR VENTS: These are critical for the longevity and reliability of the amplifier – DO NOT BLOCK. The same applies to the vents at the top of the control panel.

FUSE REPLACEMENT AND VOLTAGE SELECTION
SWITCH OFF AND DISCONNECT THE POWER CORD BEFORE PROCEEDING.

- EXAMPLE 1 – Daisy chained
If additional cabinets are required in the signal chain, simply connect the Mix Out of the primary cabinet to the Input of the Secondary cabinet.
- EXAMPLE 2 – A DJ setup
- HPT-112 / HPT-115 CABINET

- HPT-112 / HPT-115 CABINET
- EXAMPLE 3 – A mono PA setup

- EXAMPLE 4 – Stereo setup with mono bass

- EXAMPLE 5 – Full stereo setup

CONFIGURATIONS
The intuitive design of the HPT cabinets provide user flexibility and a product that will serve in many situations:

- A: Tripod/pole mounting – via the 35mm pole socket.
- B: Pole on sub.
- C: Flown vertically.
- D: Flown horizontally.
- E: Freestanding – on the ground.
- F: Monitor mode – the cabinets shape allows for horizontal/angled position on stage.
IMPORTANT
- POLE MOUNT: Don’t over-extend poles/tripods; ensure at least 4 x the pole diameter is still inside the outer pole. Make sure the legs have a good splay on tripods, but do not obstruct doorways or other access-ways. Make sure that the thumb screw on the cabinet is tight.
- SUSPENDED
WARNING: The suspension or ‘flying’ of cabinets should be performed only by properly qualified persons, in compliance with all local laws.- The position of installation is also bound by laws and regulations so must be taken into account in the initial planning stages.
- Hardware used must be fully approved for its intended use and be rated to support weights greater than that of the cabinet.
- All installation equipment used is subject to regular safety checks which must be strictly adhered to.
- If any of the hardware shows any signs of wear or damage, it should be replaced immediately.
- Failure to do so could result in serious injury or death!
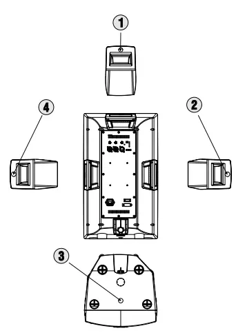
FITTING EYE BOLT
- A: To fit the eye bolts, first locate and remove the four rubber protection caps (positions shown below).

- B: Replace with a suitable eye bolt. Ensure thread is fully engaged into the insert.
Note that eye bolts for flying systems must be cast, shouldered fittings rated for the purpose.
Forged steel eye bolts of the type typically available from DIY suppliers are NOT suitable and should not be used under any circumstances.
QUICK TIPS
- Use electronic safety devices such as circuit breakers.
- Master volume should be at zero for switch on and off.
- Use input gain to set maximum signal level without distortion.
- Set up microphone levels first, and adjust other equipment to match.
- Avoid very high onstage levels from back-line amps.
- Avoid damp environments and extremes of temperature for storage and use of all audio equipment.
- Look after your cables. Do not stand equipment on, or run cases over them, do not tie knots in them and always use them for the correct application (a signal lead is NOT a speaker lead). Coil and secure with cable ties before storing.
- Ensure your equipment is properly loaded and cannot move around during transit.
- Keep lights away from speakers; heat can cause fires/speaker damage.
- Don’t run cables across access-ways; if you have to, run them above doors or use approved cable covers.
- Be aware of total power usage. Overloading a mains socket is potentially dangerous, and likely to cause a power out during use.
- Keep power and signal cables apart.
BLOCK DIAGRAM

1/O CONNECTOR WIRING

FREQUENCY RESPONSE

SPECIFICATION: HPT-112
| Model | HPT-112 |
| System type | 2 way active 12″ loudspeaker, Bass reflex |
| Power Rating | 1400W Peak, 700W Continuous |
| Frequency response | 45Hz-20KHz |
| Max SPL (1M) (Peak) | 130 dB SPL |
| Speaker | |
| LF Driver | 12″ HH designed professional low mid driver featuring imported glass reinforced cone |
| HF Driver | 1″ Compression Driver |
| Coverage | 90°H X 90°V |
| Crossover Frequency | 2.5KHz |
| Features | |
| Input Connectors | 2x Balanced Combi XLR/1/4″ Jack connectors |
| Output Connectors | 1x Balanced XLR Mix Output |
| Indicators | Power, Clip Indicator, EQ Mode, Front illuminated logo |
| EQ | User selectable performance presets for Music, Live, Monitor, Vocal |
| DSP | Crossover, EQ, Dual Band Limiters, Phase and Time Optimisation |
| Protection | Comprehensive protection and clip free limiting + clip indicator |
| Controls | 2x channel gain, Master Volume, logo on/off, Ground Lift, EQ Mode |
| AC Power | User Switcheable 100-120 or 220-240V~ 50/60HZ |
| AC Power Consumption | 300W Typical |
| Enclosure | |
| Cabinet | Robust polypropylene cabinet with three handles and monitor angle |
| Finish | Black |
| Grille | Heavy Gauge powder-coated steel, Black with acoustic foam backing |
| Other | 35mm Distance Pole Socket |
| Flying points | 4 x M8 Mounting Points |
| Unit dimensions (HWD) | 610 x 357 x 356 mm 24″ x 14.1″ x 14″ |
| Unit weight | 14.4Kg, 31.7 lbs |
| Carton dimensions (HWD) | 700 x 450 x 450 mm 27.6″ x 17.7″ x 17.7″ |
| Packed weight | 17.5Kg, 38.6 lbs |
| EAN13 | 5060109457629 |
| In the interest of continued development, HH reserves the right to amend product specification without prior notification. | |
For polar plots, EASE modelling files, 2D and 3D drawings files, please check www.hhelectronics.com
- Measured in Full space (4π) conditions
- Calculated maximum SPL based on rated power handling
- AES standard, pink noise with 6 dB crest factor, free air.
DIMENSION

SPECIFICATION: HPT-115
| Model | HPT-115 |
| System type | 2 way active 15″ loudspeaker, Bass reflex |
| Power Rating | 1400W Peak, 700W Continuous |
| Frequency response | 41Hz-20kHz |
| Max SPL (1M) (Peak) | 131 dB SPL |
| Speaker | |
| LF Driver | 15″ HH designed professional low mid driver featuring imported glass reinforced cone |
| HF Driver | 1″ Compression Driver |
| Coverage | 90°H X 90°V |
| Crossover Frequency | 2.5kHz |
| Features | |
| Input Connectors | 2x Balanced Combi XLR/1/4″ Jack connectors |
| Output Connectors | 1x Balanced XLR Mix Output |
| Indicators | Power, Clip Indicator, EQ Mode, Front illuminated logo |
| EQ | User selectable performance presets for Music, Live, Monitor, Vocal |
| DSP | Crossover, EQ, Dual Band Limiters, Phase and Time Optimisation |
| Protection | Comprehensive protection and clip free limiting + clip indicator |
| Controls | 2x channel gain, Master Volume, logo on/off, Ground Lift, EQ Mode |
| AC Power | User Switcheable 100-120 or 220-240V~ 50/60HZ |
| AC Power Consumption | 300W Typical |
| Enclosure | |
| Cabinet | Robust polypropylene cabinet with three handles and monitor angle |
| Finish | Black |
| Grille | Heavy Gauge powder-coated steel, Black with acoustic foam backing |
| Other | 35mm Distance Pole Socket |
| Flying points | 4 x M8 Mounting Points |
| Unit dimensions (HWD) | 694 x 420 x 385 mm 27.3″ x 16.5″ x 15.2″ |
| Unit weight | 18Kg, 39.7 lbs |
| Carton dimensions (HWD) | 800 x 500 x 480 mm 31.5″ x 19.7″ x 18.9″ |
| Packed weight | 21.8Kg, 48.1 lbs |
| EAN13 | 5060109457636 |
| In the interest of continued development, HH reserves the right to amend product specification without prior notification. | |
For polar plots, EASE modelling files, 2D and 3D drawings files, please check www.hhelectronics.com
- Measured in Full space (4π) conditions
- Calculated maximum SPL based on rated power handling
- AES standard, pink noise with 6 dB crest factor, free air.
DIMENSION

CONTACT
- TWITER: hhelectronics
- FACEBOOK: hhelectronics
- YOUTUBE: hhelectronics
- WEBSITE: www.hhelectronics.com





























