urban ambiance UQL 2400 Modern Bathroom Vanity Light

Installation Instructions
Tools Required: Flathead screwdriver, Phillips screwdriver, pliers, wire cutters, wire strippers, electrical tape, safety glasses.
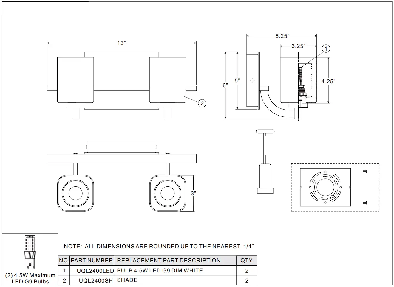
Light Source: (2) LED G9 4.5W Bulbs
Estimated Assembly Time: 20-30 minutes
Preparation: Identify and inspect all parts before beginning installation. Check package content list and diagrams below to be sure all parts are present. If any parts are missing or damaged, do not attempt to assemble, install, or operate the fixture. Contact customer service for replacement parts.
Warnings and Cautions
Turn off electricity at circuit breaker or main fuse box before installation. Consult a licensed electrician if in doubt.
These instructions are provided for your safety. It is very important you read them completely before installing the fixture. We strongly recommend that a licensed, professional electrician perform the installation.
Disconnect fixture from power source before replacing bulbs. Make sure bulbs are given sufficient time to cool before removal. Do not subject glass parts to any shock while in operation or shattering may result.
Package Contents

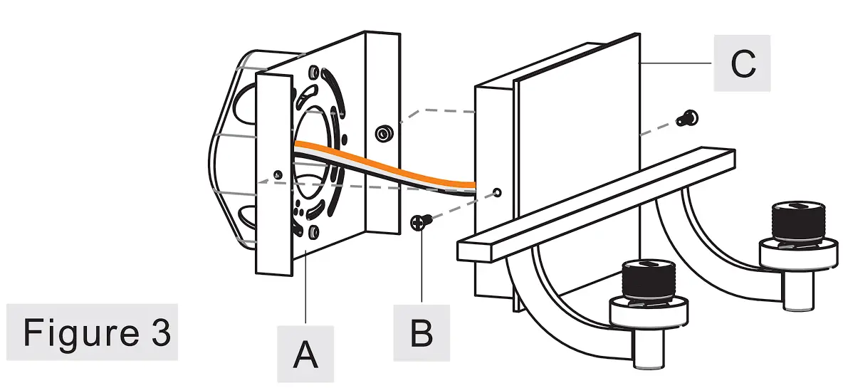
STEP 1 – Attach Inner Backplate to Outlet Box
A. Secure the Inner Backplate (A) to the outlet box with outlet box screws (not supplied). Tighten until snug. * Pliers is required on this step.
STEP 2 – Wire Connections
A. Use standard wire connectors (not included) to make all wire connections. Twist connectors until wires are tightly joined together.
Wrap each connection with approved electrical tape and carefully stuff all the connected wires into the Outlet Box.

STEP 3 Install Fixture Body
A. Place the backplate of the Fixture Body (C) onto the Inner Backplate
(A). Line up holes on the side of the backplate and the mounting holes on the side of the Inner Backplate (A). Secure them together by threading Mounting Screws (B) into the mounting holes on the Inner Backplate (A). Hand tighten until snug.
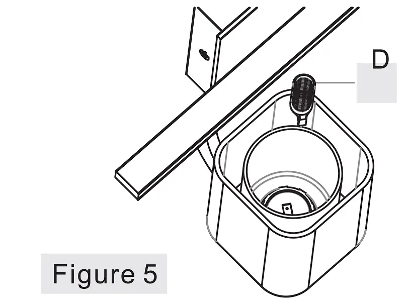
STEP 4 Install Shade
A. Place Shades (F) over Sockets as shown. By using the Socket Collar Tool (G), thread Socket Collars (E) onto sockets to secure Shades (F). Hand tighten until snug.

STEP 5 Install Bulb
A. Install the G9 bulb as specified
Note: This fixture is rated to use 50W maximum G9 Xenon bulbs. You may use a lower wattage G9 Xenon or if you purchased the LED model it is supplied with G9 LED bulbs. D
Your fixture is now assembled and ready to use. Enjoy!

SKU: UQL2400




















