stryker 2872 IsoTour Gel Support Surface User Manual
Symbols
![]() | Refer to instruction manual/booklet |
| Consult instructions for use | |
| General warning | |
| Caution | |
![]() | Catalogue number |
![]() | Serial number |
![]() | Batch code |
![]() | Manufacturer |
![]() | Date of manufacture |
![]() | Importer |
| Type B applied part | |
![]() | Mass of equipment |
![]() | Safe working load |
![]() | Wash by hand |
![]() | Do not tumble dry |
![]() | Do not dry-clean |
![]() | Do not iron |
![]() | Allow to air dry |
![]() | Chlorinated bleach |
| Authorized representative in the European Community | |
| European medical device | |
![]() | CE Mark |
| For US Patents see www.stryker.com/patents | |
![]() | Keep dry |
![]() | Stacking limit by number |
![]() | This side up |
| Fragile | |
![]() | Do not use sharp objects to open the package |
| Pressure redistribution | |
![]() | Shear |
![]() | TruTurn® |
![]() | Low air loss |
| Sacral off-loading |
Warning/Caution/Note Definition
The words WARNING, CAUTION, and NOTE carry special meanings and should be carefully reviewed.
WARNING
Alerts the reader about a situation which, if not avoided, could result in death or serious injury. It may also describe potential serious adverse reactions and safety hazards.
CAUTION
Alerts the reader of a potentially hazardous situation which, if not avoided, may result in minor or moderate injury to the user or patient or damage to the product or other property. This includes special care necessary for the safe and effective use of the device and the care necessary to avoid damage to a device that may occur as a result of use or misuse.
Note – Provides special information to make maintenance easier or important instructions clearer.
Summary of safety precautions
Always read and strictly follow the warnings and cautions listed on this page. Service only by qualified personnel.
WARNING
- Always check patient’s skin regularly. Consult a physician if erythema or skin breakdown occurs. Serious injury could result if the patient’s skin condition is left untreated.
- Always use extra caution and supervision to help reduce the risk of a patient fall. Patient stability and siderail coverage may be compromised with the use of an overlay.
- Always inspect for foreign objects between the support surface and the bed frame. Foreign objects may cause the support surface to slide on the support platform.
- Always consider the use of siderails. The safe use of the support surface is maximized when used in conjunction with siderails. There may be an increased risk of falls when siderails are not present. Serious injury or death can result from the use (potential entrapment) or non-use (potential patient falls) of siderails or other restraints. Consider local policies regarding the use of siderails. The physician, operator, or responsible parties should determine whether and how to use siderails based on each patient’s individual needs.
- Always use extra caution with a patient at risk of a fall (such as agitated or confused) to help reduce the likelihood of a fall.
- Do not use the support surface on a larger or smaller bed frame that does not fit the width, length, or thickness. This is to avoid the risk of the support surface sliding, patient injury, or interference with moving parts of the bed.
- Do not use the support surface when gaps are present. The risk of entrapment can develop when the support surface is placed on incompatible bed frames.
- Do not stick needles into a support surface through the support surface cover. Holes may allow body fluids to enter the inside (inner core) of the support surface.
- Never transfer or transport a patient while TruTurn is in use.
- Do not use the support surface as a transfer device.
- Do not use the support surface handles to lift or move the support surface with a patient on board.
- Do not exceed the safe working load of the hospital bed frame when supporting both the patient and the support surface. Excess weight could cause unpredictable safety and performance of this product.
- Always make sure that the opposite siderail is raised when placing a patient on the support surface to reduce the risk of patient fall.
- Always center the patient on the support surface. Align the patient’s head toward the headboard before you start TruTurn. Check the patient frequently to make sure that you maintain the proper position.
- Always make sure that tubes or wires connected to the patient are long enough, stable, and secure when you use TruTurn.
- Do not exceed the safe working load of this product. Excess weight could cause unpredictable safety and performance of this system.
- Do not wash the internal components of this support surface. Discard the support surface if contamination is found inside.
- Do not immerse the product in cleaning or disinfectant solutions.
- Do not allow liquid to pool on the product.
- Always inspect support surface covers (top and bottom) for tears, punctures, excessive wear, and misaligned zippers before each use. If compromised immediately remove the support surface from service.
- Always make sure that you wipe each product with clean water and dry each product after you use cleaning agents.
Some cleaning agents are corrosive in nature and may cause damage to the product. Failure to follow these care and maintenance instructions may void your warranty.
CAUTION
- Improper usage of the product can cause injury to the patient or operator. Operate the product only as described in this manual.
- Do not modify the product or any components of the product. Modifying the product can cause unpredictable operation resulting in injury to patient or operator. Modifying the product also voids its warranty.
- Always be aware of devices or equipment that are placed on the top of the support surface. Damage to the surface may occur due to the weight of the equipment, heat generated by the equipment, or sharp edges on the equipment.
- Do not put overlays or accessories inside the cover to avoid the risk of reducing pressure redistribution performance.
- Do not allow sharp objects to come into contact with the support surface that could puncture, tear, or cut the cover.
- Do not allow liquid to seep into the zipper area or watershed cover barrier when you clean the underside of the support surface. Fluids allowed to come in contact with the zipper may leak into the support surface core.
- Do not iron, dry-clean, or tumble dry the support surface covers.
- Do not power wash the support surface as this may damage the product.
- Always dry the support surface covers before you store, add linens, or place a patient on the surface. A dry product helps to prevent impaired performance.
- Do not over expose the covers to higher concentration chemical solutions as these may degrade the covers.
- Failure to follow manufacturing instructions may also affect useful life of the support surface cover.
Introduction
This manual assists you with the operation or maintenance of your Stryker product. Read this manual before operating or maintaining this product. Set methods and procedures to educate and train your staff on the safe operation or maintenance of this product.
CAUTION
- Improper usage of the product can cause injury to the patient or operator. Operate the product only as described in this manual.
- Do not modify the product or any components of the product. Modifying the product can cause unpredictable operation resulting in injury to patient or operator. Modifying the product also voids its warranty.
Note
- This manual is a permanent part of the product and should remain with the product even if the product is sold.
- Stryker continually seeks advancements in product design and quality. This manual contains the most current product information available at the time of printing. There may be minor discrepancies between your product and this manual. If you have any questions, contact Stryker Customer Service or Technical Support at 1-800-327-0770.
Product description
The Stryker Model 2872, IsoTour™ support surface is a non-powered or powered gel-filled support surface. This product was designed to help manage shear and provide pressure redistribution aided by the TruTurn® feature. The cover helps manage microclimate. IsoTour shall be used with a support surface cover at all times. This product is for use on acute care hospital bed frames.
Intended use
The IsoTour support surface assists in the prevention and treatment of pressure injuries or pressure ulcers (all stages, Unstageable injury, and Deep Tissue injury). We recommend you implement this product in combination with clinical evaluation of risk factors and skin assessments made by a healthcare professional.
This support surface is for use with human patients with existing or at risk of incurring pressure injuries. The patient must not exceed the safe working load as noted in the specification section of this manual.
This support surface is for use by patients in an acute care setting. This may include critical care, step down, progressive care, med/surg, sub-acute care, and post anesthesia care unit (PACU), or other locations as prescribed by a physician. Operators of this support surface include healthcare professionals (such as nurses, nurse aids, or doctors).
This product is not intended to be sterile, include a measuring function, or used in a home healthcare environment.
Clinical benefits
Assists in the prevention and treatment of all pressure ulcers or pressure injuries
Clinical assessment
The TruTurn feature is for use only after you complete a clinical assessment per your hospital protocol. This is to make sure that no adverse reaction would result for patients with the following example conditions:
- Spinal cord injury, except for unstable spine, see Contraindications
- Skeletal traction
- Significant hemoptysis
- Bleeding disorders
- Fractures
- Hemodynamically unstable
- Increased intracranial pressure
Contraindications
The TruTurn feature is not intended for use with patients that have unstable spine.
Note – TruTurn requires the IsoTour pump to be connected for use. The TruTurn feature is visually identified by the icons on the IsoTour pump (Figure 1).

Figure 1 – TruTurn icon
Expected life
The product expected life is for normal use, conditions, and with appropriate periodic maintenance.
- Standard top cover (END406)- 5 years
- Specialty top cover (MICH426)- 1 year
- Bottom cover, standard or premium – 5 years
- Mattress core assembly, spacer fabric, and fire barrier – 10 years
Disposal/recycle
Always follow the current local recommendations and/or regulations governing environmental protection and the risks associated with recycling or disposing of the equipment at the end of its useful life.
Specifications
![]() Safe working load Note – Safe working load indicates the sum of the patient, mattress, and accessory weight. | 500 lb | 227 kg |
| Minimum patient weight | 50 lb | 22.7 kg |
| Standard | Specialty top cover (MICH426) | 2872-000-002 | 2872-000-006 |
| Premium | 2872-000-001 | 2872-000-005 |
| Standard | Standard top cover (END406) | 2872-000-012 | 2872-000-016 | ||
| Premium | 2872-000-011 | 2872-000-015 | |||
| Length | 84.25 in. | 214 cm | 78.75 in. | 200 cm | |
| Width | 35.5 in. | 90.2 cm | 35.5 in. | 90.2 cm | |
| Thickness | 9.5 in. | 24.1 cm | 9.5 in. | 24.1 cm | |
| Product weight | 85 lb | 38.6 kg | 79.9 lb | 36.2 kg | |
| Flammability compliance | USA | CALIFORNIA TB 129, BOSTON-BFD IX-11, 16 CFR 1632 | |||
| International | EN 597-1, EN 597-2, CANADA-Method 27.7 of CAN 2-4.2 M77, ITALY UNI 9175 | ||||
| Compatible bed frames for standard and premium support surfaces | ProCuity™, 3002 S3®, 3005 S3®, InTouch®, Spirit Select® | ||||
| IsoTour pump | 2874-000-001 | ||||
| Environmental conditions | Operation | Storage and transportation |
| Ambient temperature | ![]() | |
| Relative humidity (non-condensing) | ![]() | |
| Atmospheric pressure | ![]() | |
Stryker reserves the right to change specifications without notice.
Features
- TruTurn
Available for the premium support surface. Air bladders inflate to rotate up to 30 degrees. Helps to off-load the sacrum. Turn angle can be customized per patient tolerance and comfort. - Moisture management
The top surface cover is designed to draw excess moisture away from the patient’s skin and support surface interface. - Low Air Loss (LAL)
Provides air flow to help manage microclimate of the skin. - Standard support surface
Orange bottom cover, gel and foam core, LAL capable when connected to pump, handles, and D-rings - Premium support surface
Blue bottom cover, gel and foam core, spacer fabric for enhanced air flow, handles, D-rings, anchor straps, TruTurn and LAL capable when connected to pump
Contact information
Contact Stryker Customer Service or Technical Support at: 1-800-327-0770.
Stryker Medical
3800 E. Centre Avenue
Portage, MI 49002
USA
Note – The user and/or the patient should report any serious product-related incident to both the manufacturer and the Competent authority of the European Member State where the user and/or patient is established.
To view your operations or maintenance manual online, see https://techweb.stryker.com/.
Have the serial number (A) of your Stryker product available when calling Stryker Customer Service or Technical Support. Include the serial number in all written communication.
Serial number

Setup
WARNING
- Always check patient’s skin regularly. Consult a physician if erythema or skin breakdown occurs. Serious injury could result if the patient’s skin condition is left untreated.
- Always use extra caution and supervision to help reduce the risk of a patient fall. Patient stability and siderail coverage may be compromised with the use of an overlay.
- Always inspect for foreign objects between the support surface and the bed frame. Foreign objects may cause the support surface to slide on the support platform.
- Always consider the use of siderails. The safe use of the support surface is maximized when used in conjunction with siderails. There may be an increased risk of falls when siderails are not present. Serious injury or death can result from the use (potential entrapment) or non-use (potential patient falls) of siderails or other restraints. Consider local policies regarding the use of siderails. The physician, operator, or responsible parties should determine whether and how to use siderails based on each patient’s individual needs.
- Always use extra caution with a patient at risk of a fall (such as agitated or confused) to help reduce the likelihood of a fall.
- Do not use the support surface on a larger or smaller bed frame that does not fit the width, length, or thickness. This is to avoid the risk of the support surface sliding, patient injury, or interference with moving parts of the bed.
- Do not use the support surface when gaps are present. The risk of entrapment can develop when the support surface is placed on incompatible bed frames.
- Do not stick needles into a support surface through the support surface cover. Holes may allow body fluids to enter the inside (inner core) of the support surface.
CAUTION
- Always be aware of devices or equipment that are placed on the top of the support surface. Damage to the surface may occur due to the weight of the equipment, heat generated by the equipment, or sharp edges on the equipment.
- Do not put overlays or accessories inside the cover to avoid the risk of reducing pressure redistribution performance.
- Remove all shipping and packaging materials from the product before use.
- Place the support surface with the artwork toward the foot end of the bed frame. The artwork is located on the side of the top cover.
- Place the support surface between the mattress retainers on the bed frame.
- a. If you have a standard support surface without anchor straps, go to step 4.
- b. For a premium support surface, setup the anchor strap.
- c. Remove the headboard and raise the Fowler 30 degrees or a workable height. You need access to the underside of the deck.
- d. Start with one side of the anchor strap and wrap around the top edge of the litter deck. Push the buckle up through the slot on the same side.
- e. Fasten the buckle and pull the strap to tighten to the bed frame. Keep the straps loose enough to allow for the support surface to turn.
- f. Repeat steps 3d to 3e to attach the anchor strap on the other side.
- Place linens on the support surface per hospital protocols.
Setup optional 6 inch foot extender pad
See the bed operations manual for instructions about how to setup the foot extender.
- Remove all shipping and packaging materials from the product before use.
- Place the optional foot extender pad onto the bed extender. Make sure that you have the appropriate size foot extender pad.
Setup optional 12 inch foot extender pad
See the bed operations manual for instructions about how to setup the foot extender.
- Remove all shipping and packaging materials from the product before use.
- Place the optional foot extender pad onto the bed extender. Make sure that you have the appropriate size foot extender
pad. - Align the hook and loop fastener on the foot extender pad with the hook and loop fastener on the bed frame extenders.
Note – The bed frame extender may not have hook and loop fastener applied. Apply or replace hook and loop fastener if necessary.
Operation
Applying linens
To apply linens:
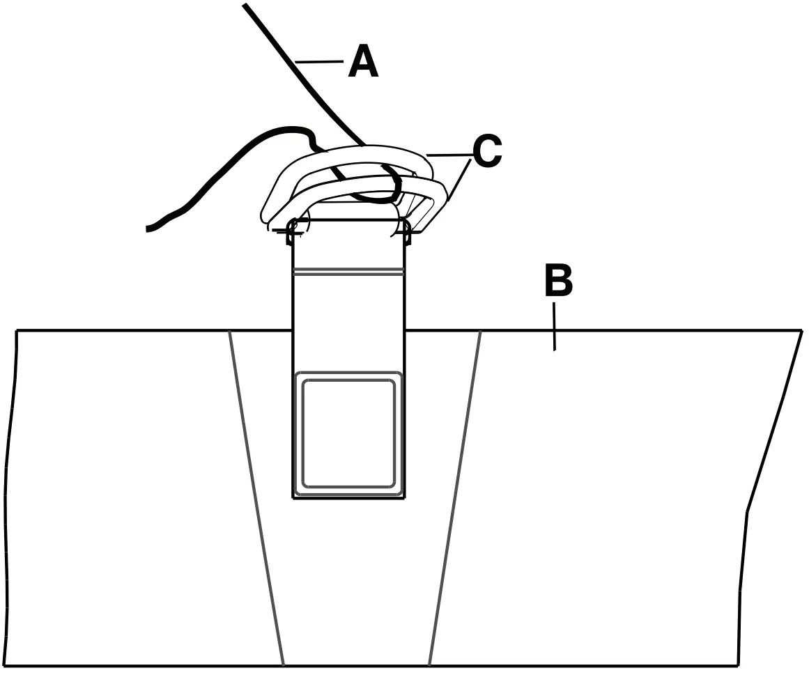
- Part the D-rings (C) (Figure 2).
- Thread the four linen corners through the D-rings (C) attached to the bottom cover to secure the linens (A) to the support surface (B).

Figure 2 – Apply linens
Note – Do not pull the linens tight. Keep the linens loose and as smooth as possible on top of the support surface for effective use of the TruTurn.
Transferring a patient from one patient support platform to another
WARNING
- Never transfer or transport a patient while TruTurn is in use.
- Do not use the support surface as a transfer device.
- Do not use the support surface handles to lift or move the support surface with a patient on board.
- Do not stick needles into a support surface through the support surface cover. Holes may allow body fluids to enter the inside (inner core) of the support surface.
- Do not exceed the safe working load of the hospital bed frame when supporting both the patient and the support surface.
Excess weight could cause unpredictable safety and performance of this product. - Always make sure that the opposite siderail is raised when placing a patient on the support surface to reduce the risk of patient fall.
To transfer the patient from one patient support surface to another:
Prerequisite: Follow hospital protocols required to transfer a patient from one surface to another.
- Position one patient support platform alongside the other patient support platform while minimizing the gap between the two platforms.
- Set the brakes to ON for both patient support platforms.
- Adjust the patient support platform heights so that they are level with one another.
- Transfer the patient following all applicable safety rules and institution protocols for patient and operator safety.
Positioning a patient for TruTurn
Before you start TruTurn, you need to make sure that the patient is centered on the support surface.
WARNING
- Always center the patient on the support surface. Align the patient’s head toward the headboard before you start TruTurn. Check the patient frequently to make sure that you maintain the proper position.
- Always make sure that tubes or wires connected to the patient are long enough, stable, and secure when you use TruTurn.
- Do not exceed the safe working load of this product. Excess weight could cause unpredictable safety and performance of this system.
CAUTION – Do not allow sharp objects to come into contact with the support surface that could puncture, tear, or cut the cover.
Note – When radiological images of the patient are taken on this product, the internal components of this product may cause artifacts or distort images.
To position the patient:
- Position the patient in the center of the support surface, align the patient’s head toward the headboard.
- Check the patient as you use TruTurn for correct position (Figure 3).
Accessories and parts
hese accessories may be available for use with your product. Confirm availability for your configuration or region. Call Stryker Customer Service: 1-800-327-0770.
| Name | Number |
| Bed extender pad, gel, 6 in. (15.2 cm) | 2872-000-800 |
| Bed extender pad, gel, 12 in. (30.4 cm) | 2872-000-810 |
| Kit, premium upgrade, 84.25 in. (214 cm) | 2872-700-005 |
| Kit, premium upgrade, 78.75 in. (200 cm) | 2872-700-006 |
| IsoTour Pump | 2874-000-001 |
| Fire barrier | 2872-030-701 |
| Bottom cover assembly, premium 78.75 in. (200 cm) | 2872-001-002 |
| Bottom cover assembly, premium 84.25 in. (214 cm) | 2872-001-001 |
| Bottom cover assembly, standard 78.75 in. (200 cm) | 2872-001-004 |
| Bottom cover assembly, standard 84.25 in. (214 cm) | 2872-001-003 |
| Spacer fabric 78.75 in (200 cm), premium option only | 2872-035-702 |
| Spacer fabric 84.25 in. (214 cm), premium option only | 2872-030-702 |
| Specialty top cover assembly, 78.75 in (200 cm) | 2872-035-500 |
| Specialty top cover assembly, 84.25 in. (214 cm) | 2872-030-500 |
| Standard top cover assembly, 78.75 in (200 cm) | 2872-045-500 |
| Standard top cover assembly, 84.25 in. (214 cm) | 2872-040-500 |
Preventive maintenance
Remove product from service before you perform preventive maintenance. Check all items listed during annual preventive maintenance for all Stryker Medical products. You may need to perform preventive maintenance checks more often based on your level of product usage. Service only by qualified personnel.
Note – Clean and disinfect the exterior of the support surface before inspection, if applicable.
Inspect the following items:
- Zipper and covers (top and bottom) are free of tears, cuts, holes, or other openings
- Unzip the covers to inspect the internal components for signs of stains from fluid ingress or contamination
- Labels for legibility, proper adherence, and integrity
- Handles are free of rips, cracks, and are intact
- Foam has not degraded or come apart
- Fire barrier for rips or other visible signs of damage
- Spacer fabric, premium option only, for rips or other visible signs of damage
- Run a diagnostic test if paired with a pump – see the IsoTour Pump Operations Manual
Note – Only qualified personnel should complete the diagnostic test.
| Product serial number: |
| Completed by: |
| Date: |
Cleaning
Cleaning and disinfecting with wipes
For United States only. Confirm availability for your configuration or region. Call Stryker Customer Service: 1-800-327-0770.
Stryker’s preferred wipes (2060-000-001 6” x 10” or 2060-000-002 9” x 12”) include the following active ingredients:
- n-Alkyl (60% C14, 30% C16, 5% C12, 5% C18) dimethyl benzyl ammonium chloride – 0.154%
- n-Alkyl (68% C12, 32% C14) dimethyl ethylbenzyl ammonium chloride – 0.154%
- Isopropanol – 21.000%
Non-active ingredient: Ethylene Glycol Monobutyl Ether – < 3%
Note – For safety information, read the product label.
To clean or disinfect the external product surface:
- To clean, wipe external surfaces with a fresh, clean wipe to remove all visible soils. Repeat as necessary until the product is clean.
Note- Use as many wipes as necessary.
- Complete step 1 before you disinfect.
- To disinfect, wipe external surfaces with a fresh, clean wipe until wet. Allow the external surface to remain wet for two minutes at room temperature.
- Allow the product to dry before you return it to service.
Care and maintenance
WARNING
- Do not wash the internal components of this support surface. Discard the support surface if contamination is found inside.
- Do not immerse the product in cleaning or disinfectant solutions.
- Do not allow liquid to pool on the product.
- Always inspect support surface covers (top and bottom) for tears, punctures, excessive wear, and misaligned zippers before each use. If compromised immediately remove the support surface from service.
- Always make sure that you wipe each product with clean water and dry each product after you use cleaning agents. Some cleaning agents are corrosive in nature and may cause damage to the product. Failure to follow these care and maintenance instructions may void your warranty.
CAUTION
- Do not allow liquid to seep into the zipper area or watershed cover barrier when you clean the underside of the support surface. Fluids allowed to come in contact with the zipper may leak into the support surface core.
- Do not iron, dry-clean, or tumble dry the support surface covers.
- Do not power wash the support surface as this may damage the product.
- Always dry the support surface covers before you store, add linens, or place a patient on the surface. A dry product helps to prevent impaired performance.
- Do not over expose the covers to higher concentration chemical solutions as these may degrade the covers.
- Failure to follow manufacturing instructions may also affect useful life of the support surface cover.
The support surface cover is resistant to the following chemical solutions: - Quaternaries (active ingredient – ammonium chloride) that contain less than 3% glycol ether
- Phenolic solution (Matar)
- Chlorinated bleach solution (6500 ppm)
- Accelerated Hydrogen Peroxide (AHP) 10,000 ppm hydrogen peroxide plus additional additives ≤ 0.13% peroxyacetic acid
- Potassium peroxymonosulfate
- 70% isopropyl alcohol
Follow hospital protocol for support surface care between patients, to avoid the risk of cross-contamination and infection.
Care of bottom cover
Always follow your hospital protocol for cleaning and disinfecting. This is a guide to help show you how to access the bottom surface cover for cleaning.
Note – This product is compatible with different bed frames. The bed features listed here may not be available for all compatible beds frames.
- Remove the headboard and footboard from the bed and set aside.
- Lower the siderails (Figure 4).

Figure 4 – Siderails lowered - Raise the head of bed angle and lower the foot end (Figure 5).

Figure 5 – Head of bed angle - With a helper, use the handles on the support surface to help fold the support surface to the foot end of the litter (Figure 6).

Figure 6 – Fold head end - Care for the underside of the support surface and the litter deck.
- Make sure the surface and litter deck are dry.
- Unfold the support surface and return the bed to a flat position (Figure 4)
- Reverse steps 4 to 7 for the care of the foot end of the support surface and litter deck (Figure 7).

Figure 7 – Folded foot end - Replace the headboard and footboard before you place the product into service.
Top cover replacement
Tools required:
- None
Procedure:
- Raise the bed height to the full up position.
- Lower the Fowler and Gatch sections to the full down positions.
- Unzip the cover. The zipper starts in the middle of the patient right side of the support surface.
Note – Use caution not to damage the fire barrier. - Remove and discard the top cover per hospital protocol.
- Reverse to install.
- Verify proper operation before you return the product to service.
Bottom cover replacement
A minimum of 2 operators is recommended for this task.
Tools required:
- None
Procedure:
- Raise the bed height to the full up position.
- Lower the Fowler and Gatch sections to the full down positions.
- Unzip the cover. The zipper starts in the middle of the patient right side of the support surface.
- Remove and save the top cover.
- Disconnect the LAL hose.
- Remove the foam crib assembly from the bed. Save the foam crib assembly.
- Remove and discard the bottom cover per hospital protocol.
- Place the supplied bottom cover on the bed with the bottom cover on the litter.
- Place the foam crib assembly on top of the bottom cover. Align the foam crib to the cover.
- Reconnect the LAL hose (A) and TruTurn hoses (B, C) (Figure 8). Connect the right hose with the red strip to the hose connector with the raised rib (D).

Figure 8 – Reconnect hosesA Low air loss (LAL) B TruTurn patient left C TruTurn patient right D Raised rib - Place the top cover over the top of the foam crib assembly. Align the top cover with the foam crib assembly.
- Zip the cover to close. The zipper starts in the middle of the patient right side of the support surface.
- Run a diagnostic test if paired with a pump (refer to the IsoTour Pump Operations Manual)
Note – Only qualified personnel should complete the diagnostic test. - Verify proper operation before you return the product to service.
Fire barrier replacement
Tools Required:
- None
Procedure:
- Raise the bed height to the full up position.
- Lower the Fowler and Gatch sections to the full down positions.
- Unzip the cover. The zipper starts in the middle of the patient right side of the support surface.
- Remove and save the top cover.
- Starting at the foot end, roll up the fire barrier on the foam crib assembly.
Note – Work from side to side, a little at a time, to move the fire barrier to the top of the support surface. - Discard the fire barrier.
- Starting at the head end, roll the new fire barrier down and slide the fire barrier over the foam crib assembly.
Note – Align the fire barrier on the foam crib assembly before you slide the fire barrier over the foam crib assembly. - Slide the fire barrier down the foam crib assembly, work from side to side, to make sure that the fire barrier is tight on the foam crib assembly.
- Align the foam crib assembly on top of the bottom part of the cover.
Note – Spread the excess fire barrier material equally below the foam crib assembly at the foot end. - Fold and align the top cover over the top of the foam crib assembly.
- Zip the cover to close.
- Verify proper operation before you return the product to service.
Tools required:
- None
Procedure:
- Raise the bed height to the full up position.
- Lower the Fowler and Gatch sections to the full down positions.
- Unzip the cover. The zipper starts in the middle of the patient right side of the support surface.
- Remove and save the top cover.
- Starting at the foot end, roll up the fire barrier on the foam crib assembly.
- Remove and save the fire barrier.
- Remove and discard the spacer fabric per hospital protocol.
- Place the supplied spacer fabric on the foam core. Pull the fitted ends over the corners of the foam core corners.
- Replace the fire barrier. Slide the fire barrier down the foam crib assembly, work from side to side and make sure the fire barrier is tight on the foam crib assembly.
- Replace the top cover. Align the top cover with the foam crib assembly.
- Zip the cover to close. The zipper starts in the middle of the patient right side of the support surface.
- Verify proper operation before you return the product to service.

Stryker Medical
3800 E. Centre Avenue
Portage, MI 49002
USA

















































