
skil 1415 HIGH-SPEED ROTATION TOOL
INTRODUCTION
- This tool is intended for high-precision grinding, sanding, cutting, engraving, polishing and drilling in different materials
- The light of this power tool is intended to illuminate the power tool΄s direct area of working operation and is not suitable for household room illumination (not standard included)
- This tool is not intended for professional use
- SKIL does not supply spare accessories for this tool, but recommends to buy Ø 2,4 mm/Ø 3,2 mm DREMEL accessories
- Read and save this instruction manual
TECHNICAL DATA 
TOOL ELEMENTS
- A On/off switch
- B Spindle-lock button
- C Collet
- D Collet nut
- E Wrench
- F Support grip
- G Speed selection wheel
- H Ventilation slots
- J Spot light
- K Switch for spot light
- L Locking sleeve
- M Extension tube
- N Suspension bracket
- P Locking knob
- Q Hanging hook
SAFETY
GENERAL SAFETY INSTRUCTIONS
WARNING! Read all safety warnings and all instructions. Failure to follow the warnings and instructions may result in electric shock, fire and/or serious injury. Save
all warnings and instructions for future reference. The
term “power tool” in the warnings refers to your mains-operated (corded) power tool or battery-operated (cordless)
power tool.
- WORK AREA SAFETY
- Keep work area clean and well lit. Cluttered or dark areas invite accidents.
- Do not operate power tools in explosive atmospheres, such as in the presence of flammable liquids, gases or dust. Power tools create sparks which may ignite the dust or fumes.
- Keep children and bystanders away while operating a power tool. Distractions can cause you to lose control.
- ELECTRICAL SAFETY
- Power tool plugs must match the outlet. Never modify the plug in any way. Do not use any adapter plugs with earthed (grounded) power tools. Unmodified plugs and matching outlets will reduce risk of electric shock.
- Avoid body contact with earthed or grounded surfaces such as pipes, radiators, ranges and refrigerators. There is an increased risk of electric shock if your body is earthed or grounded.
- Do not expose power tools to rain or wet conditions. Water entering a power tool will increase the risk of electric shock.
- Do not abuse the cord. Never use the cord for carrying, pulling or unplugging the power tool. Keep cord away from heat, oil, sharp edges or moving parts. Damaged or entangled cords increase the risk of electric shock.
- When operating a power tool outdoors, use an extension cord suitable for outdoor use. Use of a cord suitable for outdoor use reduces the risk of electric shock.
- If operating a power tool in a damp location is unavoidable, use an earth leakage circuit breaker. Use of an earth leakage circuit breaker reduces the risk of electric shock.
- PERSONAL SAFETY
- Stay alert, watch what you are doing and use common sense when operating a power tool. Do not use a power tool while you are tired or under the influence of drugs, alcohol or medication. A moment of inattention while operating power tools may result in serious personal injury.
- Use personal protective equipment. Always wear eye protection. Protective equipment such as dust mask, non-skid safety shoes, hard hat, or hearing protection used for appropriate conditions will reduce personal injuries.
- Prevent unintentional starting. Ensure the switch is in the off-position before connecting to power source and/or battery pack, picking up or carrying the tool. Carrying power tools with your finger on the switch or energising power tools that have the switch on invites accidents.
- Remove any adjusting key or wrench before turning the power tool on. A wrench or a key left attached to a rotating part of the power tool may result in personal injury.
- Do not overreach. Keep proper footing and balance at all times. This enables better control of the power tool in unexpected situations.
- Dress properly. Do not wear loose clothing or jewelry. Keep your hair, clothing and gloves away from moving parts. Loose clothes, jewelry or long hair can be caught in moving parts.
- If devices are provided for the connection of dust extraction and collection facilities, ensure these are connected and properly used. Use of dust collection can reduce dust-related hazards.
- POWER TOOL USE AND CARE
- Do not force the power tool. Use the correct power tool for your application. The correct power tool will do
the job better and safer at the rate for which it was designed. - Do not use the power tool if the switch does not turn it on and off. Any power tool that cannot be controlled with the switch is dangerous and must be repaired.
- Disconnect the plug from the power source and/or the battery pack from the power tool before making any adjustments, changing accessories, or storing power tools. Such preventive safety measures reduce the risk of starting the power tool accidentally.
- Store idle power tools out of the reach of children and do not allow persons unfamiliar with the power tool or these instructions to operate the power tool. Power tools are dangerous in the hands of untrained users.
- Maintain power tools. Check for misalignment or binding of moving parts, breakage of parts and any other condition that may affect the power tool’s operation. If damaged, have the power tool repaired before use. Many accidents are caused by poorly maintained power tools.
- Keep cutting tools sharp and clean. Properly maintained cutting tools with sharp cutting edges are less likely to bind and are easier to control.
- Use the power tool, accessories and tool bits etc., in accordance with these instructions, taking into account the working conditions and the work to be performed. Use of the power tool for operations different from those intended could result in a hazardous situation.
- Do not force the power tool. Use the correct power tool for your application. The correct power tool will do
- SERVICE
- Have your power tool serviced by a qualified repair person using only identical replacement parts. This will ensure that the safety of the power tool is maintained.
SAFETY INSTRUCTIONS FOR HIGH-SPEED ROTATION TOOLS
- SAFETY INSTRUCTIONS FOR ALL OPERATIONS
- This power tool is intended to function as a grinder, sander, wire brush, polisher, carving or cut-off tool. Read all safety warnings, instructions, illustrations and specifications provided with this power tool. Failure to follow all instructions listed below may result in electric shock, fire and/or serious injury.
- Do not use accessories which are not specifically designed and recommended by the tool manufacturer. Just because the accessory can be attached to your power tool, it does not assure safe operation.
- The rated speed of the accessory must be at least equal to the maximum speed marked on the power tool. Accessories running faster than their rated speed can fly apart.
- The outside diameter and the thickness of your accessory must be within the capacity rating of your power tool. Incorrectly sized accessories cannot be adequately controlled.
- The arbour size of wheels, sanding drum or any other accessory must properly fit the spindle or collet of the power tool. Accessories that do not match the mounting hardware of the power tool will run out of balance, vibrate excessively and may cause loss of control.
- Mandrel mounted wheels, sanding drums, cutters or other accessories must be fully inserted into the collet or chuck. The “overhang” or the length of the mandrel from the wheel to the collet must be minimal. If the mandrel is insufficiently held and/or the overhang of the wheel is too long, the mounted wheel may become loose and ejected at high velocity.
- Do not use a damaged accessory. Before each use inspect the accessory such as abrasive wheels for chips and cracks, sanding drum for cracks, tear or excess wear, wire brushes for loose or cracked wires. If the power tool or accessory is dropped, inspect for damage or install an undamaged accessory. After inspecting and installing an accessory, position yourself and bystanders away from the plane of the rotating accessory and run the power tool at maximum no load speed for one minute. Damaged accessories will normally break apart during this test time.
- Wear personal protective equipment 4. Depending on application, use face shield, safety goggles or safety glasses. As appropriate, wear dust mask, hearing protectors, gloves and shop apron capable of stopping small abrasive or workpiece fragments. The eye protection must be capable of stopping flying debris generated by various operations. The dust mask or respirator must be capable of filtrating particles generated by your operation. Prolonged exposure to high intensity noise may cause hearing loss.
- Keep bystanders a safe distance away from work area. Anyone entering the work area must wear personal protective equipment. Fragments of the workpiece or of a broken accessory may fly away and cause injury beyond the immediate area of operation.
- Hold power tool by insulated gripping surfaces only, when performing an operation where the cutting accessory may contact hidden wiring or its own cord. A cutting accessory contacting a “live” wire may make exposed metal parts of the power tool “live” and could give the operator an electric shock.
- Always hold the tool firmly in your hands during the start-up. The reaction torque of the motor, as it accelerates to full speed, can cause the tool to twist.
- Use clamps to support workpiece whenever practical. Never hold a small workpiece in one hand and the tool in the other hand while in use. Clamping a small workpiece allows you to use both hands to control the tool. Round material such as dowel rods, pipes or tubing have a tendency to roll while being cut, and may cause the bit to bind or jump toward you.
- Position the cord clear of the spinning accessory. If you lose control, the cord may be cut or snagged and your hand or arm may be pulled into the spinning accessory.
- Never lay the power tool down until the accessory has come to a complete stop. The spinning accessory may grab the surface and pull the power tool out of your control.
- After changing the bits or making any adjustments, make sure the collet nut, chuck or any other adjustment devices are securely tightened. Loose adjustment devices can unexpectedly shift, causing loss of control, loose rotating components will be violently thrown.
- Do not run the power tool while carrying it at your side. Accidental contact with the spinning accessory could snag your clothing, pulling the accessory into your body.
- Regularly clean the power tool’s air vents. The motor’s fan will draw the dust inside the housing and excessive accumulation of powdered metal may cause electrical hazards.
- Do not operate the power tool near flammable materials. Sparks could ignite these materials.
- Do not use accessories that require liquid coolants. Using water or other liquid coolants may result in electrocution or shock.
- KICKBACK AND RELATED WARNINGS
- Kickback is a sudden reaction to a pinched or snagged rotating wheel, sanding band, brush or any other accessory. Pinching or snagging causes rapid stalling of the rotating accessory which in turn causes the uncontrolled power tool to be forced in the direction opposite of the accessory’s rotation at the point of the binding.
- For example, if an abrasive wheel is snagged or pinched by the workpiece, the edge of the wheel that is entering into the pinch point can dig into the surface of the material causing the wheel to climb out or kick out. The wheel may either jump toward or away from the operator, depending on the direction of the wheel’s movement at the point of pinching. Abrasive wheels may also break under these conditions.
- Kickback is the result of power tool misuse and/or incorrect operating procedures or conditions and can be avoided by taking proper precautions as given below.
- Maintain a firm grip on the power tool and position your body and arm to allow you to resist kickback forces.The operator can control kickback forces, if proper precautions are taken.
- Use special care when working corners, sharp edges etc. Avoid bouncing and snagging the accessory. Corners, sharp edges or bouncing have a tendency to snag the rotating accessory and cause loss of control or kickback.
- Do not attach a thin toothed saw blade. Such blades create frequent kickback and loss of control.
- Always feed the bit into the material in the same direction as the cutting edge is exiting from the material (which is the same direction as the chips are thrown). Feeding the tool in the wrong direction causes the cutting edge of the bit to climb out of the work and pull the tool in the direction of this feed.
- When using steel saws, cut-off wheels, high-speed cutters or tungsten carbide cutters, always have the work securely clamped. These wheels will grab if they become slightly canted in the groove, and can kickback. When a cut-off wheel grabs, the wheel itself usually breaks. When the steel saw, high-speed cutters or tungsten carbide cutter grab, it may jump from the groove and you could lose control of the tool.
- SAFETY WARNINGS SPECIFIC FOR GRINDING AND ABRASIVE CUTTING-OFF OPERATIONS
- Use only wheel types that are recommended for your power tool and only for recommended applications. For example: Do not grind with the side of a cut-off wheel. Abrasive cut-off wheels are intended for peripheral grinding; side forces applied to these wheels may cause them to shatter.
- For threaded abrasive cones and plugs use only undamaged wheel mandrels with an unrelieved shoulder flange that are of correct size and length. Proper mandrels will reduce the possibility of breakage.
- Do not “jam” the cut-off wheel or apply excessive pressure. Do not attempt to make an excessive depth of cut. Overstressing the wheel increases the loading and susceptibility to twisting or binding of the wheel in the cut and the possibility of kickback or wheel breakage.
- Do not position your hand in line with and behind the rotating wheel. When the wheel, at the point of operation, is moving away from your hand, the possible kickback may propel the spinning wheel and the power tool directly at you.
- When the wheel is binding or when interrupting a cut for any reason, switch off the power tool and hold the power tool motionless until the wheel comes to a complete stop. Never attempt to remove the cut-off wheel from the cut while the wheel is in motion, otherwise kickback may occur. Investigate and take corrective action to eliminate the cause of wheel binding.
- Do not restart the cutting operation in the workpiece. Let the wheel reach full speed and carefully re-enter the cut. The wheel may bind, walk up or kickback if the power tool is restarted in the workpiece.
- Support panels or any oversized workpiece to minimize the risk of wheel pinching and kickback. Large workpieces tend to sag under their own weight. Supports must be placed under the workpiece near the line of cut and near the edge of the workpiece on both sides of the wheel.
- Use extra caution when making a “pocket cut” into existing walls or other blind areas. The protruding wheel may cut gas or water pipes, electrical wiring or objects that can cause kickback.
- SAFETY WARNINGS SPECIFIC FOR WIRE BRUSHING OPERATIONS
- Be aware that wire bristles are thrown by the brush even during ordinary operation. Do not overstress the wires by applying excessive load to the brush. The wire bristles can easily penetrate light clothing and/ or skin.
- Allow brushes to run at operating speed for at least one minute before using them. During this time no one is to stand in front or in line with the brush. Loose bristles or wires will be discharged during the run-in time.
- Direct the discharge of the spinning wire brush away from you. Small particles and tiny wire fragments may be discharged at high velocity during the use of these brushes and may become imbedded in your skin.
GENERAL
- This tool should not be used by people under the age of 16 years
- Only use this tool for applications without the use of water
- Always disconnect plug from power source before making any adjustment or changing any accessory
ACCESSORIES
- SKIL can assure flawless functioning of the tool only when original accessories are used
- Use only accessories recommended by SKIL
- For mounting/using non-SKIL accessories observe the instructions of the manufacturer concerned
- Use only accessories with an allowable speed matching at least the highest no-load speed of the tool
- Do not use damaged, deformed or vibrating accessories
- Handle and store grinding/cutting discs carefully to avoid chipping and cracking
- Protect accessories from impact, shock and grease
- Never use grinding discs over 32 mm (1 1/4”) Ø
- Never use drill bits over 3.2 mm (1/8”) Ø
- Never use a cutting disc for side grinding
- Never use reducors or adaptors to fit large-hole grinding/ cutting discs
BEFORE USE
- Always check that the supply voltage is the same as the voltage indicated on the nameplate of the tool (tools with a rating of 230V or 240V can also be connected to a 220V supply)
- Do not work materials containing asbestos (asbestos is considered carcinogenic)
- Secure the workpiece (a workpiece clamped with clamping devices or in a vice is held more securely than by hand)
- Use completely unrolled and safe extension cords with a capacity of 16 Amps (U.K. 13 Amps)
- Wear protective glasses and hearing protection 4, protective gloves and sturdy shoes; when necessary, also wear an apron
- Dust from material such as paint containing lead, some wood species, minerals and metal may be harmful
(contact with or inhalation of the dust may cause allergic reactions and/or respiratory diseases to the operator or bystanders); wear a dust mask and work with a dust extraction device when connectable - Certain kinds of dust are classified as carcinogenic (such as oak and beech dust) especially in conjunction with additives for wood conditioning; wear a dust mask and work with a dust extraction device when connectable
- Follow the dust-related national requirements for the materials you want to work with
- Ensure that the collet size corresponds with the shaft size of the accessory
- Be sure tool is switched off when plugging in
DURING USE
- Use auxiliary handle(s), if supplied with the tool (loss of control can cause personal injury)
- Hold power tool by insulated gripping surfaces, when performing an operation where the cutting accessory may contact hidden wiring or its own cord (a cutting accessory contacting a “live” wire may make exposed metal parts of the power tool “live” and could give the operator an electric shock)
- Always keep the cord away from moving parts of the tool; direct the cord to the rear, away from the tool
- Never use the tool when cord is damaged; have it replaced by a qualified person
- Never use spindle lock while tool is running (damage due to improper handling will be excluded from the guarantee)
- Keep hands away from rotating accessories
- When grinding metal, sparks are generated; keep other persons and combustible material from work area
- Keep the ventilation slots uncovered while working
- In case of electrical or mechanical malfunction, immediately switch off the tool and disconnect the plug
AFTER USE
- The accessory continues to rotate for a short time after the tool has been switched off
- Before you put down the tool, switch off the motor and ensure that all moving parts have come to a complete standstill
- After switching off the tool, never stop the rotation of the accessory by a force applied against it
- Store tool in locations where temperature will not exceed 50°C
WHEN CONNECTING NEW 3-PIN PLUG (U.K. ONLY): - Do not connect the blue (= neutral) or brown (= live) wire in the cord of this tool to the earth terminal of the plug
- If for any reason the old plug is cut off the cord of this tool, it must be disposed of safely and not left unattended
USE
- Changing accessories

- switch off the tool and disconnect the plug
- ensure that collet size corresponds with shaft size of accessory
- push spindle-lock button B and hold it while you turn collet nut D by hand until the spindle lock prevents further rotation and loosen collet nut D with wrench E
- insert an accessory in collet C as far as possible to minimize run-out and unbalance
- push spindle-lock button B and hold it while you tighten collet nut D with wrench E
- avoid excessive tightening of collet nut D
- never tighten collet nut, if there is no accessory in collet; collet may be damaged
- Changing collets

- switch off the tool and disconnect the plug
- push spindle-lock button B and hold it while you remove collet nut D
- remove collet C
- insert new collet
- never tighten collet nut, if there is no accessory in collet; collet may be damaged
- Before using the tool
- ensure that accessory is correctly mounted and firmly tightened
- check if accessory runs freely by turning it by hand
- test-run tool for at least 30 seconds at highest no-load speed in a safe position
- stop immediately in case of considerable vibration or other defects and check tool to determine the cause
- On/off switch

- switch on/off the tool by pushing knob A in “I”/”O” position
before the accessory reaches the workpiece, the tool should run at full speed
before switching off the tool, you should lift it from the workpiece
- switch on/off the tool by pushing knob A in “I”/”O” position
- Speed control Fig 8
For optimal results on different materials- select speed with wheel G (also while tool is running)
- use table 9 as reference for determining the right speed

- before starting a job, find the optimal speed by testing out on spare material
after longer periods of working at low speed, allow the tool to cool down by running it for approximately 3 minutes at high speed with no load
- Holding and guiding the tool

- pencil grip for precision work (engraving)
- one-hand grip for less precise work (grinding)
- support grip for additional control/comfort
- do not apply too much pressure on the tool; let the speed do the work for you
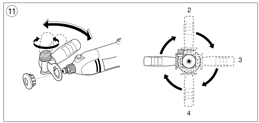
- Support grip !

- can be adjusted as illustrated
- can be mounted in 4 different positions
- Spot light (not standard included)

Switch on/off spotlight J by turning knob K counter-clockwise/clockwise
• Flexible shaft (not standard included)
- mount flexible shaft as illustrated
- use flexible shaft for hard-to-reach places Changing accessories when using flexible shaft

- pull sleeve L down (= lock spindle) and hold it while you turn collet nut D by hand until the spindle lock prevents further rotation and loosen collet nut D with wrench E
- insert an accessory in collet C
- pull sleeve L down (= lock spindle) and hold it while you tighten collet nut D with wrench E
- Mounting stand (not standard included)

- mount stand on a workbench or table-top with a maximum thickness of 60 mm
- adjust the height of the stand by turning tubes M counter-clockwise, pulling them to the desired height, and turning them clockwise
- adjust the height of suspension bracket N by loosening knob P, adjusting the suspension bracket to the desired height, and tightening knob P
- attach tool to suspension bracket with hook Q
- Assembly of specific accessories

MAINTENANCE / SERVICE
- This tool is not intended for professional use
- Always keep tool and cord clean (especially ventilation slots H 2)
! disconnect the plug before cleaning - If the tool should fail despite the care taken in manufacturing and testing procedures, repair should be carried out by an after-sales service centre for SKIL power tools
- send the tool undismantled together with proof of purchase to your dealer or the nearest SKIL service station (addresses, as well as the service diagram of the tool, are listed on www.skil.com)
ENVIRONMENT
- Do not dispose of electric tools, accessories, and packaging together with household waste material (only for EU countries)
- in observance of European Directive 2012/19/EC on the waste of electric and electronic equipment and its implementation in accordance with national law, electric tools that have reached the end of their life must be collected separately and returned to an environmentally compatible recycling facility
- symbol & will remind you of this when the need for disposing occurs

DECLARATION OF CONFORMITY
- We declare under our sole responsibility that the product described under “Technical data” is in conformity with the following standards or standardization documents: EN 60745, EN 61000, EN 55014, in accordance with the provisions of the directives 2004/108/EC, 2006/42/EC, 2011/65/EU, 2009/125/EC (EU regulation 1194/2012)
- Technical file at: SKIL Europe BV (PT-SEU/ENG1), 4825 BD Breda, NL

NOISE/VIBRATION
- Measured in accordance with EN 60745 the sound pressure level of this tool is 71 dB(A) (standard deviation: 3 dB) and the vibration 2.9 m/s² (hand-arm method; uncertainty K = 1.5 m/s²)
- The vibration emission level has been measured in accordance with a standardized test given in EN 60745; it may be used to compare one tool with another and as a preliminary assessment of exposure to vibration when using the tool for the applications mentioned
- using the tool for different applications, or with different or poorly maintained accessories, may significantly increase the exposure level
- the times when the tool is switched off or when it is running but not actually doing the job may significantly reduce the exposure level
protect yourself against the effects of vibration by maintaining the tool and its accessories, keeping your hands warm, and organizing your work patterns.

































