SEAGATE 3EYAP1-RA1 STKU400 Lyve™ Mobile Mount User Guide

Lyve™
Mobile Mount
Mobile PCIe Adapter

Part List

Setup Requirements
Lyve Management Portal credentials
A Lyve Management Portal username and password are required to authorize computers to access devices connected to the PCIe Adapter.
Account manager
You created a Lyve Management Portal username and password when you set up your Lyve account at lyve.seagate.com.
Product admin or product user
You were identified as a product user for a project created in the Lyve Management Portal. An email was sent to you from the Lyve team that included a link for resetting your password.
If you can’t remember your credentials or you lost your email invitation, visit lyve.seagate.com. Click Sign in and then click the Don’t remember your password? link. If your email isn’t recognized, contact your account manager. For further help, you can contact customer support using the Lyve Virtual Assist Chat.
Download Lyve Client
To unlock and access Lyve devices connected to your computer, you must enter your username and password in the Lyve Client app. You can also use it to manage Lyve projects and data operations. Install Lyve Client on any computer intended to connect to Lyve Mobile PCIe Adapter. Download the Lyve Client installer for Windows® or macOS® at www.seagate.com/support/lyve-client.
Authorize host computers
An internet connection is required when authorizing a host computer.
- Open Lyve Client on a computer intended to host Lyve Mobile Array.
- When prompted, enter your Lyve Management Portal username and password.
Lyve Client authorizes the host computer to unlock and access Lyve devices and manage projects on the Lyve Management Portal.
The host computer remains authorized for up to 30 days, during which you can unlock and access connected devices even without an internet connection. After 30 days, you’ll need to open Lyve Client on the computer and re-enter your credentials.
Lyve Mobile Array locks when powered off, ejected or unplugged from the host computer, or if the host computer goes to sleep. Use Lyve Client to unlock Lyve Mobile Array when it is reconnected to the host or the host has awakened from sleep. Note that Lyve Client must be open and the user must be signed in to use Lyve Mobile Array.
Mounting slots
Lifting hazard. The following instructions include moving and installing heavy equipment. To avoid injury, always use proper lifting techniques.
Do not attempt to lift or assemble Lyve Mobile Mount with compatible devices inserted.
Before installing Lyve Mobile PCIe Adapter, ensure that Lyve Mobile Mount is securely fixed to a vehicle, apparatus, or structure to avoid excessive motion. Attach Lyve Mobile Mount to the appropriate surface by inserting M6-0.1 x L20 (10.0,6) socket cap screws into any of the M6 tap holes on the bottom of the mount. Use at least four screws to secure the mount (two at the front of the mount, and two at the back).

Recommended clearance zones

Connecting Lyve Mobile Mounts Vertically
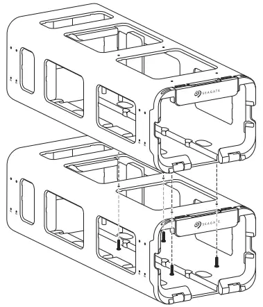
Stack two Lyve Mobile Mounts and align the four attachment holes on the top and bottom of the mounts. Use four M3-0.5 x L16 (5.8,1.0) screws to attach the two mounts.

Connecting Lyve Mobile Mounts Horizontally
Place two Lyve Mobile Mounts side-by-side and align the eight attachment holes on the sides of the mounts. Use eight M3-0.5 x L7 (5.8,1.0) screws to attach the two mounts.

Installation
- Insert adapter
Slide Lyve Mobile PCIe Adapter onto the guide pins at the back of Lyve Mobile Mount.
- Attach shoulder screw
Insert the shoulder screw into the hole and tighten it.
- Connect power
A Snap the locking bracket onto the power cable.
B Insert the power cable into the PCIe Adapter’s power port.
C Confirm that the power cable is well connected.
D Slide the locking bracket forward and clip it on the beveled rim on PCIe Adapter.
- Connect cables
Connect the cables to PCIe Adapter:
• Ethernet*: Device configuration
• SFF-8644: Data
* Ethernet cable not included
(Optional) Secure cables
Standard cable ties can be used to fasten the attached cables to the bracket at the back of Lyve Mobile Mount.
(Optional) Route cables through the front of Lyve Mobile Mount
You can route cables through the front of Lyve Mobile Mount using the internal channel that runs the length of the mount. Five plastic cable holder covers are provided to secure the cables in the channel. To attach a cover, insert the rounded tab into a notch on the right side of the channel. Snap the hooked release tab into the corresponding slot on the left of the channel.
- Release handle
A Grasp the lock catch on the front of Lyve Mobile Mount and pull it forward to release the front lock bezel.
B Lower the front lock bezel to open Lyve Mobile Mount.
- Insert device
Insert the device with the ports facing the PCIe Adapter at the back of Lyve Mobile Mount. Slide the device toward the back of the mount. Apply firm pressure until the device is seated in Mobile Mount and firmly connected to the PCIe Adapter.
Lifting hazard. To avoid injury, use proper lifting techniques when removing Lyve Mobile Array from its packaging and installing it in Lyve Mobile Mount.
Lyve Mobile Array weight: 27.8 lb/12.6 kg
- Lock device in place
Raise the front lock bezel until it snaps in place.
- Unlock the drive
The LED on the device inserted in Lyve Mobile Mount blinks white during the boot process and turns solid orange. The solid orange LED color indicates the device is ready to be unlocked.
Make sure the Lyve Client app is running on the host computer. The host computer will automatically unlock the device if it connected to it in the past and is still authorized for security. If the host computer has never unlocked the device, you will need to enter your Lyve Management Portal username and password in the Lyve Client app.
Once Lyve Client has validated permissions for the device connected to the computer, the LED on the device turns solid green. The device is unlocked and ready for use.
Safely removing a device
Your computer must perform filing and housekeeping operations on your Lyve device before it is physically removed from Lyve Mobile Mount. To avoid corrupting or damaging files, always eject the device’s volumes from your computer before physically removing the device.
Secure lock catch
The front lock bezel and lock catch can be secured with a padlock*. Insert the padlock shackle through the openings to the right or left of the catch plate.

* Padlock not included.
![]()
www.seagate.com/lyve-pcie-manual
![]()
www.seagate.com/support/pcie-adapter
FCC DECLARATION OF CONFORMANCE
This device complies with Part 15 of the FCC Rules. Operation is subject to the following two conditions: (1) this device may not cause harmful interference, and (2) this device must accept any interference received, including interference that may cause undesired operation.
CLASS B
This equipment has been tested and found to comply with the limits for a Class B digital device, pursuant to Part 15 of the FCC Rules. These limits are designed to provide reasonable protection against harmful interference in residential installation. This equipment generates, uses, and can radiate radio frequency energy and, if not installed and used in accordance with the instructions, may cause harmful interference to radio communications.
However, there is no guarantee that interference will not occur in a particular installation. If this equipment does cause harmful interference to radio or television reception, which can be determined by turning the equipment off and on, the user is encouraged to try to correct the interference by one or more of the following measures:
- Reorient or relocate the receiving antenna.
- Increase the separation between the equipment and receiver.
- Connect the equipment into an outlet on a circuit different from that to which the receiver is connected.
- Consult the dealer or an experienced radio/TV technician for help.
CAUTION: Any changes or modifications made to this equipment may void the user’s authority to operate this equipment.




© 2022 Seagate Technology LLC. All rights reserved. Seagate, Seagate Technology and the Spiral logo are registered trademarks of Seagate Technology LLC in the United States and/or other countries. Lyve is either a trademark or registered trademark of Seagate Technology LLC or one of its affiliated companies in the United States and/ or other countries. The PCIe word mark and/or PCIExpress design mark are registered trademarks and/or service marks of PCI-SIG. All other trademarks or registered trademarks are the property of their respective owners. Complying with all applicable copyright laws is the responsibility of the user. Seagate reserves the right to change, without notice, product offerings or specifications.
Seagate Technology LLC., 47488 Kato Road, Fremont, CA 94538 USA www.seagate.com
Seagate Technology NL B.V., Tupolevlaan 105, 1119 PA Schiphol-Rijk NL
Seagate Technology NL B.V. (UK Branch), Jubilee House, Globe Park, 3rd Ave, Marlow SL7 1EY, UK
Seagate Singapore International Headquarters Pte. Ltd., 90 Woodlands Avenue 7 Singapore 737911
PN: 203651600 03/22



























![Seagate Barracuda [st5000lm000-2u8170, St4000lm024-2u817v] User Manual Seagate Barracuda [st5000lm000-2u8170, St4000lm024-2u817v] User Manual](https://static-data1.manualsee.com/1/img/37/16952/2020/12/ST5000LM000-2U8170-1568x1568.jpg)

