
CS-SHADE-ROLLER-BATT
Quick Start
The Crestron® CS-SHADE-ROLLER-BATT with CSA-DECOR3-BRKT shade mounting brackets allow Crestron shades to be mounted on a wall, ceiling, pocket, or window jamb. The adjustable mounting brackets allow adjustments to the shade installation without removing the mounting brackets from the wall.
Shade Mounting
The CSA-DECOR3-BRKT Series shade brackets are mounted to the wall or window jamb using the two supplied brackets. The end caps (optional) and roller shade assembly then attach to the brackets.
CAUTIONS:
- There is risk of personal injury and equipment damage if the shade or associated parts fall during mounting. Use care when mounting. Use proper mounting hardware for the mounting surface (for example, screws or bolts) when securing the brackets to the surface.
- Two or more people are required to properly mount the shades. Three or more people are required to properly mount large shades and medium-sized coupled shades.
NOTES:
- The screws provided with the mounting brackets are intended for use on walls (or jambs) with wood or metal blocking. These screws should not be used for hollow drywall or masonry installations. It is the responsibility of the installer to make sure that the mounting method used is secure.
- Ensure that all mounting brackets are level and on the same plane.
- All shades must be aligned along a single axis (no off-angle positioning).
Mount the Brackets
- Check for a proper fit by holding the roller shade assembly in the approximate mounting location. If using a fascia, use the fascia to measure the proper distance between mounting brackets. The brackets should be mounted flush with the end of the fascia.
- Mark the locations of the brackets and make sure that the mounting points are level and on the same plane. Use a laser level or snap a chalk line to mark the locations of the brackets. The brackets should be spaced according to the specifications on the order form.
NOTE: End caps are used only when the shade is outside mounted and fascia is used. If inside mounted, end caps are not required unless the shade brackets protrude from the window opening. Adding end caps for an inside mount increases the light gap. - If using end caps, attach them to the mounting brackets according to their stamped directions. The end caps snap into place.
- Mount the brackets to the outside of the window frame (outside mount) or the inside of the window frame (inside mount). Use hardware that is appropriate for the mounting surface. Make sure the brackets are level and mounted to a flat surface.
• The idler bracket mounts on the right-side of the window opening.
• The motor bracket mounts on the left-side of the window opening.
NOTES:
• The stamped L and R should face the wall and window.
• For inside mounts, secure the mounting brackets into the window jamb or the window header.
Inside Mount

Outside Mount

Mount the Roller Shade Assembly
CAUTIONS:
- There is risk of personal injury and equipment damage if the shade or associated parts fall during installation. Use care when mounting. Use proper mounting hardware (e.g., screws or bolts) for the mounting surface when securing the brackets to the surface.
- Proper installation of shades requires two or more people. Large shades and medium-sized coupled shades will require three people.
Once the mounting brackets are installed, mount the roller shade assembly:
- Insert the idler pin into the top of the keyhole on the right bracket, and slide it down into the keyhole. The idler pin sits on the vertical adjustment screw.
Insert the Idler Pin into the Keyhole
- Raise the motor end of the roller shade assembly to the motor bracket.
- Push the roller shade assembly toward the idler bracket to compress the spring on the idler pin.
- Push the tab on the motor assembly into the hole in the motor bracket. When the shade is properly seated, the two clips spring down to secure the motor to the bracket. Make sure that the shade is properly mounted before letting go.
Secure the Motor to the Motor Bracket

Maneuver the motor end into the bracket slot. Plastic clips lock the motor into the motor bracket when it is fully inserted into the motor bracket.
Pull the motor gently to ensure that the motor is securely locked in place.
Adjust the Roller Shade Assembly
Once the roller shade assembly is mounted, make adjustments to level the shade and center it in the opening.
WARNINGS:
- Care has been taken to make sure that the shade is properly balanced. Prior to initial operation, please confirm that the brackets have been adjusted so that the shade hangs level and plumb. Upon startup, run the shade all the way down and check for plumb. Observe the shade closely as it rolls up. If the shade begins to telescope, stop immediately and take the appropriate action to make sure that the shade tracks properly. To prevent damage to the fabric from telescoping, do not leave the shade unattended during the first few cycles of operation. Failure to follow these instructions may result in damage to the edge of the fabric, which is not covered by the warranty.
- If the roll-up diameter is close to the maximum allowance, do not use the vertical adjustment screw to level the shade. The fabric may come in contact with the bracket, fascia, or other hardware, which may cause damage to the fabric. Remount the bracket to level the shade.
Situations that may cause telescoping:
- The shade is not perfectly level.
- The shade may bump into objects while traveling up or down.
- The HVAC ductwork is blowing on the shade, or air is coming in through a window.
- A foreign object is stuck to the shade fabric (for example tape, bugs, dust, etc.).
Ways to prevent telescoping:
- Use the leveling features built into the shade brackets to make sure the shade is level. If the bracket adjustment is not enough to compensate, use a shim to level the system.
- Make sure that no obstructions exist near the window area that the shade could bump into while traveling (for example, latches, and cranks).
- Direct HVAC airflow away from the shade, and make sure that windows are closed while operating the shade.
- Lower the shade all the way down to the bare tube (the shade will need to be placed into Limit Setup mode to allow the shade to travel below its lower limit). Inspect the front and back of the shade to make sure that no foreign objects are stuck to the shade fabric.
Adjust the Roller Shade Assembly

If the shade is still telescoping, it can be re-shimmed by applying a small (1 in. x 1 in.) piece of tape to the end of the tube that the fabric should move toward. Make sure that the tape is placed on the bare tube for best results. The shade must be rolled all the way down past its lower limit. To do this, place the shade motor into Limit Setup mode.
- If the fabric is telescoping to the left, place the tape on the right side of the tube.
- If the fabric is telescoping to the right, place the tape on the left side of the tube.
Swap the Idler and Motor Ends
The roller shade assembly can be mounted so that the idler and motor ends are located in the ends of the tube opposite where they were when received from the factory (i.e., the idler end is on the left and the motor end is on the right). When the idler bracket is mounted, the keyhole in the idler bracket must be parallel with the wall; the head of the adjustment screw must face down. The keyhole can be rotated so that it is in the correct orientation. Refer to the illustrations below for keyhole orientation based on mounting location. Swapping the hardware requires a Phillips screwdriver.
Left-Side Idler Bracket Wall Mount

Right-Side Idler Bracket Wall Mount

Left- or Right-Side Idler Bracket Ceiling or Header Mount

Rotate Keyhole: Right-Side Wall Mount to Ceiling Mount


Rotate Keyhole: Right-Side Wall Mount to Left Side Wall Mount


Swap the Roller Shade Idler and Motor
If the idler and motor brackets have been swapped, remove the motor and idler from the tube and remount in the opposite ends, allowing the fabric to roll off of the tube in its intended manner Swap the idler and motor ends of the roller shade.
- Remove the motor by pulling on the motor head.
- Use the idler removal tool to loosen the idler by rotating the idler counterclockwise. Pull the idler out of the tube.
- Insert the motor into the tube end opposite from where it was removed.
- Insert the idler into the tube end opposite from where it was removed.
- Use the idler removal tool to tighten the idler; rotate the idler clockwise two turns, and then tighten until snug. Pull on the idler to confirm it is properly secured.
Battery Pack
Insert Batteries
Use 8 D-cell batteries (1.5 V alkaline) to power the shade motor. The atteries must be new.
To insert batteries, follow these steps:
- Disconnect the battery pack cable from the motor.
- Remove the positive end of the battery pack. To remove, twist the cap counterclockwise.

- Insert 8 D-cell batteries into the battery pack. Follow the markings on the battery pack to ensure proper orientation.
- Replace the positive end of the battery pack. To replace, twist the cap clockwise.
- Connect the battery-pack cable to the motor.
Mount the Battery Pack
Mount the battery pack to a flat surface. The battery pack should be mounted on the same side of the shade as the motor and should be hidden from view by the shade fabric.
NOTE: The battery pack must be mounted horizontally.
To mount the battery pack, follow these steps:
- Secure the mounting bracket to the wall or window jamb using appropriate mounting hardware (not supplied). The motor side of the bracket must be mounted closest to the motor.

- The mounting bracket has two clips that hold the battery pack in place. Slide the battery pack onto the clips until it clicks into place.

- Connect the battery-pack cable to the motor.
Attach the Decorative Cover
Use the decorative cover to help hide the battery pack.
To attach the decorative cover, insert the tab on the end of the mounting bracket into the cover and then rotate the cover until it snaps into place.
Replace the Batteries
Use 8 D-cell batteries (1.5 V alkaline) to power the shade motor. The batteries must be new.
To replace the batteries, follow these steps:
- Disconnect the battery pack cable from the motor.
- Remove the positive end of the battery pack. To remove, twist the cap counterclockwise.

- Insert 8 D-cell batteries into the batter pack. Follow the markings on the battery pack to ensure proper orientation.
- Replace the positive end of the battery pack. To replace, twist the cap clockwise.
- Connect the battery-pack cable to the motor.
Motor Programming
The Crestron® digital CSM(I)-QMTDC shade motors are programmed locally using the buttons on the motor. The information in this guide serves as a detailed programming overview of the Crestron CSM (I)-QMTDC shade motors.
NOTE: The procedures described in this document can also be performed remotely using a control system. The timeout and LED indicators are the same as described in this document.
Controls and Indicators
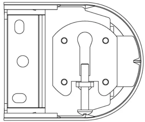
The Crestron CSM(I)-QMTDC shade motors have UP, SET, and DN (down) push buttons that are used to program the shade. The shade motors have a multicolor LED that lights red, amber, green, blue, or white to provide confirmation, operating mode, and error state feedback. The UP button is located closest to the LED, the SET button is the second button from the LED, and the DN button is the third button from the LED. Crestron CSM-QMTDC Motor Multicolor LED and Push Button Orientation
Crestron CSM-QMTDC Motor Multicolor LED and Push Button Orientation

Test the Shade
Before the shade is operated, test the motor to ensure that the shade travels in the correct direction when being operated.
NOTE: Before using the CSM(I)-QMTDC shade motor, ensure the device is using the latest firmware. Check for the latest firmware for the CSM (I)-QMTDC shade motor at www.crestron.com/firmware. Firmware is loaded onto the device using Crestron Toolbox™ software.
Test the Motor Direction
Press the DN button to lower the shade about 1 inch. If the shade travels up, reverse the motor direction.
NOTE: Reversing the motor direction resets all previously set limits. After either the upper or lower limit is set, the motor automatically enters Limit Setup mode for the opposite limit. Follow the procedure in Set the Shade Limits to reassign limits.
To reverse the shade direction, press and hold the SET button for 10 seconds. The red LED lights for 3 seconds.
Test the Shade Travel
Test the travel of the shade fabric to ensure that it does not come in contact with building materials and that the upper and lower shade limits are properly set.
WARNING: Care has been taken to ensure that the shade is properly balanced. Prior to initial operation, confirm that the brackets are adjusted so that the shade hangs level and plumb. Upon startup, run the shade all the way down and check for plumb. Observe the shade closely as it rolls up. If the shade begins to telescope, stop immediately and take the appropriate action to ensure the shade tracks properly. To prevent damage to the fabric from telescoping, do not leave the shade unattended during the first few cycles of operation. Failure to follow these instructions may result in damage to the edge of the fabric, which is not covered by the warranty.
NOTE: For Crestron Horizontal Sheers, the lower limit is defined as the point before the hem bar tilts.
To test the lower limit:
- Using the DN button, lower the shade until it reaches its lower limit. Stop and adjust the mounting brackets if the fabric contacts any building materials.
- Verify that the shade stops at the desired lower limit. If the shade does not travel to the desired lower limit, adjust the shade limits. For details, refer to Set the Shade Limits.
To test the upper limit:
- Using the UP button, raise the shade until it reaches its upper limit. Stop and adjust the mounting brackets if the fabric contacts any building materials.
- Verify that the shade stops at the desired upper limit. If the shade does not travel to the desired upper limit, adjust the shade limits. For details, refer to Set the Shade Limits.
Set the Shade Limits
If necessary, set the lower and upper shade limits. If the shade limits are not set, the red LED flashes three times, pauses for 1 second, flashes once, pauses for 5 seconds, and then repeats this code until the limits are set.
NOTES:
- Limit Setup mode exits after 8 seconds of inactivity.
- If a limit is not set after the upper or lower limit is saved, the motor automatically enters Limit Setup mode for the opposite limit. This typically occurs after the motor direction has been reversed and both limits are erased.
- For Crestron Horizontal Sheers, the lower limit is defined as the point before the hem bar tilts.
Set the lower limit for the shade:
- Press and hold the SET button for 4 seconds to enter Limit Setup mode. The LED alternates between amber and green.
- Press and release the DN button to begin lower limit setup. The green LED flashes.
- Use the UP and DN buttons to set the shade to its desired position.
- Press and hold SET for 4 seconds. The LED turns solid red to confirm that the lower limit was successfully set.
Set the upper limit for the shade:
- Press and hold SET for 4 seconds to enter Limit Setup mode. The LED alternates between amber and green.
- Press and release the UP button to begin upper limit setup. The amber LED flashes.
- Use the UP and DN buttons to set the shade to its desired position.
- Press and hold SET for 4 seconds. The LED turns solid red to confirm that the upper limit was successfully set.
Joining a Wireless Network (Wireless Motors Only)
The device connects to the Crestron network using the SG wireless communications protocol. Use the procedures outlined below to join or leave the wireless network and to verify communications between the device and the control system.
Joining the Wireless Network
To join the wireless network, follow these steps:
NOTE: A device can be acquired by only one gateway.
- Put the gateway into Acquire mode from the unit itself or from Crestron Toolbox, as described in its manual at www.crestron.com/manuals. NOTE: In an environment where multiple gateways are installed, only one gateway should be in Acquire mode at any time.
- Place the device into Acquire mode.
a. Press the SET button three times, and then press and hold it down (tap-tap-tap-press+hold) until the white LED on the device flashes once (this can take up to 10 seconds).
b. Release the button to start the acquire process. The LED flashes slowly to show that the device is actively scanning the network.
• The LED turns on for 5 seconds to show that the device joined the wireless network.
• The LED flashes quickly to show that the device failed to join the wireless network. Press the SET button to acknowledge the failure. Ensure the gateway is in Acquire mode and within range before attempting the acquire process again. - Once all devices have been acquired, take the gateway out of
Acquire mode. Refer to the gateway’s manual for details.
Leaving a Wireless Network
To leave a wireless network, put the device into Acquire mode, as described in Joining the Wireless Network when no gateway is in Acquire mode.
Verifying Communications Status
To check the communications status of the device, tap the SET button three times and then press and hold it down (tap-tap-tap-press+hold) for up to 2 seconds. The LED flashes to indicate the communications status. Refer to the following table for details.
| LED | Communications Status |
| Turns on for 5 seconds | The device is communicating with the control system. |
| Flashes twice | The device was previously joined to the network but is not communicating with the gateway. |
| Flashes once | The device is not joined to the network. |
LED Diagnostics
The LED flashes to provide a visual reference that the motor is operating normally or if it is in an error state.
Normal Operation
The following table provides a list of possible LED patterns encountered during normal operation. All LEDs extinguish after 1 minute of inactivity if
there are no errors to report.
LED Patterns
| LED Pattern | LED Color | Operating Mode |
| Two fast flashes, then pause (1/8-second on, 1/8-second off, 1/8-second on, 5/8-second off) | Blue | A firmware upgrade over the Cresnet® network is in progress. |
| Slow flash (1/2-second on, 1/2-second off) | Blue | The motor’s internal firmware upgrade is in progress. |
| Solid | Blue | The motor is in Bootloader mode. |
| Fast flash (1/4-second on, 1/4-second off) | White | The motor is in Identify mode. |
| Slow flash (1/2-second on, 1/2-second off) | Green | The motor is moving from a local button press. |
| Solid | Green | The motor is communicating with the control system program. |
| Slow flash (1/2-second on, 1/2-second off) | Red | The motor is not communicating with the control system. |
Error State
Crestron CSM(I)-QMTDC motors display error codes using the red LED on the interface. The LED flashes a pattern to indicate the error.
For example, when a 3-3 LED flash pattern occurs, the LED flashes three times, pauses for 1 second, flashes three times, pauses for 5 seconds, and then repeats until the error is corrected. When a 2-1 LED flash pattern occurs, the LED flashes two times, pauses for 1 second, flashes once, pauses for 5 seconds, and then repeats this code until the error is corrected.
The flash patterns are listed in the following table. Refer to Troubleshooting for possible corrections.
LED Blinking Patterns
| LED Error Code | Error State |
| 03-1 | The motor limits are not set. |
| 03-3 | An obstruction is blocking the shade fabric from moving freely. |
| 03-4 | A motor over-current error exists. Check for obstacles or any sources of excessive friction. |
| 03-5 | A motor duty-cycle error exists. Reduce the operating duty cycle of the motor to correct the error. |
| 03-6 | There is a communications error between the motor and Cresnet or wireless control board. |
| 02-1 | There is no traffic on the network. Check to ensure that proper Cresnet wiring is maintained, or for wireless devices, ensure that the motor is connected to a gateway. |
| 02-2 | The motor is not being polled by the control system. Ensure that the Net ID matches the control system program and that the program is running on the control system. |
Troubleshooting
The following table provides corrective action for possible trouble situations. If further assistance is required, please contact a Crestron customer service representative.
Crestron CSM(I)-QMTDC Motor Troubleshooting
| Trouble | Possible Cause(s) | Action |
| The motor cannot be controlled, and all of the LEDs are off. | There is no power provided to the motor. | Check the power connections between the power supply and motor. |
| The power connection is reversed between the motor and the power supply. | Ensure that the power connection to the motor is not reversed. | |
| The motor moves in the opposite direction. | The motor direction is reversed. | Reverse the direction of the motor. |
| The motor intermittently stops working. | The motor is exceeding its maximum duty cycle. | Reduce the duty cycle of the motor operation. |
| The motor is encountering an obstacle or excessive friction, which is causing it to stop. | Verify that all components are aligned and running smoothly. | |
| The load on the motor is exceeding its maximum rating. | Verify that the fabric weight and tube size do not exceed the rating for the motor. | |
| The LED is blue. | The motor is stuck in the bootloader. | Reload firmware to the motor. |
Additional Information
Original Instructions
The U.S. English version of this document is the original instructions.
All other languages are a translation of the original instructions. Regulatory Model: [[[Undefined variable TP-Variables.RegulatoryModel]]] Crestron product development software is licensed to Crestron dealers and Crestron Service Providers (CSPs) under a limited nonexclusive, nontransferable Software Development Tools License Agreement. Crestron product operating system software is licensed to Crestron dealers, CSPs, and end-users under a separate End-User License Agreement. Both of these Agreements can be found on the Crestron website at www.crestron.com/legal/software_license_agreement.
The product warranty can be found at www.crestron.com/warranty.
The specific patents that cover Crestron products are listed at www.crestron.com/legal/patents.
Certain Crestron products contain open source software. For specific information, visit www.crestron.com/opensource.
Crestron, the Crestron logo, Cresnet, infiNET EX, QMT, and Quiet Motor Technology are either trademarks or registered trademarks of Crestron Electronics, Inc. in the United States and/or other countries. Other trademarks, registered trademarks, and trade names may be used in this document to refer to either the entities claiming the marks and names or their products. Crestron disclaims any proprietary interest in the marks and names of others. Crestron is not responsible for errors in typography or photography.
©2021 Crestron Electronics, Inc. Doc. 7821F
03/05/21
Crestron Electronics, Inc. 15 Volvo Drive, Rockleigh, NJ 07647 Tel: 888.CRESTRON Fax: 201.767.7656 www.crestron.com
Product Information – Doc. 8675A (2055416) 08/12/20
CSA-DECOR3 Series
Shade Motor and Hardware for CSA-DECOR3 Series Brackets
Getting Started
Scan the QR code to view the Quick Start Guide.
For additional information about the Crestron® CSA-DECOR3, visit https://www.crestron.com/en-US/Products/Shades/Roller-ShadeSystems/Hardware/CSS-DECOR3.
Certification and Compliance
The following Crestron® CSM-QMTDC series shade motors are designed to operate with CSS-DECOR3 series shade mounting hardware:
- CSM-QMTDC-163-Y-EX
- CSM-QMTDC-163-Y-CN
- CSM-QMTDC-163-1-SG
- CSMI-QMTDC-163-Y-EX
For proper installation, operation, and maintenance of these products, refer to the corresponding Crestron manual located at www.crestron.com/manuals.
Observe the following:
- This appliance is not intended for use by persons (including children) with reduced physical, sensory or mental capabilities, or lack of experience and knowledge unless they have been given supervision or instruction concerning use of the appliance by a person responsible for their safety.
- Children should be supervised to ensure that they do not play with the appliance.
- Use Crestron power supplies only.
- The shade motor must only be supplied safety extra-low voltage (SELV) corresponding to the marking on the appliance.
- When performing service or replacing parts, be sure to disconnect the shade motor from its power source by removing the power plug. Label the plug location with a note indicating its location must be clearly visible while performing service.
- Do not allow children to play with fixed controls. Keep remote controls away from children.
- Examine the installation frequently for imbalance and signs of wear or damage to cables, springs, and fixings. Do not use if repair or adjustment is necessary.
- Do not operate when maintenance, such as window cleaning, is being carried out in the vicinity.
- Disconnect the drive from the supply, or switch off the automatic controls when maintenance, such as window cleaning, is being carried out in the vicinity.
- Do not use an extension cord. If the power supply cord is too short, have a qualified electrician install an outlet near the drapery operator.
- The A-weighted emission sound pressure level of the drive is less than 70 db(A).
WARNING: Important safety instructions. Follow all instructions since incorrect installation can lead to severe injury. - The device should be installed using compatible mechanical parts that are needed to couple the drive to the driven part.
NOTE: Mechanical parts are selected using the Crestron CDTapplication. A list of parts are also available on the Crestron website at www.crestron.com. - Before installing the drive, remove any unnecessary cords or components and disable any equipment not needed for powered operation.
- Install the actuating member of any manual release at a height less than 5.91 ft (1.8 m).
- The motor is intended to be installed at a height of at least 8.2 ft (2.5 m) above floor level or other access level.
For motors supplied without a driven part:
- The motor must be used with compatible parts at the rated load and operating time.
- The motor must be used with the correct diameter roller tube or the correct drapery track.
- Follow installation instructions supplied with the mounting brackets, motor, roller tube, and drapery track.
The following symbols are used on the product:
- Direct Current:

- Class III Appliance:

For Bracket Model: CSA-DECOR3
As of the date of manufacture, the product has been tested and found to comply with specifications for CE marking.
For Motor Models: CSM-QMTDC-163-Y-EX, CSMI-QMTDC-163-Y-EX
Industry Canada (IC) Compliance Statement
This device complies with Industry Canada licence-exempt RSS standard(s). Operation is subject to the following two conditions: (1) this device may not cause interference, and (2) this device must accept any interference, including interference that may cause undesired operation of the device.
Under Industry Canada regulations, this radio transmitter may only operate using an antenna of a type and maximum (or lesser) gain approved for the transmitter by Industry Canada. To reduce potential radio interference to other users, the antenna type and its gain should be so chosen that the equivalent isotropically radiated power (e.i.r.p.) is not more than that necessary for successful communication.
To satisfy RF exposure requirements, this device and its antenna must operate with a separation distance of at least 20 centimeters from all persons and must not be colocated or operating in conjunction with any other antenna or transmitter
For Motor Models: CSM-QMTDC-163-Y-CN, CSM-QMTDC-163-1-SG
Industry Canada (IC) Compliance Statement
CAN ICES-3 (B)/NMB-3(B)
For Motor Model: CSM-QMTDC-163-1-SG
Please note that any modifications to the device software or configuration, including but not limited to the init file(s), can cause device performance to vary beyond the scope of the currently referenced FCC authorization. Accordingly, if any user modifications are sought to be made to the device software or configuration, the user may be required to independently seek fresh FCC and other regulatory authorizations as relevant prior to distributing or marketing the devices or products incorporating the same.
IMPORTANT NOTE: To comply with ISED CANADA and FCC RF exposure compliance requirements, the antenna used for this transmitter must be installed to provide a separation distance of at least 20 cm from all persons and must not be co-located or operating in conjunction with any other antenna or transmitter.
This device contains licence-exempt transmitter(s)/receiver(s) that comply with Innovation, Science and Economic Development Canada’s licence-exempt RSS(s). Operation is subject to the following two conditions:
- This device may not cause interference.
- This device must accept any interference, including interference that may cause undesired operation of the device.
For All Motor Models
This product is Listed to applicable UL® Standards and requirements tested by Underwriters Laboratories Inc.
Federal Communications Commission (FCC) Compliance Statement This device complies with part 15 of the FCC Rules. Operation is subject to the following conditions:
- This device may not cause harmful interference and
- this device must accept any interference received, including interference that may cause undesired operation.
CAUTION: Changes or modifications not expressly approved by the manufacturer responsible for compliance could void the user’s authority to operate the equipment.
NOTE: This equipment has been tested and found to comply with the limits for a Class B digital device, pursuant to part 15 of the FCC Rules. These limits are designed to provide reasonable protection against harmful interference in a residential installation. This equipment generates, uses and can radiate radio frequency energy and, if not installed and used in accordance with the instructions, may cause harmful interference to radio communications. However, there is no guarantee that interference will not occur in a particular installation. If this equipment does cause harmful interference to radio or television reception, which can be determined by turning the equipment off and on, the user is encouraged to try to correct the interference by one or more of the following measures:
- Reorient or relocate the receiving antenna.
- Increase the separation between the equipment and receiver.
- Connect the equipment into an outlet on a circuit different from that to which the receiver is connected.
- Consult the dealer or an experienced radio/TV technician for help.
Legal
The product warranty can be found at www.crestron.com/warranty. The specific patents that cover Crestron products are listed at www.crestron.com/legal/patents.
Certain Crestron products contain open source software. For specific information, visit www.crestron.com/opensource.
Crestron and the Crestron logo are either trademarks or registered trademarks of Crestron Electronics, Inc. in the United States and/or other countries. UL and the UL logo are either trademarks or registered trademarks of Underwriters Laboratories, Inc. in the United States and/or other countries. Other trademarks, registered trademarks, and trade names may be used in this document to refer to either the entities claiming the marks and names or their products. Crestron disclaims any proprietary interest in the marks and names of others. Crestron is not responsible for errors in typography or photography.
©2020 Crestron Electronics, Inc.
Crestron Electronics, Inc.
15 Volvo Drive, Rockleigh, NJ 07647
Tel: 888.CRESTRON
Fax: 201.767.7656
www.crestron.com
Product Information – Doc. 8675A (2055416)
08/12/20![]()
References
Control Systems for Home Automation, Campus & Building Control by Crestron Electronics [Crestron Electronics, Inc.]
crestron.com/docs/7733
Search Results [Crestron Electronics, Inc.]
Patents [Crestron Electronics, Inc.]
Software License Agreements (Embedded Software and Software Tools) [Crestron Electronics, Inc.]
Search Results [Crestron Electronics, Inc.]
Open Source Software [Crestron Electronics, Inc.]
Standard Terms & Conditions and Warranties [Crestron Electronics, Inc.]
Control Systems for Home Automation, Campus & Building Control by Crestron Electronics [Crestron Electronics, Inc.]
Open Source Software [Crestron Electronics, Inc.]
Patents [Crestron Electronics, Inc.]
Software License Agreements (Embedded Software and Software Tools) [Crestron Electronics, Inc.]
Search Results [Crestron Electronics, Inc.]
Standard Terms & Conditions and Warranties [Crestron Electronics, Inc.]

























