makita HM0871C Demolition Hammer Instruction 
SPECIFICATIONS
| Model | HM0871C | HM0870C |
| Blows per minute | 1,100 – 2,650 min-1 | |
| Overall length | 466 mm | 449 mm |
| Net weight | 5.6 kg | 5.1 kg |
| Safety class | II | |
- Due to our continuing program of research and development, the specifications herein are subject to change without notice.
- Specifications may differ from country to country.
- Weight according to EPTA-Procedure 01/2003
Symbols
The following show the symbols used for the equipment. Be sure that you understand their meaning before use.
Read the instruction manual.
DOUBLE INSULATION
Only for EU countries
Do not dispose of electric equipment together with household waste material! In observance of European Directive 2002/96/EC on waste electric and electronic equipment and its implementation in accordance with national law, electric equipment that has reached the end of its life must be collected separately and returned to an environmentally compatible recycling facility.
Intended use
The tool is intended for chiselling work in concrete, brick, stone and asphalt as well as for driving and compacting with appropriate accessories.
Power supply
The tool should be connected only to a power supply of the same voltage as indicated on the nameplate, and can only be operated on single-phase AC supply. They are double-insulated in accordance with European Standard and can, therefore, also be used from sockets without earth wire.
For Model HM0871C
Noise
The typical A-weighted noise level determined according to EN60745:
Sound pressure level (LpA) : 86 dB(A)
Sound power level (LWA) : 97 dB(A)
Uncertainty (K) : 3 dB(A)
Wear ear protection
Vibration
The vibration total value (tri-axial vector sum) determined according to EN60745:
Work mode : chiseling function with side handle
Vibration emission (ah,CHeq) : 8.0 m/s2
Uncertainty (K) : 1.5 m/s2
Work mode : chiseling function with side grip
Vibration emission (ah,CHeq) : 8.0 m/s2
Uncertainty (K) : 2.0 m/s2
For Model HM0870C
Noise
The typical A-weighted noise level determined according to EN60745:
Sound pressure level (LpA) : 87 dB(A)
Sound power level (LWA) : 98 dB(A)
Uncertainty (K) : 3 dB(A)
Wear ear protection
Vibration
The vibration total value (tri-axial vector sum) determined according to EN60745:
Work mode : chiseling function with side handle
Vibration emission (ah,CHeq) : 11.0 m/s2
Uncertainty (K) : 1.5 m/s2
Work mode : chiseling function with side grip
Vibration emission (ah,CHeq) : 11.5 m/s2
Uncertainty (K) : 1.5 m/s2
- The declared vibration emission value has been measured in accordance with the standard test method and may be used for comparing one tool with another.
- The declared vibration emission value may also be used in a preliminary assessment of exposure.
WARNING:
- The vibration emission during actual use of the power tool can differ from the declared emission value depending on the ways in which the tool is used.
- Be sure to identify safety measures to protect the operator that are based on an estimation of exposure in the actual conditions of use (taking account of all parts of the operating cycle such as the times when the tool is switched off and when it is running idle in addition to the trigger time).
For European countries only EC Declaration of Conformity
We Makita Corporation as the responsible manufacturer declare that the following Makita machine(s):
Designation of Machine:
Demolition Hammer
Model No./ Type: HM0871C, HM0870C
are of series production and
Conforms to the following European Directives:
98/37/EC until 28th December 2009 and then with 2006/42/EC from 29th December 2009
And are manufactured in accordance with the following standards or standardised documents:
EN60745
The technical documentation is kept by our authorised representative in Europe who is:
Makita International Europe Ltd,
Michigan, Drive, Tongwell,
Milton Keynes, MK15 8JD, England
24th April 2009
Tomoyasu Kato
Director
Makita Corporation
3-11-8, Sumiyoshi-cho, Anjo, Aichi, JAPAN
General Power Tool Safety
Warnings
WARNING Read all safety warnings and all instructions. Failure to follow the warnings and instructions may result in electric shock, fire and/or serious injury.
Save all warnings and instructions for future reference.
The term “power tool” in the warnings refers to your mains-operated (corded) power tool or battery-operated (cordless) power tool.
Work area safety
- Keep work area clean and well lit. Cluttered or dark areas invite accidents.
- Do not operate power tools in explosive atmospheres, such as in the presence of flammable liquids, gases or dust. Power tools create sparks which may ignite the dust or fumes.
- Keep children and bystanders away while operating a power tool. Distractions can cause you to lose control.
Electrical safety - Power tool plugs must match the outlet. Never modify the plug in any way. Do not use any adapter plugs with earthed (grounded) power tools. Unmodified plugs and matching outlets will reduce risk of electric shock.
- Avoid body contact with earthed or grounded surfaces such as pipes, radiators, ranges and refrigerators. There is an increased risk of electric shock if your body is earthed or grounded.
- Do not expose power tools to rain or wet conditions. Water entering a power tool will increase the risk of electric shock.
- Do not abuse the cord. Never use the cord for carrying, pulling or unplugging the power tool. Keep cord away from heat, oil, sharp edges or moving parts. Damaged or entangled cords increase the risk of electric shock.
- When operating a power tool outdoors, use an extension cord suitable for outdoor use. Use of a cord suitable for outdoor use reduces the risk of electric shock.
- If operating a power tool in a damp location is unavoidable, use a residual current device (RCD) protected supply. Use of an RCD reduces the risk of electric shock.
- Use of power supply via a RCD with a rated residual current of 30mA or less is always recommended.
Personal safety - Stay alert, watch what you are doing and use common sense when operating a power tool. Do not use a power tool while you are tired or under the influence of drugs, alcohol or medication. A moment of inattention while operating power tools may result in serious personal injury.
- Use personal protective equipment. Always wear eye protection. Protective equipment such as dust mask, non-skid safety shoes, hard hat, or hearing protection used for appropriate conditions will reduce personal injuries.
- Prevent unintentional starting. Ensure the switch is in the off-position before connecting to power source and/or battery pack, picking up or carrying the tool. Carrying power tools with your finger on the switch or energising power tools that have the switch on invites accidents.
- Remove any adjusting key or wrench before turning the power tool on. A wrench or a key left attached to a rotating part of the power tool may result in personal injury.
- Do not overreach. Keep proper footing and balance at all times. This enables better control of the power tool in unexpected situations.
- Dress properly. Do not wear loose clothing or jewellery. Keep your hair, clothing, and gloves away from moving parts. Loose clothes, jewellery or long hair can be caught in moving parts.
- If devices are provided for the connection of dust extraction and collection facilities, ensure these are connected and properly used. Use of dust collection can reduce dust-related hazards.
Power tool use and care - Do not force the power tool. Use the correct power tool for your application. The correct power tool will do the job better and safer at the rate for which it was designed.
- Do not use the power tool if the switch does not turn it on and off. Any power tool that cannot be controlled with the switch is dangerous and must be repaired.
- Disconnect the plug from the power source and/or the battery pack from the power tool before making any adjustments, changing accessories, or storing power tools. Such preventive safety measures reduce the risk of starting the power tool accidentally.
- Store idle power tools out of the reach of children and do not allow persons unfamiliar with the power tool or these instructions to operate the power tool. Power tools are dangerous in the hands of untrained users.
- Maintain power tools. Check for misalignment or binding of moving parts, breakage of parts and any other condition that may affect the power tool’s operation. If damaged, have the power tool repaired before use. Many accidents are caused by poorly maintained power tools.
- Keep cutting tools sharp and clean. Properly maintained cutting tools with sharp cutting edges are less likely to bind and are easier to control.
- Use the power tool, accessories and tool bits etc. in accordance with these instructions, taking into account the working conditions and the work to be performed. Use of the power tool for operations different from those intended could result in a hazardous situation.
Service - Have your power tool serviced by a qualified repair person using only identical replacement parts. This will ensure that the safety of the power tool is maintained.
- Follow instruction for lubricating and changing accessories.
- Keep handles dry, clean and free from oil and grease.
HAMMER SAFETY WARNINGS
- Wear ear protectors. Exposure to noise can cause hearing loss.
- Use auxiliary handle(s), if supplied with the tool. Loss of control can cause personal injury.
- Hold power tool by insulated gripping surfaces, when performing an operation where the cutting accessory may contact hidden wiring or its own cord. Cutting accessory contacting a “live” wire may make exposed metal parts of the power tool “live” and could give the operator an electric shock.
- Wear a hard hat (safety helmet), safety glasses and/or face shield. Ordinary eye or sun glasses are NOT safety glasses. It is also highly recommended that you wear a dust mask and thickly padded gloves.
- Be sure the bit is secured in place before operation.
- Under normal operation, the tool is designed to produce vibration. The screws can come loose easily, causing a breakdown or accident. Check tightness of screws carefully before operation.
- In cold weather or when the tool has not been used for a long time, let the tool warm up for a while by operating it under no load. This will loosen up the lubrication. Without proper warm-up, hammering operation is difficult.
- 8. Always be sure you have a firm footing.
Be sure no one is below when using the tool in high locations. - Hold the tool firmly with both hands.
- Keep hands away from moving parts.
- Do not leave the tool running. Operate the tool only when hand-held.
- Do not point the tool at any one in the area when operating. The bit could fly out and injure someone seriously.
- Do not touch the bit or parts close to the bit immediately after operation; they may be extremely hot and could burn your skin.
- Do not operate the tool at no-load unnecessarily.
- Some material contains chemicals which may be toxic. Take caution to prevent dust inhalation and skin contact. Follow material supplier safety data.
SAVE THESE INSTRUCTIONS.
WARNING:
DO NOT let comfort or familiarity with product (gained from repeated use) replace strict adherence to safety rules for the subject product.
MISUSE or failure to follow the safety rules stated in this instruction manual may cause serious personal injury.
FUNCTIONAL DESCRIPTION
CAUTION:
- Always be sure that the tool is switched off and unplugged before adjusting or checking function on the tool.
caution:
- Before plugging in the tool, always check to see that the tool is switched off.
- Switch can be locked in “ON” position for ease of operator comfort during extended use. Apply caution when locking tool in “ON” position and maintain firm grasp on tool.
To start the tool, push the switch lever “ON (I)” on the left side of the tool. To stop the tool, push the switch lever “OFF (O)” on the right side of the tool.
Speed change
The blows per minute can be adjusted just by turning the adjusting dial. This can be done even while the tool is running. The dial is marked 1 (lowest speed) to 5 (full speed).
Refer to the table below for the relationship between the number settings on the adjusting dial and the blows per minute.
| Number on adjusting dial | Blows per minute |
| 5 | 2,650 |
| 4 | 2,400 |
| 3 | 1,750 |
| 2 | 1,300 |
| 1 | 1,100 |
CAUTION:
The speed adjusting dial can be turned only as far as 5 and back to 1. Do not force it past 5 or 1, or the speed adjusting function may no longer work.
For Model HM0871C only
NOTE:
- Blows at no load per minute becomes smaller than those on load in order to reduce vibration under no load, but this does not show trouble. Once operation starts with a bit against concrete, blows per minute increase and get to the numbers as shown in the table. When temperature is low and there is less fluidity in grease, the tool may not have this function even with the motor rotating.
- Power-ON indicator lamp (green)
- Service indicator lamp (red)
The green power-ON indicator lamp lights up when the tool is plugged. If the indicator lamp does not light up, the mains cord or the controller may be malfunction. The indicator lamp is lit but the tool does not start even if the tool is switched on, the carbon brushes may be worn out, or the controller, the motor or the ON/OFF switch may be malfunction.
The red service indicator lamp flickers up when the carbon brushes are nearly worn out to indicate that the tool needs servicing. After approx. 8 hours of use, the motor will automatically be shut off.
ASSEMBLY
CAUTION:
Always be sure that the tool is switched off and unplugged before carrying out any work on the tool.
Side handle (auxiliary handle) For tool with stick type side handle
- Side grip
The side grip swings around to either side, allowing easy handling of the tool in any position. Loosen the side grip by turning it counterclockwise, swing it to the desired position and then tighten it by turning clockwise.
For tool with D-shaped side handle 
- D-sided side handle
- Clamp nut
The side handle can be swung 360° on the vertical and secured at any desired position. It also secures at eight different positions back and forth on the horizontal. Just loosen the clamp nut to swing the side handle to a desired position. Then tighten the clamp nut securely.
Installing or removing the bit
Clean the bit shank and apply bit grease before installing the bit.
Insert the bit into the tool. Turn the bit and push it in until it engages.
If the bit cannot be pushed in, remove the bit. Pull the releasing cover down a couple of times. Then insert the bit again. Turn the bit and push it in until it engages.
After installing, always make sure that the bit is securely held in place by trying to pull it out.
To remove the bit, pull the releasing cover down all the way and pull the bit out.
The bit can be secured at 12 different angles. To change the bit angle, slide the change ring forward, then turn the change ring to change the bit angle. At the desired angle, slide the change ring back to the original position. The bit will be secured in place.
NOTE:
- The change ring cannot turn when the bit is not installed on the tool.
OPERATION
Always use the side grip (auxiliary handle) and firmly hold the tool by both side grip and switch handle during operations. Turn the tool on and apply slight pressure on the tool so that the tool will not bounce around, uncontrolled. Pressing very hard on the tool will not increase the efficiency.
MAINTENANCE
CAUTION:
- Always be sure that the tool is switched off and unplugged before attempting to perform inspection or maintenance.
- Never use gasoline, benzine, thinner, alcohol or the like. Discoloration, deformation or cracks may result.
Lubrication
CAUTION:
- This servicing should be performed by Makita Authorized Service Centers only.
This tool requires no hourly or daily lubrication because it has a grease-packed lubrication system. It should be lubricated every time the carbon brushes are replaced. Send the complete tool to Makita Authorized Service Center for this lubrication service.
Run the tool for several minutes to warm it up. Switch off and unplug the tool.
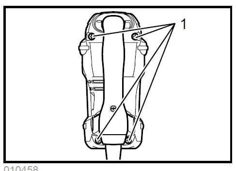
Loosen the four screws and remove the handle. Note that the top screws are different from other screws. 
- Connector
- White
- Black
Disconnect the connector by pulling them. 
- Crank cap cover
- Screwdriver
Loosen the four screws on crank cap and remove the crank cap cover. 
Wipe out the old grease inside and replace with a fresh grease (30 g). Use only Makita genuine hammer grease (optional accessory). Filling with more than the specified amount of grease (approx. 30 g) can cause faulty hammering action or tool failure. Fill only with the specified amount of grease.
CAUTION:
Be careful not to damage the connector or lead wires especially when wiping out the old grease. To reassemble the tool, follow the disassembling procedure in reverse.
CAUTION:
- Do not tighten the crank cap excessively. It is made of resin and is subject to breakage.
- Be careful not to damage the connector or lead wires especially when installing the handle.

- Connector
- White
- Black
Connect the connector firmly and then reinstall the handle.
To maintain product SAFETY and RELIABILITY, repairs, carbon brush inspection and replacement, any other maintenance or adjustment should be performed by Makita Authorized Service Centers, always using Makita replacement parts.
ACCESSORIES
CAUTION:
- These accessories or attachments are recommended for use with your Makita tool specified in this manual. The use of any other accessories or attachments might present a risk of injury to persons. Only use accessory or attachment for its stated purpose. If you need any assistance for more details regarding these accessories, ask your local Makita Service Center.
- Bull point (SDS-max)
- Cold chisel (SDS-max)
- Scaling chisel (SDS-max)
- Clay spade (SDS-max)
- Bit grease
- Safety goggles
- Hammer grease
- Plastic carrying case
Makita Corporation
Anjo, Aichi, Japan
www.makita.com12

























