TooQ Floor Support Stand with Wheels Screen TV

Read the entire instruction manual before you start installation and assembly. If you have any questions regarding any of the instructions or warnings, please contact your local distributor for assistance.
CAUTION
- Use with products heavier than the rated weights indicated may result in instability causing possible injury.
- Please closely follow the assembly instructions. Improper installation may result in damage or seriouspersonal injury.
- Safety gear and proper tools must be used. This product should only be installed by professionals.
- Make sure that the supporting surface will safely support the combined weight of the equipment and all attached hardware and components.
- Use the mounting screws provided and DO NOT OVER TIGHTEN mounting screws.
- This product contains small items that could be a choking hazard if swallowed. Keep these items away from children.
- This product is intended for indoor use only. Using this product outdoors could lead to product failure and personal injury.
Required for Installation



IMPORTANT: Ensure that you have received all parts according to the component checklist prior to installation. If any parts are missing or faulty, contact your place of purchase for a replacement.

Assembling the Base

Attach the right base to the middle base and secure with screws(Z). Repeat this step for the left base.
NOTE: Lock the brakes on the casters to avoid any unexpected movements during installation.
Each caster can be adjusted independently for fine tuning. Slightly turn the nut to lower or raise the base.
Adjusting the Columns

Attach the handle to the column marked with “1”.
Attach the handle to the column marked with “2” .
Turn the handle to make the inner column run upwards to the highest position. NOTE: With the “1” and “2” mark facing forward.
Attaching the Driving Rod to the Two Columns

Attaching the Columns to the Base

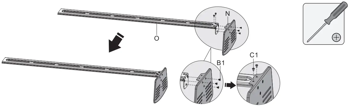
Installing the Crossbar

Installing the Universal Plate

Adjustment

Installing the Adapter Brackets

8a. Para pantallas planas – For Flat Back Screens


8b. Para pantallas con una parte trasera irregular. – For Screens with Irregular Back


Note: Choose the appropriate screws, washers and spacers (if necessary) according to the type of screen.
- Position the adapter brackets as close as possible to the center of the display.
- Screw the adapter brackets onto the display.
Tighten all screws but do not over tighten.
Hooking the Display onto the Universal Plate

- Hook the display onto the universal plate.
- Tighten the bottom screws to secure them.
IMPORTANT: Make sure the display is mounted correctly and the screws are tightened safely before releasing the display.
Installing the Camera Shelf

Attach the camera shelf to the connecting plate with the appropriate screws. Tighten all screws using a proper Phillips screwdriver.
Installing the DVD Shelf

Install the support bar to the columns at the desired position and secure using the appropriate screws.
Adjustment

Note: It is recommended to adjust the columns to the desired height before installing the display.
Maintenance
- Check if the bracket is secure and safe to use at regular intervals(at least every three months).
- Please contact your distributor if you have any questions.















