FONESTAR STS-4264N TV Floor Stand

IMPORTANT
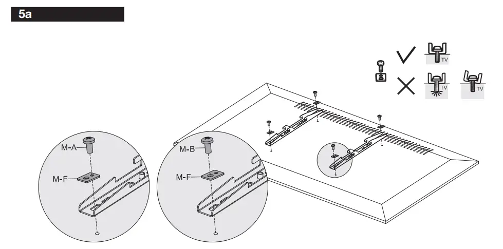
- Follow the installation recommendations in the instruction manual.
- To ensure that the mount holds the maximum weight, the installation surface must be completely flat and firm; make use of wheel locking elements whenever possible.
- FONESTAR does not hold itself responsible for damages or breakages resulting from the mount falling apart because it was incorrectly attached, or handled incorrectly.
ACCESSORIES INCLUDED




ASSEMBLY INSTRUCTIONS


































