allen roth KPD8901AX-01 Blidge Brushed Gold Traditional Alabaster Glass

ALLEN + ROTH and logo design are trademarks or registered trademarks of LF, LLC. All rights reserved.
MODEL/MODELO #KPD8901AX-01 GD/ KPD8901AX-01 BN
Thank you for purchasing this allen + roth product. We’ve created these easy-to-follow instructions to ensure you spend your time enjoying the product instead of putting it together. But, if you need more information than what is provided here, please visit Lowes.com, search the item number and refer to the Guides & Documents tab on the product’s page.
If you have any questions or problems, please call our customer service department at 866-439-9800, 8 a.m. – 8 p.m., EST, Monday – Sunday. You could also contact us at [email protected].
PREPARATION
Before beginning assembly of product, make sure all parts are present. Compare parts with package contents list and hardware contents list. If any part is missing or damaged, do not attempt to assemble the product.
Estimated Assembly Time: 20-30 minutes.
TOOLS REQUIRED
(NOT INCLUDED)/ HERRAMIENTAS NECESARIAS (no se incluyen):

FEELING CONFIDENT?
START YOUR NEXT PROJECT
- Visit lowes.com for more information.

TROUBLESHOOTING
| PROBLEM | POSSIBLE CAUSE | CORRECTIVE ACTION |
| Bulb will not light |
|
|
CARE AND MAINTENANCE
- Shut off main power before cleaning light with damp cloth or window cleaner. Do not use abrasive cleansers
WARRANT
- The manufacturer warrants all of its lighting fixtures against defects in materials and workmanship for one (1) year limited from the date of purchase.
SAFETY INFORMATION
Please read and understand this entire manual before attempting to assemble, operate or install the product.
WARNING
- Some metal parts in the fixture may have sharp edges. To prevent cuts and scrapes, wear gloves when handling the parts
- Account for small parts and destroy packing material, as these may be hazardous to children
- Assistance may be required to support fixture during installation.
CAUTION
- Connect fixture to supply wires rated for at least 167˚F.
- Workable for dimming circuits when using appropriate light bulbs with dimmable function.
PACKAGE CONTENTS


HARDWARE CONTENTS

INSTALLATION OVERVIEW

![]() | Turn off the power and remove existing fixture. |


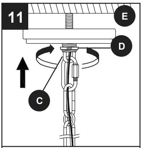
![]() | Unscrew nut D from screw collar loop C. Attach A to outlet box using AA. Temporarily place E through B to determine amount of adjustment necessary for B. Use pliers (not included) to tighten locking nut on B until locking nut touches A |

![]() | Temporarily place E through B to determine amount of adjustment necessary for B |



![]() | Unscrew the K/D rings F from chain G. Adjust chain G to desired length. Spread the chain link using standard pliers (not included) and screw driver (not included) and twist chain link in opposite direction and remove the extra chain lengths. |


![]() | Weave electrical wires and ground wire up chain G, through nut D, through canopy E, through the screw collar loop C, through threaded tube B, and into outlet box |
![]() | Feed wires. Twist stripped ends of the white, ribbed or tinned wire without writing from the fixture evenly against the white wire from the outlet box. Connect the black, smooth or un-tinned wire with writing from the fixture to the black wire from the outlet box in the same manner. Snip ends. Attach copper wire to ground wire |

![]() | Attach BB to connections with electrical tape (not included). |

![]() | Lift E up over C, securing in place with previously removed D |

![]() | Install light bulb(not included). Use 60-watt max. standard-base incandescent bulb or CFL/LED equivalents. |






















