
Installation Guide
LH7500
Version: 1.0
Date: Jan. 2019

Before Installation
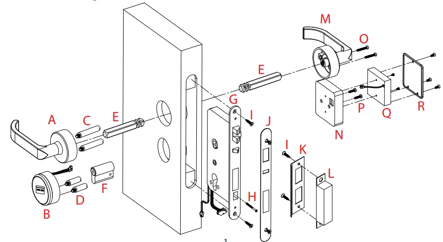
Lock Diagram
In the Box
Before you begin
1. Preparing door
| Door Thickness | O Screws | P Screws |
| 38 – 48 mm | 40 mm | 20 mm |
Note: If the door is thicker than 38-48 mm, this lock will not be available.
2. Determining Handing
The hand of a door is determined from the secure side of the door. The term “secure” means the side from which you unlock and enter.
Note: Please install the mortise (G) according to the above pictures.
Cautions
- The new lock is defined as always open mode until it was unlocked once by Mifare card.
- Please swipe the authorized card, time sync card, room card at first for the new lock.
- The lock is equipped with mechanical keys for manual unlocking. Remove the mechanical keys from the package and keep them in a safe place.
- To power on the lock, four alkaline AA batteries (not included) are required.
Non-alkaline and rechargeable batteries ARE NOT RECOMMENDED. - Do not remove batteries when the lock is in a working state.
- When battery power is low, the lock will beep to remind the user to renew the batteries.
Please do not mix up positive and negative while replacing the battery. - Avoid contacting with corrosive substances, and do not hang objects on the handle.
- The software within the lock manages the RFID cards, for more details refer to the software user manual.
- If there are any questions, please do not hesitate to contact the seller.
Installation
1. Drill holes on the door
Note 1: Align the template along the vertical centerline of the mortise (G) at the desired handle height, and tape it to the door.
2. Remove the mortise latch plate

Note 2: Mark the holes first, then start drilling.
Install mortise(G) and cylinder(F)
Install the coil spring and screw the stud
install exterior panel (A)
Install interior panel (N ) 
Fix with the mortise(G)
Mount handles
Install the battery
Mark and drill holes for strike
Test Lock by mechanical key (S)
Step1: Remove the cover on the keyhole with a sucker( T ).
Step2: Insert mechanical key (S) into the keyhole and rotate it at 90°.

© Copyright 2017. ZKTeco Inc. ZKTeco Logo is a registered trademark of ZKTeco or a related company. All other product and company names mentioned are used for identification purposes only and may be the trademarks of their respective owners. All specifications are subject to change without notice. All rights reserved.


install exterior panel (A)

Mount handles




















