GARDENA 1197 Water Distributor Automatic Instruction Manual
Translation of the original instructions from German.
Please read these operating instructions carefully and observe the information they contain. Use these operating instructions to familiarize yourself with the product, the proper use and the safety instructions.
For safety reasons, children and young people under the age of 16, as well as people not familiar with these operating instructions, should not use this product. Persons with reduced physical or mental abilities may use the product only if they are supervised or instructed by a responsible person. Children must be supervised to ensure that they do not play with the product. Never operate the product when you are tired, ill or under the influence of alcohol, drugs or medicine.
Where to use your GARDENA Water Distributor automatic
Correct use:
- In use with the GARDENA Water Computer Art. 1892, the Water Distributor automatic provides fully automatic control of 2 to 6 watering channels.
- It is suitable for private use in the home- and hobby garden exclusively outdoors for controlling sprinklers and irrigation control systems.
- Use of the Water Distributor automatic is particularly recommended if the water pressure is insufficient for simultaneous operation of irrigation accessories or -systems, or if several plant areas with varying water requirements are to be fully automatically irrigated.
- The Water Distributor automatic can be operated fully automatically in combination with a GARDENA Water Computer, or manually by opening / shutting the water tap.
- To operate the Water Distributor automatic correctly, these operating instructions must be followed.
Please note
DANGER ! Physical injury!
The Water Distributor may not be used for industrial use or in connection with chemicals, food or easily flammable or explosive materials.
Safety instructions
The Water Distributor automatic may be positioned at a maximum of 1.5 m lower than the highest connected accessory.
The minimum water pressure for secure switching operation during irrigation is 1 bar. If too many devices are connected to one line, the pressure may fall below 1 bar and will be insufficient for proper operation. To increase water pressure, we recommend the GARDENA Tap Connector Art. 2801 / 2817 with ³⁄₄” hoses on the inlet side.
Due to the switch mechanism of the Water Distributor, there may be drop formation during further switching at the outlets.
Please note: on completed irrigation, the higher-lying connecting device empties over the lowest-placed device.
For water containing sand, a pre-filter must be used.
The Water Distributor should not be connected to Pressure Tank Units as these present too large pressure fluctuations.
Functioning is only guaranteed with Original GARDENA accessories.
The individual outlets can only be operated one after the other.
For secure switching function of the Water Distributor, the minimum water discharge quantity is 20 l/h. E.g. for control of the Micro-Drip System, a minimum of 10 two litre Drip Heads is required.
The Micro-Drip Master Unit may not be installed on the inlet side of the Water Distributor.
Danger!
Small parts could be swallowed during assembly and there is a risk of suffocation from the poly bag. Keep infants away during assembly.
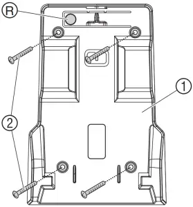
Assembly
Assemble mounting plate:

With the mounting plate 1, the Water Distributor can be mounted on the ground or on a wall (inlet on top).
- Using the mounting plate 1, mark the drill holes and drill the 4 holes.
- Screw the mounting plate tight with 4 screws 2 (not included).
Lock Water Distributor:
- From above, move the Water Distributor on the mounting plate 1 until it locks into place.
Unlock the Water Distributor:
- Press the release button R and pull the Water Distributor upwards.
Initial Operation
Connect Water Distributor:

Inlet side:
- Remove the rubber seal 4 from the Tap Connector 3 and replace with the filter 5.
- Screw the Tap Connector 3 onto the connection on the inlet side 6 and connect with a hose to the Water Computer or water tap.
Outlet side:
2 to 6 outlets may be used. Outlets 1 and 2 must always be used. The outlets 3 to 6 can be switched on using the flow levers 8. 5 Tap Connectors 3 and 3 end caps 7 are included. Outlets not being used must be closed with an end cap 7.
Setting flow lever On / Off:

- Open protection cover 9.
- Set flow levers 8 for used outlets (e.g. 3 and 4) on On.
- Set flow levers 8 for not-used outlets (e.g. 5 and 6) on Off.
- Close protection cover 9 and lock-in.
Connect used / not-used outlets:
- Screw Tap Connectors 3 onto the used outlets (e.g. 1 to 4).
- Close not-used outlets (e.g. 5 and 6) with end caps 7.
- Connect used outlets 1 to 4 with the devices.

Important:
The flow levers (On / Off) must match up with the outlets (used / not-used).
The programmed numbers of the Water Computer must match up with the outlets in use.
Operation
Set open outlet on the Water Distributor:

Behind the viewing window 10, the currently open outlet is shown. If irrigation is to be done (manually) through a different outlet, or if the open outlet does not match up with the programmed of the Water Computer, the desired open outlet can be selected with the dial disc 11.
- Press dial disc 11 until the desired open outlet (e.g. 3) is shown in the viewing window 10.
With Water Computer:
When using a GARDENA Water Computer Art. 1892, “Menu: Water Distributor automatic“ should be used. Here, the 5 min. pause between programmed required for secure further switching is automatically considered.
- Set the programmed (irrigation times) for the outlets in use.
- Press dial disc 11 until the open outlet in the viewing window 10 matches the desired programmed of the Water Computer.
Example for 4 used outlets and the use of “Menu: Water Distributor automatic” with the Water Computer 1892:
In this example, irrigation is made through the used outlets 1 to 4.
Programmed Outlet | Start Time | Run Time | Mo | Tu | We | Th | Fr | Sa | Su |
| 1 | 5: 00 | 0 : 30 | X | X | |||||
2 | 5: 35 | 0 : 35 | X | X | X | ||||
| 3 | 20: 20 | 0 : 35 | X | X | X | ||||
4 | 2 1: 00 | 0 : 05 | X | X | X | ||||
| 5 | Not occupied | ||||||||
6 | Not occupied | ||||||||
Between each programmed, a minimum of 5 min. pause is automatically considered. If the irrigation days are not identical for all days (e.g. Programmed / Outlet 2), irrigation is made for 30 seconds at not-used outlets. This ensures that the Water Distributor further switches on to the next programmed outlet (e.g. on Monday from Outlet 1 to Outlet 3).
Discontinue operating irrigation:
If “Menu: Water Distributor automatic” is activated then operating irrigation can be discontinued through the Man. button on the Water Computer, without disturbing the matching of the programmed to the open outlets.
- Press Man. button on the Water Computer during irrigation. Irrigation will be discontinued and the Water Distributor switches to the next outlet in use, the Water Computer switches to the next programmed.
With Moisture Sensor:
The Moisture Sensor Art. 1188 may only be used together with the Water Computer Art. 1892 and operating “Menu: Water Distributor automatic”.
If the Moisture Sensor signals sufficient moisture, the “Menu: Water Distributor automatic” shortens irrigation to 30 seconds so that the Water Distributor will further switch to the next outlet in use. Without “Menu: Water Distributor automatic” irrigation would not be carried out. Matching of the programmed to the outlets in use would thereby be lost.
- Please follow the operating instructions of the Water Computer.
Putting into Storage
Storage / storage during winter:
ATTENTION ! A Water Distributor may be damaged as the product is not frost-resistant!
- Protect the Water Distributor against frost.
- Loosen connections.
- If required, unlock Water Distributor and remove from the mounting plate.
- Store Water Distributor in a dry, frost-protected place.
The storage location must be out of reach for children.
Maintenance
Clean filter and viewing window:

Regularly check the filter.
- Unscrew Tap Connector 3.
- Remove filter 5 and clean.
- Screw Tap Connector 3 with filter 5 back on to the connection on the inlet side 6.
- Press catch 12 on viewing window 10 upwards, remove viewing window and clean it.
- Refit viewing window 10.

Rinse Water Distributor:
A dirty Water Distributor can affect the switch mechanism. We recommend rinsing the Water Distributor once a year.
- Set all flow levers on On and remove the end caps.
- Open the water tap or set Water Computer to manual irrigation.
- After 30 sec., press dial disc so that next outlet will be rinsed out.
- Repeat Number 3 for all outlets.
Troubleshooting
ATTENTION !
If the programmed are not correctly matched to the outlets then significant damage can result through over-watering or drying-out as the programmed will then be carried out through the incorrect outlets!
- Make sure that the programmed are correctly matched up to the outlets.
Fault | Possible cause | Remedy |
| No irrigation | Close tap. | Open tap. |
| Outlets 1 and 2 are closed with end caps. | Connect devices to outlets 1 and 2. | |
| Active outlets (flow lever on On) are closed with end cap. | Connect devices to active outlets. | |
| Flow lever for outlets in use is not on On or not on Off for outlets (with end cap) not in use. | Put flow lever on On for outlets in use and on Off for outlets not in use. | |
| Programmed not correctly matched up with outlets (see viewing window). | Check programmed match-up. | |
| Irrigation through incorrect outlet (e.g. incorrect match- up of programmed and outlets) | After deactivation of the programmed (Bad Weather Function). | Using the dial disc, match the active outlet (see viewing window) to the desired programmed. |
| Dial disc pressed during operating irrigation. | Do not press the dial disc during operation. | |
| Pressure fluctuations in Pressure Tank Unit. | Do not use a Pressure Tank Unit. | |
| Water Distributor does not switch further | Pressure is under 1 bar. | Clean filter, use Tap Con- nector Art. 2801 / 2817 with ³⁄₄” hoses on the inlet side, reduce water consumption on the dispensing device. |
| Water Distributor is dirtied. | Rinse Water Distributor. | |
| Active outlet is closed with end cap. | Unscrew end cap.
| |
| Only if Art. 1892 is not used | Irrigation days not identical with all programmed. | Set irrigation days to be identical with all programmed. |
| No 5 min. pause between programmed. | Set a 5 min. pause between the programmed. |
In the event of other faults please contact GARDENA Service. Repairs should only be carried out by GARDENA service centers or dealers authorized by GARDENA.
Technical Data
- Water Distributor automatic Art. 1197
- Water inlet: 26.5 mm (G³⁄₄) male thread
- Water outlets: 6 x 26.5 mm (G³⁄₄) male thread
- Min. operating pressure: 1 bar
- Max. operating pressure: 6 bar
- Minimum flow: 20 l / h
Service / Warranty
Service:
Please contact the address on the back page.
Warranty statement:
In the event of a warranty claim, no charge is levied to you for the services provided.
Gardena Manufacturing GmbH grants a warranty for all original GARDENA new products for two years from the date of original purchase from the retailer, provided that the devices have been for private use only. This manufacturer’s warranty does not apply to products acquired second hand.
This warranty includes all significant defects of the product that can be proved to be material or manufacturing faults.
This warranty is fulfilled by supplying a fully functional replacement product or by repairing the faulty product sent to us free of charge; we reserve the right to choose between these options. This service is subject to the following provisions:
- The product has been used for its intended purpose as per the recommendations in the operating instructions.
- Neither the purchaser nor a third party has attempted to open or repair the product.
- Only Original GARDENA replacement parts and wear parts have been used for operation.
- Presentation of the receipt.
Normal wear and tear of parts and components (such as blades, blade fixing parts, turbines, light bulbs, V-belts / toothed belts, impellers, air filters, spark plugs), visual changes, wear parts and consumables are excluded from the warranty.
This manufacturer’s warranty is limited to replacement and repair of products in accordance with the above mentioned conditions.
The manufacturer’s warranty does not constitute an entitlement to lodge other claims against us as a manufacturer, such as for damages.
This manufacturer’s warranty does not, of course, affect statutory and contractual warranty claims against the dealer / retailer.
The manufacturer’s warranty is governed by the law of the Federal Republic of Germany.
In case of a warranty claim, please return the faulty unit, together with a copy of the receipt and a description of the fault, with postage paid to the service address.
Product Liability
In accordance with the German Product Liability Act, we hereby expressly declare that we accept no liability for damage incurred from our products where said products have not been properly repaired by a GARDENA approved service partner or where original GARDENA parts or parts authorized by GARDENA were not used.
| Description of t unit: Water Distributor automatic | Year of CE marking: 2011 |
| Art. No.: 1197 | Ulm, 16.07.2020 Authorized representative Reinhard Pompe (Vice President Products) ![]() Wolfgang Engelhardt (Vice President Supply Chain) |
| EU directives: 2006 / 42 / EC | |
| ISO 12100 | |
| Deposited Documentation: GARDENA Technical Documentation M. Kugler 89079 Ulm
|
| UKCA Declaration of Conformity [only for UK] The manufacturer : GARDENA Germany AB PO Box 7454 S-103 92 Stockholm Sweden hereby certifies, when leaving our factory, the unit(s) indicated below is /are in accordance with the UK Regulations, designated standards of safety and product specific designated standards. This certificate becomes void if the units are modified without our approval. | Authorized Representative: Husqvarna UK Limited |
| Description of the product: Automatic Water Distributor | Deposited Documentation: Preston Road, Aycliffe County Durham UK DL5 6 UP |
| Product type: | Aycliffe, 13.08.2021 Authorized representative: John Thompson Director Authorized Representative |
| Article number: 1197 | |
| UK regulations S.I. 2008 /1597 | |
| Designated standards: EN ISO 12100 |
Deutschland / Germany
GARDENA Manufacturing GmbH Central Service Hans-Lorenser-Straße 40 D-89079 Ulm
Produktfragen: (+49) 731 490-123
Reparaturen: (+49) 731 490-290
[email protected]
http://www.gardena.com
Albania
KRAFT SHPK Autostrada Tirane-Durres Km 7 1051 Tirane
Argentina
ROBERTO C. RUMBO S.R.L. Predio Norlog Lote 7 Benavidez. ZC:1621 Buenos Aires
[email protected]
Australia
Husqvarna Australia Pty. Ltd. Locked Bag 5 Central Coast BC NSW 2252
Phone: (+61) (0) 2 4352 7400
customer.service@
husqvarna.com.au
Austria / Österreich
Husqvarna Austria GmbH Industriezeile 36 4010 Linz
Tel.: (+43) 732 77 01 01-485
service.gardena@
husqvarnagroup.com
Azerbaijan
Firm Progress a. Aliyev Str. 26A 1052 Baku Belarus Private Enterprise “Master Garden” Minsk Sharangovich str., 7a
Phone: (+375) 17 257-00-33
Mob.: (+375) 29 676-16-09
[email protected]
Belgium
Husqvarna Belgium nv Gardena Division Leuvensesteenweg 542 Planet II E 1930 Zaventem België Bosnia / Herzegovina SILK TRADE d.o.o. Industrijska zona Bukva bb 74260 Tešanj
Brazil
Husqvarna do Brasil Ltda Av. Francisco Matarazzo, 1400 – 19º andar São Paulo – SP
CEP: 05001-903
Tel: 0800-112252
marketing.br.husqvarna@
husqvarna.com.br
Bulgaria
AGROLAND България АД бул. 8 Декември, №13 Офис 5 1700 Студентски град София
ТеL.: (+359) 24666910
[email protected]
Canada / USA
GARDENA Canada Ltd. 100 Summerlea Road Brampton, Ontario L6T 4X3
Phone: (+1) 905 792 93 30
[email protected]
Chile
REPRESENTACIONES JCE S.A. Av. Del Valle Norte 857, Piso 4 Santiago RM
Phone: (+56) 2 24142560
[email protected]
China
Husqvarna (Shanghai) Management Co., Ltd.
富世华(上海)管理有限公司
3F, Benq Square B,
No207, Song Hong Rd., Chang Ning District, Shanghai
PRC. 200335
上海市长宁区淞虹路207号明
基广场B座3楼,邮编:200335
Colombia
Husqvarna Colombia S.A. Calle 18 No. 68 D-31, zona Industrial de Montevideo Bogotá, Cundinamarca
Tel. 571 2922700 ext. 105
jairo.salazar@
husqvarna.com.co
Costa Rica
Compania Exim Euroiberoamericana S.A. Los Colegios, Moravia, 200 metros al Sur del Colegio Saint Francis – San José
Phone: (+506) 297 68 83
[email protected]
Croatia
Husqvarna Austria GmbH Industriezeile 36 4010 Linz
Tel.: (+43) 732 77 01 01-485
service.gardena@
husqvarnagroup.com
Cyprus
Med Marketing 17 Digeni Akrita Ave P.O. Box 27017 1641 Nicosia
Czech Republic
Husqvarna Česko s.r.o. Türkova 2319/5b 149 00 Praha 4 – Chodov Bezplatná infolinka: 800 100 425
[email protected]
Denmark
GARDENA DANMARK Lejrvej 19, st. 3500 Værløse
Tel: (+45) 70264770
[email protected]
www.gardena.com/dk
Dominican Republic
BOSQUESA, S.R.L Carretera Santiago Licey Km. 5 ½ Esquina Copal II. Santiago Dominican Republic
Phone: (+809) 736-0333
[email protected]
Ecuador
Husqvarna Ecuador S.A. Arupos E1-181 y 10 de Agosto Quito, Pichincha
Tel. (+593) 22800739
francisco.jacome@
husqvarna.com.ec
Estonia
Husqvarna Eesti OÜ Valdeku 132 EE-11216 Tallinn
[email protected]
Finland
Oy Husqvarna Ab Gardena Division Lautatarhankatu 8 B / PL 3 00581 HELSINKI
www.gardena.fi
France
Husqvarna France 9/11 Allée des pierres mayettes 92635 Gennevilliers Cedex France
http://www.gardena.com/fr
N° AZUR: 0 810 00 78 23 (Prix d’un appel local)
Georgia
Transporter LLC 113b Beliashvili street 0159 Tbilisi, Georgia Service Address and Importer to Great Britain Husqvarna UK Ltd Preston Road Aycliffe Industrial Park Newton Aycliffe County Durham DL5 6UP
info.gardena@
husqvarna.co.uk
Greece
Π.ΠΑΠΑΔΟΠΟΥΛΟΣ ΑΕΒΕ Λεωφ. Αθηνών 92 Αθήνα Τ.Κ.104 42 Ελλάδα
Τηλ. (+30) 210 5193100
[email protected]
Hungary
Husqvarna Magyarország Kft. Ezred u. 1- 3 1044 Budapest
Telefon: (+36) 1 251-4161
vevoszolgalat.husqvarna@
husqvarna.hu
Iceland BYKO ehf. Bildshöfoa 20 110 Reykjavik
Ireland
Husqvarna UK Ltd Preston Road Aycliffe Industrial Park Newton Aycliffe County Durham DL5 6UP
info.gardena@
husqvarna.co.uk
Italy
Husqvarna Italia Spa Centro Direzionale Planum ia del Lavoro 2, Scala B 22036 ERBA (CO)
Tel. (+39) 031.4147700
assistenza.italia@
it.husqvarna.com
Japan
Husqvarna Zenoah Co. Ltd. Japan 1-9 Minamidai, Kawagoe 350-1165 Saitama Japan
gardena-jp@
husqvarnagroup.com
Kazakhstan
LAMED Ltd. 155/1, Tazhibayevoi Str. 050060 Almaty IP Schmidt Abayavenue 3B 110 005 Kostanay
Korea
Kyung Jin Trading CO.,LTD. 107-4, SunDuk Bld., YangJae-dong, Seocho-gu, Seoul, (zipcode: 137-891)
Phone: (+82) (0)2 574-6300
Latvia
Husqvarna Latvija SIA Ulbrokas 19A LV-1021 Rīga
[email protected]
Lithuania
UAB Husqvarna Lietuva Ateities pl. 77C LT-52104 Kaunas
[email protected]
Luxembourg
Magasins Jules Neuberg 39, rue Jacques Stas Luxembourg-Gasperich 2549 Case Postale No. 12 Luxembourg 2010
Phone: (+352) 40 14 01
[email protected]
Mexico
AFOSA Av. Lopez Mateos Sur # 5019 Col. La Calma 45070 Zapopan, Jalisco Mexico
Phone: (+52) 33 3818-3434
[email protected]
Moldova
Convel S.R.L. 290A Muncesti Str. 2002 Chisinau
Netherlands
Husqvarna Nederland B.V. GARDENA Division Postbus 50131 1305 AC ALMERE
Phone: (+31) 36 521 00 10
[email protected]
Neth. Antilles
Jonka Enterprises N.V. Sta. Rosa Weg 196 P.O. Box 8200 Curaçao
Phone: (+599) 9 767 66 55
[email protected]
New Zealand
Husqvarna New Zealand Ltd. PO Box 76-437 Manukau City 2241
Phone: (+64) (0) 9 9202410
[email protected]
Norway
Husqvarna Norge AS Gardena Division Trøskenveien 36 1708 Sarpsborg
[email protected]
Peru
Husqvarna Perú S.A. Jr. Ramón Cárcamo 710 Lima 1
Tel: (+51) 1 3320400 ext. 416
juan.remuzgo@
husqvarna.com
Poland
Husqvarna Poland Spółka z o.o. ul. Wysockiego 15 b 03-371 Warszawa
Phone: (+48) 22 330 96 00
[email protected]
Portugal
Husqvarna Portugal, SA Lagoa – Albarraque 2635 – 595 Rio de Mouro
Tel.: (+351) 21 922 85 30
Fax : (+351) 21 922 85 36
[email protected]
Romania
Madex International Srl Soseaua Odaii 117- 123, RO 013603 Bucureşti, S1
Phone: (+40) 21 352.76.03
[email protected]
Russia / Россия
ООО „Хускварна“ 141400, Московская обл., г. Химки, улица Ленинградская, владение 39, стр.6 Бизнес Центр „Химки Бизнес Парк“, помещение ОВ02_04
http://www.gardena.ru
Serbia
Domel d.o.o. Autoput za Novi Sad bb 11273 Belgrade
Phone: (+381) 118 48 88 12
[email protected]
Singapore
Hy-Ray PRIVATE LIMITED 40 Jalan Pemimpin #02-08 Tat Ann Building Singapore 577185
Phone: (+65) 6253 2277
[email protected]
Slovak Republic
Husqvarna Česko s.r.o. Türkova 2319/5b 149 00 Praha 4 – Chodov Bezplatná infolinka: 800 154 044
[email protected]
Slovenia
Husqvarna Austria GmbHIndustriezeile 36 4010 Linz
Tel.: (+43) 732 77 01 01-485
service.gardena@
husqvarnagroup.com
South Africa
Husqvarna South Africa (Pty) Ltd Postnet Suite 250 Private Bag X6, Cascades, 3202, South Africa
Phone: (+27) 33 846 9700
[email protected]
Spain
Husqvarna España S.A. Calle de Rivas nº 10 28052 Madrid
Phone: (+34) 91 708 05 00
[email protected]
Suriname
Deto Handelmaatschappij N.V. Kernkampweg 72-74 P.O.Box: 12782 Paramaribo – Suriname South America
Phone: (+597) 438050
www.deto.sr
Sweden
Husqvarna AB / GARDENA Sverige Drottninggatan 2 561 82 Huskvarna Sverige
Switzerland / Schweiz
Husqvarna Schweiz AG Consumer Products Industriestrasse 10 5506 Mägenwil
Phone: (+41) (0) 62 887 37 90
[email protected]
Turkey
Dost Bahçe Dış Ticaret Mümessillik A.Ş Yunus Mah. Adil Sok. No:3 Ic Kapi No: 1 Kartal 34873 Istanbul
Phone: (+90) 216 38 93 939
[email protected]
Ukraine / Україна
ТОВ «Хускварна Україна» вул. Васильківська, 34, офіс 204-г 03022, м. Київ
Теl. (+38) 0 800 504 804
[email protected]
Uruguay
FELI SA Entre Ríos 1083 CP 11800 Montevideo – Uruguay
Tel: (+598) 22 03 18 44
[email protected]
Venezuela
Corporación Casa y Jardín C.A. Av. Caroní, Edif. Trezmen, PB. Colinas de Bello Monte. 1050 Caracas.
Tel: (+58) 212 992 33 22
[email protected]
1197-20.960.09/0821
© GARDENA
Manufacturing GmbH
D-89070 Ulm





















