
SELECT
PROFESSIONAL COLOUR WEATHER STATION WITH 5-IN-1 SENSOR
USER MANUAL
Model: ESW5003

INTRODUCTION
Thank you for your purchase of this delicate 5-in-1 professional outdoor sensor with a colour display.
The wireless 5-IN-1 sensor contains a self-emptying rain collector for measuring rainfall, an anemometer, and wind vane, and temperature and humidity sensors. It is fully assembled and calibrated for easy installation. It sends data by a low-power radio frequency to the display main unit up to 150m away (line of sight).
The colourful display main unit displays all the weather data received from the 5-IN-1 sensor outside. It remembers the data for a time range for you to monitor and analyze the weather status for the past 24 hours. It has advanced features such as the HI / LO Alert alarm which will alert the user when the set high or low weather criteria are met. The barometric pressure records are computed to give users forthcoming weather forecasts and stormy warnings. Day and date stamps are also provided to the corresponding maximum and minimum records for each weather detail.
The system also analyzes the records for your convenient viewing, such as the display of rainfall in terms of rain rate, daily, weekly and monthly records, whereas wind-speed at different levels. Different useful readings such as Wind-chill, Heat Index, Dew-point, and Comfort level are also provided.
With a Radio-controlled / Atomic clock feature built-in, the system is truly a remarkable personal Professional Weather Station for your own backyard.
Note:
This instruction manual contains useful information on the proper use and care of this product. Please read this manual through to fully understand and enjoy its features, and keep it handy for future use.
About this user’s manual
This symbol represents a warning. To ensure safe use, always adhere to the instructions described in this documentation.
This symbol is followed by a user’s tip.
PRECAUTIONS ![]()
![]()
– Read and keep these instructions, heed all warnings and follow all instructions.
– Do not subject the unit to excessive force, shock, dust, temperature or humidity.
– Do not cover the ventilation holes with any items such as newspapers, curtains etc.
– Do not immerse the unit in water. If you spill liquid over it, dry it immediately with a soft, lint-free cloth.
– Do not clean the unit with abrasive or corrosive materials.
– Do not tamper with the unit’s internal components. This invalidates the warranty.
– Placement of this product on certain types of wood may result in damage to its finishing for which the manufacturer will not be responsible. Consult the furniture manufacturer’s care instructions for information.
– The socket outlet shall be installed near the equipment and shall be easily accessible.
– To completely disconnect the power input, the adaptor shall be disconnected from the console.
– An appliance is only suitable for mounting at height ≤ 2m. (Equipment mass ≤ 1kg)
– Working temperature: -5 to 50˚C.
– This product is intended for use only with the adaptor provided: Manufacturer: HUAXU Electronics Factory, Model: HX075-0500600-AG-001, HX075-0500600-AB or HX075-0500600-AX.
– CAUTION! risk of explosion if the battery is replaced by an incorrect type.
– Battery cannot be subjected to high or low extreme temperatures, and low air pressure at high altitude during use, storage or transportation, if not, it may result in an explosion or the leakage of flammable liquid or gas.
– Disposal of a battery into fire or a hot oven, or mechanically crushing or cutting of a battery, can result in an explosion.
– The technical specifications for this product and the contents of the user manual are subject to change without notice.
– Attention! Please dispose of used unit or batteries in an ecologically safe manner.
Hereby, EMOS spol. s r. o. declares that the radio equipment type ESW5003 is in compliance with Directive 2014/53/EU. The full text of the EU declaration of conformity is available at the following internet address: http://www.emos.eu/download.
OVERVIEW
CONSOLE

| 1. [ BARO ] key 2. [ WIND ] key 3. [ RAIN ] key 4. [ ALARM / SNOOZE ] key 5. [ MAX / MIN ] key 6. [ HISTORY ] key 7. [ INDEX ] key 8. LCD display 9. AAA battery compartment 10. Power jack / Temperature sensor 11. Wall-mounting hole | 12. [ ALERT ] key 13. [ ALARM ] key 14. [ TIME SET ] key 15. [ HI / LO / AUTO ] dimmer slide switch 16. [ °C/°F ] slide switch 17. [ SENSOR ] key 18. [ RCC ] key 19. [ RESET ] key 20. [∧ ] key 21. [∨ ] key 22. Extend wall mount holder |
WIRELESS 5-IN-1 SENSOR
- Rain collector
- Balance indicator
- Antenna
- Wind cups
- Mounting pole
- Radiation shield
- Wind vane
- Mounting base
- Mounting claim
- Red LED indicator
- [ RESET ] key
- Battery door
- Screws

RAIN GAUGE
- Rain collector
- Tipping bucket
- Drain holes
- Rain sensor

TEMPERATURE AND HUMIDITY SENSOR
- Radiation shield Sensor casing
- Temperature and humidity sensor

WIND SENSOR
- Wind cups (anemometer)
- Wind vane

LCD DISPLAY
NORMAL TIME AND CALENDAR SECTION
- Day of the week
- Low battery indicator for the main unit
- Time
- DST
- RCC signal strength indicator
- Alarm
- Ice pre-alert “on”
- Moon phase
- Date

INDOOR TEMPERATURE AND HUMIDITY
- Indoor indicator
- Comfort Zone
- HI/LO Alert and Alarm
- Indoor humidity
- Indoor temperature

OUTDOOR TEMPERATURE AND HUMIDITY
- Outdoor indicator
- Outdoor sensor low battery indicator
- Outdoor signal strength indicator
- HI/LO Alert and Alarm
- Outdoor humidity
- Outdoor temperature

WEATHER FORECAST
Weather forecast icon

BAROMETER
- BARO indicator
- HISTORY
- Barometer reading
- ABSOLUTE/RELATIVE indicator
- Barometer measurement unit(hPa/inHg/mmHg)
- Hourly records indicator

RAINFALL
- RAINFALL indicator
- Time range record indicator
- Day records indicator
- HISTORY
- HI Alert and Alarm
- Current rainfall rate
- Rainfall unit (inch/mm)

WIND DIRECTION
- WIND DIRECTION indicator
- Current wind direction indicator
- Wind direction indicator during the last hour
- Current wind direction reading

WEATHER INDEX
- WIND SPEED indicator
- Wind speed levels
- BEAUFORT levels
- FEELS LIKE / WIND CHILL / HEAT INDEX / DEW POINT indicator
- HI Alert and Alarm
- AVERAGE / GUST wind indicator
- Wind speed unit (mph / m/s / km/h / knot)
- Wind speed reading
- FEELS LIKE / WIND CHILL / HEAT INDEX / DEW POINT reading

INSTALLATION
WIRELESS 5-IN-1 SENSOR
Your wireless 5-IN-1 sensor measures wind speed, wind direction, rainfall, temperature and humidity for you.
It’s fully assembled and calibrated for your easy installation.
Note:
- Ensure the water-tight O-ring is properly aligned in place to ensure water resistance.
- The red LED will begin flashing every 12 seconds.

ASSEMBLY THE STAND AND POLE
Step 1
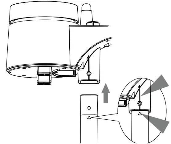
Insert the top side of the pole into the square hole of the weather sensor.
Note:
Ensure the pole and sensor’s indicator align.

Step 2
Place the nut in the hexagon hole on the sensor, then insert the screw on the other side and tighten it with the screw driver.

Step 3
Insert the other side of the pole into the square hole of the plastic stand.
Note:
Ensure the pole and stand’s indicator align.

Step 4
Place the nut in the hexagon hole of the stand, then insert the screw on the other side and then tighten it with the screwdriver.

Install the wireless 5-IN-1 sensor in an open location with no obstructions above and around the sensor for accurate rain and wind measurement. Install the sensor with the smaller end facing the North to properly orient the wind direction vane.
Secure the mounting stand and clamps (included) to a post or pole, and allow a minimum of 1.5m off the ground.
Make sure the sensor is not tilted. Check the spirit level on top of the sensor for this.

![]() | ![]() |
CONSOLE
BACKUP BATTERIES INSTALLATION
- Remove the battery door on the bottom of the main unit.
- Insert 3 new AAA batteries.
- Replace the battery door.
- Once the batteries are inserted, all the segments of the LCD will be shown briefly before entering the radio-controlled time reception mode.
- The RC clock will automatically start scanning for the radio-controlled time signal in 8 seconds.
Note:
– If no display appears on the LCD after inserting the batteries, press [ RESET ] key by using a pointed object.
– In some cases, you may not receive the signal immediately due to the atmospheric disturbance.
PAIRING OF WIRELESS 5-IN-1 SENSOR WITH DISPLAY MAIN UNIT
After the insertion of batteries, the Display Main Unit will automatically search and connect the wireless 5-IN-1 sensor (antenna blinking).
Once the connection is successful, antenna marks and readings for outdoor temperature, humidity, wind speed, wind direction, and rainfall will appear on the display.
CHANGING BATTERIES AND MANUAL PAIRING OF THE 5-1 SENSOR
Whenever you changed the batteries of the wireless 5-IN-1 sensor, pairing must be done manually.
- Change the batteries to new ones.
- Press [ SENSOR ] key on the console.
- Press [ RESET ] key on the sensor.
- Pairing may take several minutes.
Note:
– Pressing the [ RESET ] key at bottom of the wireless 5-IN-1 sensor will generate a new code for pairing purposes.
– Always dispose of old batteries in an environmentally safe manner.
RADIO CONTROLLED/ATOMIC CLOCK FUNCTION
When the unit receives RCC signal, a sync-time symbol
will appear on the LCD, and synchronizes daily.
Note:
– The strength of the radio-controlled time signal from the transmitter tower may be affected by geographical location or building around it.
– Always place the unit away from interfering sources such as TV set, computer, etc.
– Avoid placing the unit on or next to metal plates.
– Closed areas such as airport, basement, tower block, or factory are not recommended.
– During receiving the RC signal, the LCD display backlight will become dim.
– Place the unit at least 1m from the adaptor.
SIGNAL STRENGTH INDICATOR
The signal indicator displays signal strength in 4 levels. Wave segment flashing means time signals are being received. The signal quality could be classified into four types:
![]()
TIME SETTING
The unit automatically set itself accordingly to the Radio Controlled Clock signal it received. To set the clock/calendar manually, first disable the reception by holding the RCC key for 8 seconds.
TO MANUALLY SET THE CLOCK / TIME ZONE SELECTION
1. Press and hold the [ TIME SET ] key for 2 seconds until 12 or 24 Hr flashes.
2. Use the [∨ ] key / [ ∧] key to adjust, and press the [ TIMER SET ] key to proceed to the next setting.
3. Press the [ TIME SET ] key again to step the setting items in this sequence: Hour format→ Hour →Minute →Second →Year →Month →Date →Hour offset→ Language →DST AUTO/OFF.
Note:
– The unit will automatically exit setting mode if no key was pressed in 60 seconds.
– The hour offset is for DCF and MSF versions. Its range is between -23 and +23 hours.
– DST (Daylight Saving Time) feature is set to Auto (factory set).
– The clock has been programmed to automatically switch when the daylight saving time is in effect. User can set the DST to OFF to disable the feature.
DISABLE / ENABLE RCC SIGNAL RECEPTION
- Press and hold the [ RCC ] key 8 seconds to disable the reception.
- Press and hold the [ RCC ] key 8 seconds to enable automatic RCC reception.

TO TURN ON / OFF ALARM CLOCK (WITH ICE-ALERT FUNCTION)
- Press the [ ALARM ] key anytime to show the alarm time.
- Press the [ ALARM ] key again to activate the alarm.
- Press again to activate alarm with ice-alert function.
- To disable the alarm, press [ ALARM ] until the alarm icon disappears.

TO SET THE ALARM TIME
- Press and hold the [ ALARM ] key for 2 seconds to enter alarm setting mode HOUR will begin to flash.
- Use [ ∨] key / [∧ ] key to adjust HOUR, and press the [ ALARM ] key to proceed to set MINUTE.
- Repeat 2 above to set MINUTE, and then press the [ ALARM ] key to exit.
STOP ALARM ALERT & SNOOZE
- Press [ SNOOZE / LIGHT ] key to stop the current alarm and enter snooze. Alarm icon will be flashing continuously. The alarm will sound again in 5 minutes. Snooze can be used continuously over 24 hours.
- When the alarm is sounding, it will stop automatically without pressing any key in 2 minutes. Also you can press and hold the [ SNOOZE / LIGHT ] key for 2 seconds or press [ ALARM ] key to stop the current alarm. And the alarm will automatically sound again at the alarm time next day.
Note:
– Pressing the[ ALARM ] key twice when alarm time is being displayed will activate the alarm with ice alert.
– The alarm will sound 30 minutes earlier if it detects outside temperature is below -3°C.
WEATHER FORECAST
The device contains sensitive pressure sensor built-in with sophisticated and proven software that predicts the weather for the next 12 ~ 24 hours within a 30 to 50 km (19-31 miles) radius.

Note:
– The accuracy of a general pressure-based weather forecast is about 70% to 75%.
– The weather forecast is meant for the next 12 hours, it may not necessarily reflect the current situation.
– The weather icon will flash on display when the rainstorm comes.
– The SNOWY weather forecast is not based on the atmospheric pressure but based on the outdoor temperature. When the outdoor temperature is below -3°C (26°F), the SNOWY weather indicator will be displayed on the LCD.
BAROMETRIC/ATMOSPHERIC PRESSURE
– ABSOLUTE the absolute atmospheric pressure of your location
– RELATIVE the relative atmospheric pressure based on the sea
TO SET RELATIVE ATMOSPHERIC PRESSURE VALUE
- Press and hold the [ BARO ] key for 2 seconds until the ABSOLUTE or RELATIVE icon flashes.
- Press [∨ ] key / [ ∧] key to switch to RELATIVE mode.
- Press the [ BARO ] key once again until the RELATIVE atmospheric pressure digit flashes.
- Press [ ∨] key / [∧ ] key to change the value.
- Press the [ BARO ] key to save and exit the setting mode.
Note:
– The default relative atmospheric pressure value is 1013 hPa (29.91 inHg), which refers to the average atmospheric pressure.
– When you change the relative atmospheric pressure value, the weather indicators will change along with it.
– The relative atmospheric pressure is based on the sea level, but it will change with the absolute atmospheric pressure changes after operating the clock for 1 hour.
TO SELECT THE MEASUREMENT UNIT FOR THE BAROMETER
- Press the [ BARO ] key to enter unit setting mode.
- Use the [ BARO ] key to change the unit between inHg / mmHg / hPa.
RAINFALL
TO SELECT THE RAINFALL DISPLAY MODE
The device displays how many mm/inches of rain are accumulated in an hour time period, based on current rainfall rate. Press the [ RAIN ] key to toggle between:
– RATE Current rainfall rate in past an hour
– DAILY The DAILY display indicates the total rainfall from midnight
– WEEKLY The WEEKLY display indicates the total rainfall from the current week
– MONTHLY The MONTHLY display indicates the total rainfall from the current calendar month

Note:
Rain rate is updated every 6 minutes, at every hour on the hour, and at 6, 12, 18, 24, 30, 36, 42, 48, 54 minutes past the hour.
TO SELECT THE MEASUREMENT UNIT FOR THE RAINFALL
- Press and hold the [ RAIN ] key for 2 seconds to enter unit setting mode.
- Use [ ∨] key / [ ∧] key to toggle between mm (millimeter) and in (inch).
- Press the [ RAIN ] key to confirm and exit.
WIND SPEED/WIND DIRECTION
TO READ THE WIND DIRECTION
| Wind Direction Indicator | Meaning | ||
| Real-time wind direction | |||
| Wind directions appeared in last 5 minutes (max 6 indicator mark) |
TO SELECT THE WIND DISPLAY MODE
Press the [ WIND] key to toggle between:
– AVERAGE The AVERAGE wind speed will display the average of all wind speed numbers recorded in the previous 30 seconds
– GUST The GUST wind speed will display the highest wind speed recorded from the last reading
![]()
The wind level provides a quick reference on the wind condition and is indicated by a series of text icons
| Level | LIGHT | MODERATE | STRONG | STORM |
| Speed | 1 ~ 19 km/h | 20 ~ 49 km/h | 50 ~ 88 km/h | > 88 km/h |
TO SELECT WIND SPEED UNIT
- Press and hold the [ WIND ] key for 2 seconds to enter unit setting mode.
- Use [∨ ] key / [ ∧] key to change the unit between mph (miles per hour) / m/s (meter per second) / km/h (kilometer per hour) / knots.
- Press the [ WIND ] key to confirm and exit.
BEAUFORT SCALE
Beaufort scale is an international scale of wind velocities from 0 (calm) to 12 (Hurricane force).
| Beaufort Scale | Description | Wind Speed | Land Condition |
| 0 | Calm | < 1 km/h | Calm. Smoke rises vertically. |
| < 1 mph | |||
| < 1 knot | |||
| < 0.3 m/s | |||
| 1 | Light air | 1.1 ~ 5.5 km/h | Smoke drift indicates wind direction. Leaves and wind vanes are stationary. |
| 1 ~ 3 mph | |||
| 1 ~ 3 knot | |||
| 0.3 ~ 1.5 m/s |
|
2 |
Light breeze | 5.6 ~ 11 km/h | Wind felt on exposed skin. Leaves rustle. Wind vanes begin to move. |
| 4 ~ 7 mph | |||
| 4 ~ 6 knot | |||
| 1.6 ~ 3.3 m/s | |||
|
3 |
Gentle breeze | 12 ~ 19 km/h | Leaves and small twigs constantly moving, light flags extended. |
| 8 ~ 12 mph | |||
| 7 ~ 10 knot | |||
| 3.4 ~ 5.4 m/s | |||
|
4 |
Moderate breeze | 20 ~ 28 km/h | Dust and loose paper raised. Small branches begin to move. |
| 13 ~ 17 mph | |||
| 11 ~ 16 knot | |||
| 5.5 ~ 7.9 m/s | |||
|
5 |
Fresh breeze | 29 ~ 38 km/h | Branches of a moderate size move. Small trees in leaf begin to sway. |
| 18 ~ 24 mph | |||
| 17 ~ 21 knot | |||
| 8.0 ~ 10.7 m/s | |||
|
6 |
Strong breeze | 39 ~ 49 km/h | Large branches in motion. Whistling was heard in overhead wires. Umbrella use becomes difficult. Empty plastic bins tip over. |
| 25 ~ 30 mph | |||
| 22 ~ 27 knot | |||
| 10.8 ~ 13.8 m/s | |||
|
7 |
High wind | 50 ~ 61 km/h | Whole trees in motion. Effort needed to walk against the wind. |
| 31 ~ 38 mph | |||
| 28 ~ 33 knot | |||
| 13.9 ~ 17.1 m/s | |||
|
8 |
Gale | 62 ~ 74 km/h | Some twigs were broken from trees. Cars veer on road. Progress on foot is seriously impeded |
| 39 ~ 46 mph | |||
| 34 ~ 40 knot | |||
| 17.2 ~ 20.7 m/s | |||
|
9 |
Strong gale | 75 ~ 88 km/h | Some branches break off trees, and some small trees blow over. Construction /temporary signs and barricades blow over. |
| 47 ~ 54 mph | |||
| 41 ~ 47 knot | |||
| 20.8 ~ 24.4 m/s | |||
|
10 |
Storm | 89 ~ 102 km/h | Trees are broken off or uprooted, and structural damage likely. |
| 55 ~ 63 mph | |||
| 48 ~ 55 knot | |||
| 24.5 ~ 28.4 m/s | |||
|
11 |
Violent storm | 103 ~ 117 km/h | Widespread vegetation and structural damage likely. |
| 64 ~ 73 mph | |||
| 56 ~ 63 knot | |||
| 28.5 ~ 32.6 m/s | |||
|
12 |
Hurricane force | ≥ 118 km/h | Severe widespread damage to vegetation and structures. Debris and unsecured objects are hurled about. |
| ≥ 74 mph | |||
| ≥ 64 knot | |||
| ≥ 32.7m/s |
WEATHER INDEX
At the WEATHER INDEX section, you can press [ INDEX ] key to view the weather index in this sequence: FEELS LIKE →WIND CHILL →HEAT INDEX→ DEW POINT.
FEELS LIKE
Feels Like Temperature shows what the outdoor temperature will feel like. It’s a collective mixture of the Wind Chill factor (18°C or below) and the Heat Index (26°C or above). For temperatures in the region between 18.1°C to 25.9°C where both wind and humidity are less significant in affecting the temperature, the device will show the actual outdoor measured temperature as Feels Like Temperature.

HEAT INDEX
The heat index, which is determined by the wireless 5-IN-1 sensor’s temperature & humidity data, when the outdoor temperature is between 27°C (80°F) and 50°C (120°F).
| Heat Index range | Warning | Explanation |
| 27°C to 32°C (80°F to 90°F) | Caution | Possibility of heat exhaustion |
| 33°C to 40°C (91°F to 105°F) | Extreme Caution | Possibility of heat dehydration |
| 41°C to 54°C (106°F to 129°F) | Danger | Heat exhaustion likely |
| ≥55°C (≥130°F) | Extreme Danger | Strong risk of dehydration/sunstroke |
WIND CHILL
A combination of the wireless 5-IN-1 sensor’s temperature and wind speed data determines the current wind chill factor. Wind chill numbers are always lower than the air temperature for wind values where the formula applied is valid (i.e. due to the limitation of the formula, actual air temperature higher than 10°C with wind speed below 9km/h may result in erroneous wind chill reading).
DEW POINT
– The dew point is the temperature below which the water vapor in air at constant barometric pressure condenses into liquid water at the same rate at which it evaporates. The condensed water is called dew when it forms on a solid surface.
– The dew point temperature is determined by the temperature & humidity data from wireless 5-IN-1 sensor.
HISTORY DATA (ALL RECORDS IN THE PAST 24 HOURS)
The main unit will record the past 24 hours of weather data automatically that including past indoor and outdoor
temperature & humidity, baro, wind chill, wind speed, and rainfall records.
1. Press the [ HISTORY ] key to check past 1 hour history records.
2. Press [ HISTORY ] key repeatedly to show past 2, 3, 4 , 5…….24 history weather records.
MAX/MIN MEMORY FUNCTION
- Press the MAX/MIN key to check the maximum/minimum records. The checking orders will be: Outdoor max temperature →Outdoor min temperature→ Outdoor max humidity →Outdoor min humidity→ Indoor max temperature →Indoor min temperature →Indoor Max humidity →Indoor min humidity →Outdoor max feels like →Outdoor min feels like→ Outdoor max wind chill →Outdoor min wind chill →Outdoor max heat index →Outdoor min heat index max dew point →min dew point →Max pressure→ Min pressure →Max average →Max gust →Max rainfall.
- Press and hold the [ MAX/MIN ] key for 2 seconds to reset the maximum and minimum records.
Note:
When maximum or minimum reading is displayed, the corresponding timestamp will be shown.
HI/LO ALERT
HI/LO alert are used to alert you of certain weather conditions. Once activated, the alarm will turn on when a certain criterion is met. The following are areas and type of alert provided:
| Area | Type of Alert available |
| Indoor temperature | HI and LO alert |
| Indoor humidity | HI and LO alert |
| Outdoor temperature | HI and LO alert |
| Outdoor humidity | HI and LO alert |
| Rainfall | HI alert (Daily rainfall since midnight) |
| Wind speed | HI alert |
TO SET THE HI/LO ALERT
1. Press the [ ALERT ] key until the desired area is selected.
2. Use[∨ ] key / [ ∧] key to adjust the setting.
3. Press the [ ALERT ] key to confirm and continue to next setting.

TO ENABLE / DISABLE THE HI / LO ALERT
- Press the [ ALERT ] key until the desired area is selected.
- Press the [ ALARM ] key to turn the alert on or off.
- Press the [ ALERT ] key to continue to next setting.
![]()
Note:
– The unit will automatically exit setting mode in 5 seconds if no key is pressed.
– When ALERT alarm is on, the area and type of alarm that triggered the alarm will be flashing and the alarm will sound for 2 minutes.
– To silence the Alert alarm beeping, press the [ ALARM / SNOOZE ] / [ ALARM ] key, or let the beeping alarm automatically turn off after 2 minutes.
WIRELESS SIGNAL RECEPTION
| No sensor | Signal searching | Strong signal | Weak signal | Signal lost |
The 5-IN-1 sensor is capable of transmitting data wirelessly over an approximate operating 150m range (line of sight). Occasionally, due to intermittent physical obstructions or other environmental interference, the signal may be weakened or lost. In case the sensor signal is lost completely, you will need to relocate the Display main unit or the wireless 5-IN-1 sensor.
TEMPERATURE & HUMIDITY
COMFORT INDICATION
The comfort indication is a pictorial indication based on indoor air temperature and humidity in an attempt to determine comfort level.
| Too cold | Comfortable | Too hot |
Note:
– Comfort indication can vary under the same temperature, depending on the humidity.
– There is no comfort Indication when the temperature is below 0°C(32°F) or over 60°C (140°F).
DATA CLEARING
During the installation of the wireless 5-IN-1 sensor, the sensors were likely to be triggered, resulting in erroneous rainfall and wind measurements. After the installation, the user may clear out all the erroneous data from the Display Main Unit, without needing to reset the clock and re-establish pairing. Simply press and hold the [ HISTORY ] key for 10 seconds. A confirmation beep will sound. This will clear out any data recorded before.
BACKLIGHT
The main unit backlight can be adjusted, using the [ HI / LO / AUTO ] sliding switch on the back of the console to select the appropriate brightness:
– Slide to the [ HI ] position for the brighter backlight.
– Slide to the [ LO ] position for the dimmer backlight.
– Slide to the [ AUTO ] position for the auto-adjust backlight that according to the environment light level.
POINTING 5-IN-1 SENSOR TO THE SOUTH
The outdoor 5-IN-1 sensor is calibrated to be pointing to North by default. However, in some cases, users may wish to install the product with the arrow pointing towards the South:
- First install the outdoor 5-IN-1 sensor with its arrow pointing to the South.
- On the Display main unit, press and hold the [ WIND ] key for 8 seconds until the upper part (Northern Hemisphere) of the compass lights up and blinks.
- Use [∨ ] key / [∧ ] key to change to lower part (Southern Hemisphere).
- Press the [ WIND ] key to confirm and exit.

Note:
Changing from hemisphere setting will automatically switch the direction of the moon phase on the display.
MOON PHASE
In the Northern hemisphere, the moon waxes (the part of the moon we see that glows after the New Moon) from the right. Hence the sun-lit area of the moon moves from right to left in the Northern Hemisphere, while in the Southern Hemisphere, it moves from left to right. Below is the table which illustrates how the moon will appear on the main unit.
| Northern hemisphere | Moon Phase | Southern hemisphere |
| New Moon | ||
| Waxing Crescent | ||
| First quarter | ||
| Waxing Gibbous | ||
| Full Moon | ||
| Waning Gibbous | ||
| Third quarter | ||
| Waning Crescent |
MAINTENANCE
TO CLEAN THE RAIN COLLECTOR
- Rotate the rain collector by 30° anticlockwise.
- Gently remove the rain collector.
- Clean and remove any debris or insects.
- Install all the parts when they are fully clean and dried.

TO CLEAN THE THERMO/HYGRO SENSOR
- Unscrew the 2 screws at the bottom of the radiation shield.
- Gently pull out the shield.
- Remove carefully any dirt or insects inside the sensor casing (Do not let the sensors inside get wet).
- Clean the shield with water and remove any dirt or insects.
- Install all the parts back when they are fully clean and dried.
TROUBLESHOOTING
| Problem / Symptom | Solution |
| Strange or no measurement of Rain Sensor | 1. Check the drain hole in the rain collector. 2. Check the balance indicator. |
| Strange or no measurement of Thermo / Hygro Sensor | 1. Check the radiation shield. 2. Check the sensor casing. |
| Strange or no measurement of Wind Speed and Direction | 1. Check wind cups (Anemometer). 2. Check the wind vane. |
| 1. Relocate the main unit and 5-in-1 sensor closer to each other. 2. Make sure the main unit is placed away from other electronic appliances that may interfere with the wireless communication (TVs, computers, microwaves). 3. If the problem continues, reset both the main unit and 5-in-1 sensor. | |
SPECIFICATIONS
| CONSOLE | |
| Dimensions (W x H xD) | 202 x 138 x 38mm |
| Weight | 530g with backup batteries |
| Main power | DC 5V, 600mA adaptor |
| Backup battery | 3 x AAA size 1.5V batteries (Alkaline batteries recommended) |
| Support sensor | Wireless 5-in-1 sensor (Wind speed, Wind direction, Rain gauge, thermo-hygro) |
| RF frequency | 868Mhz |
| RADIO-CONTROLLED / ATOMIC CLOCK | |
| Synchronization | Auto or disabled |
| Clock display | HH:MM:SS / Weekday |
| Hour format | 12hr AM / PM or 24hr |
| Calendar | DD/MM |
| Weekday in 5 languages | EN, FR, DE, ES, IT |
| Time signal | DCF |
| DST | AUTO / OFF |
| INDOOR BAROMETER | |
| Barometer unit | hPa, inHg and mmHg |
| Measuring range | 540 ~ 1100hPa |
| Accuracy | (700 ~ 1100hPa ± 5hPa) / (540 ~ 696hPa ± 8hPa) (20.67 ~ 32.48inHg ± 0.15inHg) / (15.95 ~ 20.55inHg ± 0.24inHg) (525 ~ 825mmHg ± 3.8mmHg) / (405 ~ 522mmHg ± 6mmHg) Typical at 25°C (77°F) |
| Resolution | 1hPa / 0.01inHg / 0.1mmHg |
| Weather forecast | Sunny/Clear, Slightly Cloudy, Cloudy, Rainy, Rainy/Stormy, and Snowy |
| Memory modes | Max & Min from last memory reset (with time stamp), Historical data of past 24 hours |
| Alarm | Pressure change alarm |
| INDOOR TEMPERATURE | |
| Temperature unit | °C or °F |
| Operating range | -5°C to 50°C (14°F to 122°F) |
| Resolution | 1 decimal place |
| Accuracy | +/- 1°C or 2°F typical @ 25°C (77°F) |
| Memory modes | Max & Min from last memory reset (with time stamp), Historical data for last 24hrs |
| Alarm | Hi / Lo Temperature Alert |
| INDOOR HUMIDITY | |
| Operating range | 20% to 90%RH (Temperature between 0°C to 60°C) |
| Resolution | 1% |
| Accuracy | 20 ~ 40% RH, ± 8% RH, at 25°C (77°F) 41% ~ 70% RH, ± 5% RH, at 25°C (77°F) 71% ~ 90% RH, ± 8% RH, at 25°C (77°F) <20%: LO; > 90%: HI |
| Memory modes | Max & Min from last memory reset (with time stamp), Historical data for last 24hrs |
| Alarm | Hi / Lo Humidity Alert |
| OUTDOOR TEMPERATURE (Note: Data detect from wireless 5-in-1 sensor) | |
| Temperature unit | °C or °F |
| Resolution | 1 decimal place |
| Accuracy | 5.1 ~ 60°C ± 0.4°C (41.2 ~ 140°F ± 0.7°F) -19.9 ~ 5°C ± 1°C (-3.8 ~ 41°F ± 1.8°F) -40 ~ -20°C ± 1.5°C (-40 ~ -4°F ± 2.7°F) |
| Memory modes | Max & Min from last memory reset (with time stamp), Historical data for last 24hrs |
| Alarm | Hi / Lo Humidity Alert |
| OUTDOOR HUMIDITY (Note: Data detect from wireless 5-in-1 sensor) | |
| Displayed range | 0% to 100% RH |
| Resolution | 1% |
| Accuracy | 1 ~ 20% RH ± 6.5% RH @ 25°C (77°F) 21 ~ 80% RH ± 3.5% RH @ 25°C (77°F) 81 ~ 99% RH ± 6.5% RH @ 25°C (77°F) |
| Memory modes | Max & Min from last memory reset (with time stamp), Historical data for last 24hrs |
| Alarm | Hi / Lo Humidity Alert |
| RAIN (Note: Data detect from wireless 5-in-1 sensor) | |
| Unit for rainfall | mm and in |
| Range for rainfall | 0~9999mm (0~393.7inches) |
| Resolution | 0.4 mm (0.0157 in) |
| Accuracy for rainfall | Greater of +/- 7% or 1 tip |
| Memory modes | Max rainfall from last memory reset, Historical data for last 24hrs |
| Alarm | Hi Rainfall Alert |
| WIND (Note: Data detect from wireless 5-in-1 sensor) | |
| Wind speed unit | mph, m/s, km/h, knots |
| Wind speed range | 0~112mph, 50m/s, 180km/h, 97knots |
| Wind speed resolution | 0.1mph or 0.1knot or 0.1m/s |
| Speed accuracy | < 5m/s: +/- 0.5m/s; > 5m/s: +/- 6% |
| Direction resolutions | 16 |
| Memory modes | Max gust speed with direction (with time stamp), Historical data for last 24hrs |
| Alarm | Hi Wind speed Alert (Average / Gust) |
| WIRELESS 5-IN-1 SENSOR | |
| Dimensions (W x H x D) | 343.5 x 393.5 x 136 mm |
| Weight | 673g with batteries |
| Operating temperature range | -40 ~ 60°C (-40 ~ 140°F) Lithium batteries required for low-temperature usage |
| Operating humidity range | 1% to 99% RH |
| Battery | 3 x AA size 1.5V battery (Alkaline batteries recommended) |
| RF Frequency | 868 MHz |
| RF transmission range | Up to 150 meters |
| Transmission | Every 12 seconds |
Need more help?
Please contact us:
| [email protected] | |
| +31 (0)493-326 626 (Mo – Fri / 08.30 – 17.00) Available in Dutch, English and German |



















