
Model : BFCT1S-RI-CBL

Bathroom faucet – Ria™
INSTRUCTION MANUAL
IMPORTANT: READ CAREFULLY AND KEEP.
![]()
Rev. 07-04-2022
Made in China
Residential use only
Indoor use only
INCLUDED HARDWARE
| ITEM | DESCRIPTION | QUANTITY |
| Faucet pre-assembled Robinet | × 1 | |
| Cover plate Plaque | × 1 | |
| Hot and cold water pipes | x 1 | |
| Faucet washer Rondelle | x 1 | |
| Metal washer Rondelle | × 1 | |
| Faucet ring Anneau | x 1 |
| Drain pre-assembled Drain | × 1 |
| Drain washer Rondelle | × 1 | |
| Drain rubber washer Rondelle | x 1 | |
| Drain ring | x 1 |
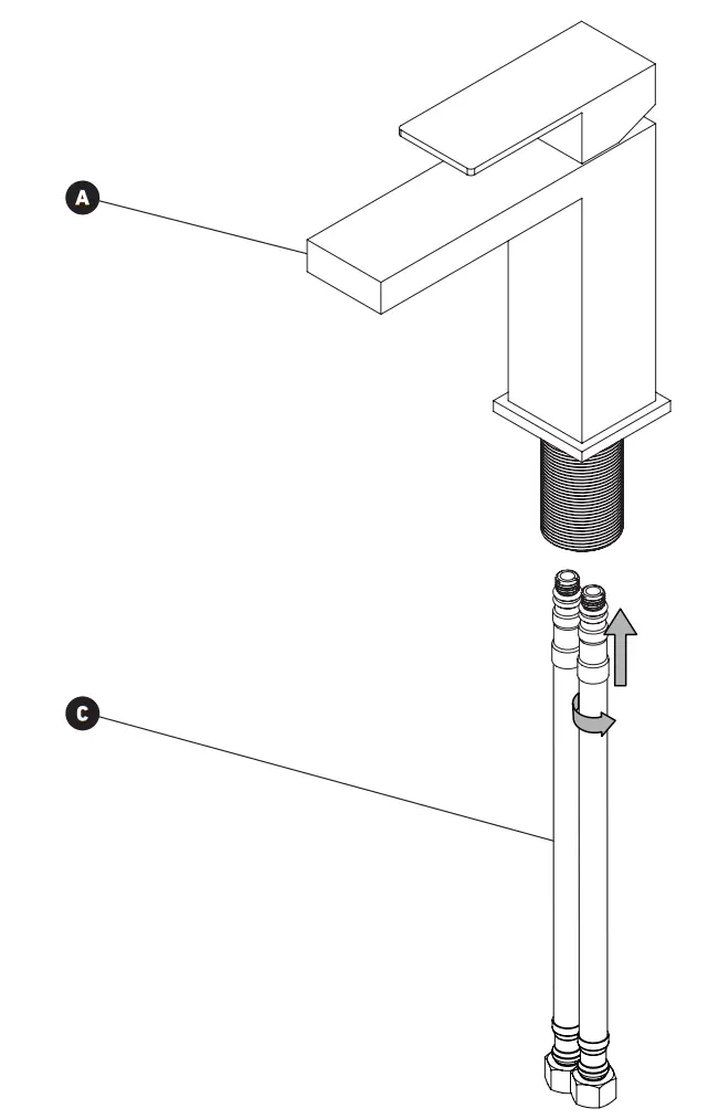
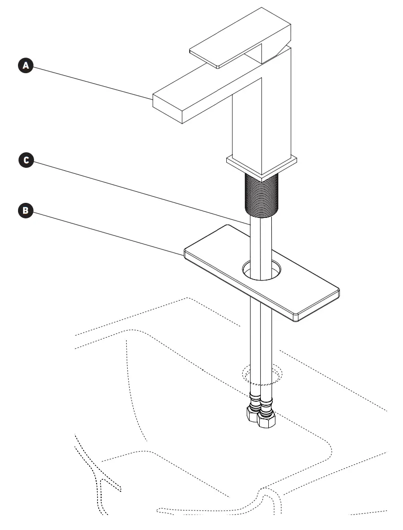
EXPLODED VIEW

CAUTION
IMPORTANT
The installer and/or user must read, understand and follow these instructions before installing the product. This product must be properly installed before it is used.
If instructions are not followed, the manufacturer will not be held responsible for any problems or product malfunction. Failure to follow installation and/or operating instructions voids the warranty.
We recommend that this product be installed by a certified plumber. In some states or provinces, it is a legal requirement for this type of product to be installed by a certified plumber, according to the plumbing and building codes effective in the region where the unit is used.
Shut off the water supply before installing the faucet or doing any maintenance.

INSTALLATION






FINAL CONFIGURATION

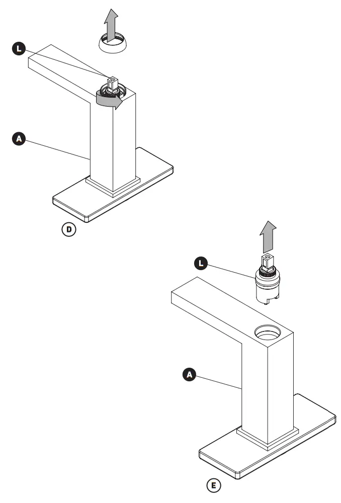
CARTRIDGE REPLACEMENT
| ITEM | DESCRIPTION | QUANTITY |
| Handle | x 1 | |
| Cartridge | x 1 |



ARTIKA LIMITED LIFETIME WARRANTY
Artika for Living Inc. is proud to offer you a Five-year (5) limited lifetime warranty on manufacturing defects of your faucet from the date of purchase for residential use only. The warranty is extended to the original owner in USA and Canada and is non-transferable. It does not apply to retailers, commercial applications or establishments. The original sales receipt is required for all warranty claims. The remedy under this limited warranty shall be product or part replacement at Artika’s discretion as provided herein and cannot exceed the original purchase price. All accessories included with the faucet purchase are covered under a Five-year (5) limited warranty.
This warranty is valid only on faucets installed in accordance with the building code and laws effective in the region where the unit is used as well as in accordance with the provided instruction manual. It does not cover faucets installed incorrectly or subjected to abnormal use. Faucet(s) or component(s) may be required to be returned for inspection and verification.
Normal wear and tear (including but not limited to chips, scratches, stains or impact damages), misuse, negligence, vandalism, improper maintenance (surface damage due to chemical interaction or cleaning agents including, but not limited to, scouring pads, use of cleaners containing abrasives, alcohol or other organic solvents)improper handling, accident, abuse, fire, flood, theft, acts of God, neglect, or alteration of the faucet will not be covered under this limited warranty.
The warranty does not cover handling, labor, transportation, or any other cost associated with the installation or replacement of the faucet. This limited warranty is valid in the country of purchase and by Artika authorized retailers only.
Artika for Living Inc. will not be held responsible for any direct or consequentialdamages or injuries related to the use of this product arising from improper use or installation of this product.
Please visit www.artika.com to discover more about Artika for Living Inc.

Artika For Living Inc.
1756, 50th Avenue
Montréal (Lachine), Québec
Canada H8T 2V5
1-866-661-9606
[email protected]
www.artika.com
Customer Service
Monday to Friday
9 am – 5 pm EST
















