MGC MIX-4070 Slc Short Circuit Isolator Instruction
25 Interchange way, Vaughan Ontario. L4K 5W3
Phone: 905.660.4655; Fax: 905.660.4113
Web: www.mircom.com
INSTALLATION AND MAINTENANCE INSTRUCTIONS
MIX-4070 SLC SHORT CIRCUIT ISOLATOR
ABOUT THIS MANUAL
This manual is included as a quick reference for installation. For fur-ther information on the use of this device with a FACP, please refer to the panel’s manual.
Note: This manual should be left with the owner/operator of this equipment.
MODULE DESCRIPTION
The MIX-4070 SLC Short Circuit Isolators enable part of the commu-nication loop to continue operating when a short circuit occurs on it. An LED indicator blinks in the normal condition and turns on during a short circuit condition. Only LED of devices next to the short are steady on for easy identification of faulty SLC section. The module will automatically restore the entire communication loop to the normal condition when the short circuit is removed. The module is a hard-ware only device that does not require an address. There are no lim-its on number installed on the SLC as long as total loop current limit is respected. This is a low current device.
SPECIFICATIONS
- Normal Operating Voltage: 15 to 30VDC
- Activation Current: 9.6mA
- Standby Current: 0.6mA
- Temperature Range: 32F to 120F (0c to 49C)
- Humidity: 10% to 93% Non-condensing
- Dimensions: 4 5/8”H x 4 1/4” W x 1 1/8” D
- Mounting: 4” square by 2 1/8” deep box
- Accessories: BB-400 Electrical Box
- Wiring range on all terminals: 22 to 12 AWG
FIGURE 1 ISOLATOR MODULE WIRING:
MOUNTING
Notice: You must disconnect power from the system before installing the module. If this unit is being installed in a system that is currently operational, it is necessary to inform the operator and the local authority that the system will be temporarily out of service.
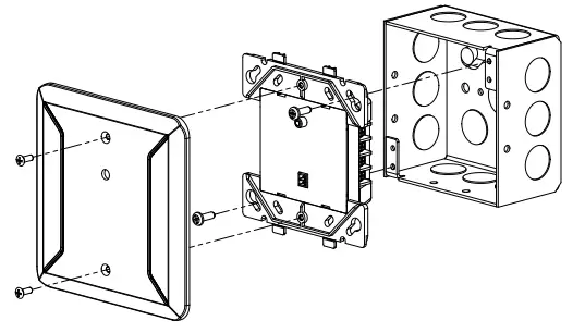
The MIX-4070 module is intended to be mounted in a standard 4” square back-box (see Figure 2). The box must have a minimum depth of 2 1/8 inches. Surface mounted electrical boxes (BB-400) are available from Mircom.
NOTE: The number of devices that may be installed between fault isolator modules will vary depending upon the types of devices being isolated. Contact the fire alarm control panel manufacturer for the isolator load ratings of individual devices.
FIGURE 2 MODULE MOUNTING:
WIRING
Note: This device should be installed as per applicable requirements of the authorities having jurisdiction. This device shall be connected to power limited circuits only.
- Install module wiring in accordance with the job drawings and the wiring diagram in Figure 1.
- Secure module to electrical box (supplied by installer).




















