ZURN ZER-SM Series Automatic Battery-Powered Flush Valve Retrofit Kit

Product Information
- Sensor Range: 12 to 60 (adjustable)
- Power Type: Battery powered; 4x C size
- Operating Water Pressure: 25 psi [172 kPa] (Running); 80 Psi [552 kPa] Max (Static)
- Limited Warranty
Product Usage Instructions
- Prior to Installation:
- Important Safety Information
- Package Contents:
- ZER-SM Actuator
- EZ Flush Retrofit Instructions
- Hex Wrench
- ZERK-SM Wrench
- Collar Nut Collar Gasket
- Shut off water supply at stop.
- Installation:
- Using the supplied wrench, loosen handle nut.
- Remove handle from flush valve. Note: A small amount of water may drip from the port.
- Place gasket into nut and attach the EZ Flush unit where the handle was removed.
- Tighten nut with supplied wrench
- Note: Save handle in the event you wish to reuse for service of EZ Flush
- EZ Flush Activation Instruction:
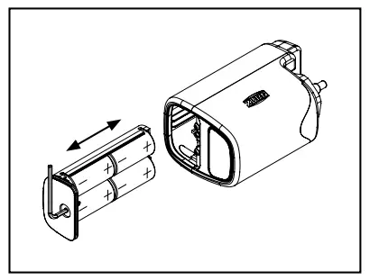
- Using supplied hex wrench, remove battery compartment from the EZ FlushTM unit.
- Load batteries into compartment tray and reinstall battery tray into the EZ Flush unit. See position of batteries on the left. If installed incorrectly, valve will not work and LED will blink once every 5 seconds.
- Customized Sensor Range Setting:
- Unit comes calibrated from the factory. To re-calibrate for a specific environment, follow these steps:
- While standing next to (not directly in front of) the unit, hold a large and flat, non-reflective object (e.g. white sheet of paper) in front of lens at desired calibration distance (12-60).
- Hold a Zurn Magic Magnet at the position shown below and observe the LED light for up 5 seconds and begin to blink once every half a second.
- When blinking begins, remove magnet. After a double blink. This signals that the unit has been re-calibrated.
- Maintaining Your EZ Flush:
- and connections.
- Shut stop, open cover, reinstall the working parts, replace both covers and tighten. This procedure should also be repeated when the system is drained for seasonal use, as occurs in athletic fields, recreation parks, etc.
- Flush Valve Trouble Shooting Guide:
- Low Battery / Incorrect batteries orientation
- Diaphragm damaged or valve control stop improperly adjusted.
LIMITED WARRANTY
All goods sold hereunder are warranted to be free from defects in material and factory workmanship for a period of three years from the date of purchase. Decorative finishes warranted for one year. We will replace at no costs goods that prove defective provided we are notified in writing of such defect and the goods are returned to us prepaid at Sanford, NC, with evidence that they have been properly maintained and used in accordance with instructions. We shall not be responsible for any labor charges or any loss, injury or damages whatsoever, including incidental or consequential damages. The sole and exclusive remedy shall be limited to the replacement of the defective goods. Before installation and use, the purchaser shall determine the suitability of the product for his intended use and the purchaser assumes all risk and liability whatever in connection therewith. Where permitted by law, the implied warranty of merchantability is expressly excluded. If the products sold hereunder are “consumer products,” the implied warranty of merchantability is limited to a period of three years and shall be limited solely to the replacement of the defective goods. All weights stated in our catalogs and lists are approximate and are not guaranteed.
! WARNING: Cancer and Reproductive Harm – www.P65Warnings.ca.gov
Specifications
- Sensor Range: 12” to 60” (adjustable)
- Power Type: Battery powered; 4x C size
- Operating Water Pressure: 25 psi [172 kPa] (Running); 80 Psi [552 kPa] Max (Static)
- Operating Temperature: 35°F to 104°F [2°C to 40°C]
Prior to Installation
Before installing your Zurn® automatic sensor-equipped flush valve, the items listed below should already be installed on site:
- Closet or urinal fixture
- Fixture carrier
- Drain line
- Water supply line
Important Safety Information
- Do not convert or modify this Zurn product. All warranties will be voided.
- All plumbing is to be installed in accordance with applicable codes and regulations.
- Water supply lines must be sized to provide an adequate volume of water for each fixture.
- Flush all water lines prior to making connections.
- Do not use pipe sealant or plumbing grease on any fitting other than the control stop inlet.
- Sensor units should not be located across from each other or in close proximity to highly reflective surfaces.
- Control stop should never be opened to allow flow greater than fixture is capable of evacuating. In the event of valve failure, fixture must be able to handle a continuous flow.
Package Contents

EZ Flush Retrofit Instructions
Shut off water supply at stop.
- Using the supplied wrench, loosen handle nut.
- Remove handle from flush valve.
Note: A small amount of water may drip from the port. - Place gasket into nut and attach the EZ Flush unit where the handle was removed.
- Tighten nut with supplied wrench
Note: Save handle in the event you wish to reuse for service of EZ Flush
EZ Flush Activation Instruction
- Using supplied hex wrench,remove battery compartment from the EZ Flush™ unit.
- Load batteries into compartment tray and reinstall battery tray into the EZ Flush unit. See position of batteries on the left. If installed incorrectly, valve will not work and LED will blink once every 5 seconds.
- Secure tray with hex key. The last three turns of the wrench will activate the EZ Flush unit.
- The EZ Flush System is now operational. Your EZ Flush unit comes preset from the factory.
- If special circumstances require adjustment of the activation distance, see Appendix A – Adjusting Your EZ Flush.

Visual Indicator Guide
- Initialization / Power up
Lights up for 1 sec on first time startup. - Target Detection
3 blinks while detecting, then a double blink indicating target qualified. It will continue to double blink every 30 seconds if target remains present. After target is no longer detected, EZ-Flush will flush after 2 seconds. - Low Battery / Batteries Orientation Incorrect
1 blink every 5 seconds.
Maintaining Your EZ Flush
- Before the supply water is turned on, be sure all stop valves to the flush valves are closed off tight. The stop valves can be opened and closed by using the adjusting screw located at the center of the stop valve cap, behind the stop valve cover if already installed. Stop valve adjustments can only be made by using the adjusting screw.
- It is not necessary to remove the stop valve cap when making adjustments. If for any reason it becomes necessary to remove the stop valve cap, be certain the water is shut off at the main supply valve.
- When all flush valves are connected to the fixtures and water pressure is available, it isrecommended that the supply piping be flushed to remove dirt, pipe chips, etc., from system.

- Use the following procedure to flush out the supply piping:
- Remove the main valve body cover.
- Remove the working parts from the flush valve shown on the right
- Replace the plastic cover and main body cover without reinstalling the working parts.
- Open the stop valve by using the stop adjusting screw and flush out all debris from pipe and connections.
- Shut stop, open cover, reinstall the working parts, replace both covers and tighten.

- This procedure should also be repeated when the system is drained for seasonal use, as occurs in athletic fields, recreation parks, etc.
- The ZER flush valves are preset for fixture volume as marked on the valve cartons. The valve does not require regulation for variation in water pressure within its operating range. To set the flush valve for proper operation, gradually adjust the stop valve open, using the adjusting screw, while actuating the valve until the rate of water flow into the fixture is not excessive, yet is sufficient to adequately evacuate the waste. The final setting for urinals should be such that the fixture will not overflow when the valve is actuated in succession. The stop cap screw cover should be replaced after final adjustments have been made.

Customized Sensor Range Setting
Unit comes calibrated from the factory. To re-calibrate for a specific environment, follow these steps:
- While standing next to (not directly in front of) the unit, hold a large and flat, nonreflective object (e.g. white sheet of paper) in front of lens at desired calibration distance (12”-60”).
- Hold a Zurn Magic Magnet at the position shown below and observe the LED light for up 5 seconds and begin to blink once every half a second.
- When blinking begins, remove magnet. After a double blink. This signals that the unit has been re-calibrated.


Flush Valve Trouble Shooting Guide
| PROBLEM | CAUSE | SOLUTION |
| Status LED blink 1 once every 5 seconds | Low Battery / Incorrect batteries orientation | Replace and/or install batteries with the correct orientation. |
| Not enough water to fixture or too much water to fixture. | Diaphragm damaged or valve control stop improperly adjusted. | Replace diaphragm and/or adjust valve control stop. |
| Valve will not operate. | Object Lock Sensor range set too close to EZ Flush, batteries are dead, or water supply is turned off. | Adjust Object Lock Sensor, replace batteries, or turn water on. If the EZ Flush does not begin to function, call Customer Service at 1-800-997-3876. |
| Valve does not shut off. | Dirt or debris preventing diaphragm from functioning properly. | Remove dirt or debris, check by-pass hole in diaphragm. |
| Valve does not flush even after Object Lock Sensor has been adjusted. | Batteries are dead. | Replace batteries. If the EZ Flush does not begin to function, call Cus- tomer Service at 1-800-997-3876. |
ABOUT COMPANY
- Patent zurn.com/patents
- US 1.855.ONE.ZURN CANADA 1.877.892.5216
- ZURN.COM




















