ZER-SM Series Automatic Battery Powered Flush Valve
User Manual
ZER-SM Series Automatic Battery Powered Flush Valve

LIMITED WARRANTY
All goods sold hereunder are warranted to be free from defects in material and factory workmanship for a period of three years from the date of purchase. Decorative finishes warranted for one year. We will replace at no costs goods that prove defective provided we are notified in writing of such defect and the goods are returned to us prepaid at Sanford, NC, with evidence that they have been properly maintained and used in accordance with instructions. We shall not be responsible for any labor charges or any loss, injury or damages whatsoever, including incidental or consequential damages. The sole and exclusive remedy shall be limited to the replacement of the defective goods. Before installation and use, the purchaser shall determine the suitability of the product for his intended use and the purchaser assumes all risk and liability whatever in connection therewith. Where permitted by law, the implied warranty of merchantability is expressly excluded. If the products sold hereunder are “consumer products,” the implied warranty of merchantability is limited to a period of three years and shall be limited solely to the replacement of the defective goods. All weights stated in our catalogs and lists are approximate and are not guaranteed.
WARNING: Cancer and Reproductive Harm – www.P65Warnings.ca.gov
Specifications
Sensor Range: 12” to 60” (adjustable)
Power Type: Battery powered; 4x C size
Operating Water Pressure: 25 psi [172 kPa] (Running); 80 Psi [552 kPa] Max (Static)
Operating Temperature: 35°F to 104°F [2°C to 40°C]
Important Safety Information
- Do not convert or modify this Zurn product. All warranties will be voided.
- All plumbing is to be installed in accordance with applicable codes and regulations.
- Water supply lines must be sized to provide an adequate volume of water for each fixture.
- Flush all water lines prior to making connections.
- Do not use pipe sealant or plumbing grease on any fitting other than the control stop inlet.
- Sensor units should not be located across from each other or in close proximity to highly reflective surfaces.
- Control stop should never be opened to allow flow greater than fixture is capable of evacuating. In the event of valve failure, fixture must be able to handle a continuous flow.
Prior to Installation
- Before installing your Zorn® automatic sensor-equipped flush valve, the items listed below should already be installed on site:
– Closet or urinal fixture
– Fixture carrier
– Drain line
– Water supply line
Package Contents

| Required Tools | Optional Accessories |
![]() | |
Sweat Solder Adapter Installation Instructions
NOTE: Before installation, turn off water supplies to existing fixture and remove flushometer if replacing an existing device.
- Measure distance from finished wall to the center line of the fixture spud. If necessary, cut water supply pipe 1-1/4” shorter than this measurement. Deburr by chamfering O.D. and I.D of end of water supply pipe.

- Slide threaded sweat solder adapter onto water supply pipe until shoulder stops on end of pipe. Then sweat-solder the adapter to water supply pipe.

- Measure distance from finished wall to first thread of sweat solder adapter. If necessary, cut chrome cover tube this length.

- Slide wall escutcheon over chrome cover tube and slide both items over water supply pipe. Press wall escutcheon flush against finished wall and tighten set screw with hex wrench (supplied) to secure it in place.

Control Stop Installation Instructions
- Install control stop assembly by threading it onto water supply pipe and tightening with a smooth jawed wrench. Apply thread sealing compound or pipe tape to male NPT thread on sweat solder adapter only.
Prior to turning on main water supply line ensure all stop valves are closed off tight by using a flathead screwdriver and turning the stop valve adjustment screw clockwise.
- When all stop valves are properly connected to the water supply line and water pressure is available, open the control stop using a flat head screwdriver and turning the stop valve adjustment screw counterclockwise. Allow the water supply line to flush any debris or sediment that may be present in the line. Close the control stop once the lines are completely flushed.

Flush Valve Installation Instructions

Prior to attaching flush valve tailpiece to control stop, inspect and verify that the O-ring seal is located within the O-ring groove at the tailpiece. Ensure that the locking nut and locking snap ring are also present on the tailpiece.
Lubricate O-ring with water if necessary and insert flush valve tailpiece into the control stop valve. Tighten locking nut using a smooth jawed wrench.
Vacuum Breaker & Flush Connection Installation Instructions

Determine the length of vacuum breaker tube required to join the flush valve and fixture spud, and cut if necessary.
Slide the tube nut, spud nut, slip gasket, rubber gasket and spud escutcheon over the vacuum breaker tube and insert tube into fixture spud. Hand tighten tube nut to valve body and hand tighten spud nut onto fixture spud. Adjust the valve assembly for plumb. Tighten fixture spud nut, vacuum breaker tube nut and locking nut with a wrench.
Adjust and plumb the valve assembly. Tighten all connections with smooth jawed wrench and turn on water supply at the control stop.
DO NOT cut vacuum breaker tube shorter than 6” below the -C-L- indicator mark, as vacuum breaker must be 6” above the fixture. Consult plumbing Codes & Regulations for specific details.
EZ Flush Installation Instructions

Mount actuator and collar gasket onto handle port hole as shown. Use supplied wrench to secure the handle nut to body tighten clock-wise.
EZ Flush Activation Instruction
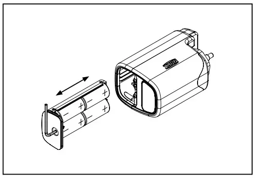
Using supplied hex wrench,remove battery compartment from the EZ Flush™ unit.
Load batteries into compartment tray and reinstall battery tray into the EZ Flush unit. See position of batteries on the left. If installed incorrectly, valve will not work and LED will blink once every 5 seconds.
Secure tray with hex key. The last three turns of the wrench will activate the EZ Flush unit. The EZ Flush System is now operational.
Your EZ Flush unit comes preset from the factory. If special circumstances require adjustment of the activation distance, see Appendix A – Adjusting Your EZ Flush.

Visual Indicator Guide
- Initialization / Power up
Lights up for 1 sec on first time startup. - Target Detection
3 blinks while detecting, then a double blink indicating target qualified. It will continue to double blink every 30 seconds if target remains present. After target is no longer detected, Flush will flush after 2 seconds. - Low Battery / Batteries Orientation Incorrect
1 blink every 5 seconds.

Maintaining Your EZ Flush
Before the supply water is turned on, be sure all stop valves to the flush valves are closed off tight. The stop valves can be opened and closed by using the adjusting screw located at the center of the stop valve cap, behind the stop valve cover if already installed. Stop valve adjustments can only be made by using the adjusting screw.
It is not necessary to remove the stop valve cap when making adjustments. If for any reason it becomes necessary to remove the stop valve cap, be certain the water is shut off at the main supply valve.

When all flush valves are connected to the fixtures and water pressure is available, it is recommended that the supply piping be flushed to remove dirt, pipe chips, etc., from system.
Use the following procedure to flush out the supply piping:

- Remove the main valve body cover.
- Remove the working parts from the flush valve shown on the right
- Replace the plastic cover and main body cover without reinstalling the working parts.
- Open the stop valve by using the stop adjusting screw and flush out all debris from pipe and connections.
- Shut stop, open cover, reinstall the working parts, replace both covers and tighten.
This procedure should also be repeated when the system is drained for seasonal use, as occurs in athletic fields, recreation parks, etc.

The ZER flush valves are preset for fixture volume as marked on the valve cartons. The valve does not require regulation for variation in water pressure within its operating range. To set the flush valve for proper operation, gradually adjust the stop valve open, using the adjusting screw, while actuating the valve until the rate of water flow into the fixture is not excessive, yet is sufficient to adequately evacuate the waste. The final setting for urinals should be such that the fixture will not overflow when the valve is actuated in succession. The stop cap screw cover should be replaced after final adjustments have been made.
Customized Sensor Range Setting
Unit comes calibrated from the factory. To re-calibrate for a specific environment, follow these steps:
- While standing next to (not directly in front of) the unit, hold a large and flat, nonreflective object (e.g. white sheet of paper) in front of lens at desired calibration distance (12”-60”).
- Hold a Zurn Magic Magnet at the position shown below and observe the LED light for up 5 seconds and begin to blink once every half a second.
- When blinking begins, remove magnet. After a double blink. This signals that the unit has been re-calibrated.

Flush Valve Trouble Shooting Guide
| PROBLEM | CAUSE | SOLUTION |
| Status LED blink 1 once every 5 seconds | Low Battery / Incorrect batteries orientation | Replace and/or install batteries with the correct orientation. |
| Not enough water to fixture or too much water to fixture. | Diaphragm damaged or valve control stop improperly adjusted. | Replace diaphragm and/or adjust valve control stop. |
| Valve will not operate. | Object Lock Sensor range set too close to EZ Flush, batteries are dead, or water supply is turned off. | Adjust Object Lock Sensor, replace batteries, or turn water on. If the EZ Flush does not begin to function, call Customer Service at 1-800-997-3876. |
| Valve does not shut off. | Dirt or debris preventing diaphragm from functioning properly. | Remove dirt or debris, check by-pass hole in diaphragm. |
| Valve does not flush even after Object Lock Sensor has been adjusted. | Batteries are dead. | Replace batteries. If the EZ Flush does not begin to function, call Customer Service at 1-800-997-3876. |
ZER-SM Series Parts Breakdown

Part Identification
| 1. Seal 2. Collar Gasket 3. Shell & Sensor Module 4. Replacement Sensor Lens 5. Battery Drawer 6. Battery Drawer O-Ring 7. Allen Wrench 8. Handle Nut Wrench 9. Diaphragm Valve Body Cover 10. Plastic Cover 11. Trip Mechanism 12. Diaphragm Repair Kit 13. Diaphragm Valve Body 14. Vacuum Breaker Duckbill 15. Vacuum Breaker Tube | 16. Vacuum Breaker Tube Nut 17. Spud Nut 18. Spud Friction Washer 19. Spud Sleeve 20. Spud Escutcheon 21. Tailpiece 22. Snap Ring 23. Tailpiece O-Ring 24. Locking Nut 25. Setscrew for Cast Wall Flange 26. Cast Wall Escutcheon 27. Supply Cover Tube 28. Sweat Solder Adapter 29. Stop Body 30. Piston Seal | 31. Piston 32. Stop Spring 33. Guide O-Ring 34. Piston Guide 35. Guide Holder 36. Adjusting Screw 37. Stop Cap 38. Snap Cap Screw Cover 39. Vandal – Resistant Control Stop Cover 40. Setscrew for Control Stop Cover 41. Metro Valve Body Cover 42. Metro Valve Body Volver Gasket 43. Internal Kit 44. Main Seat 45. Metro Valve Body |
| Diaphragm Valve Covers and Repair Kits | Product No. |
| Outside Cover – CP – Item 10 | P6000-LL-CP |
| Inside Cover – Item 11 | P6000-L |
| Low Consumption Closet Kit – 1.28 gal. flush | P6000-ECA-HET |
| Low Consumption Closet Kit – 1.6 gal. flush | P6000-ECA-WS1 |
| Water Saving Closet Kit – 3.5 gal. flush | P6000-ECA-WS |
| Full Flow Closet Kit – 4.5 gal. flush | P6000-ECA-F F |
| Ultra Low Flush Urinal Kit – 0.125 gal. flush | P6000-EUA-ULF |
| Extra Water Saver Urinal Kit – 0.5 gal. flush | P6000-EUA-EWS |
| Low Consumption Urinal Kit – 1.0 gal. flush | P6000-EUA-WS1 |
| Water Saving Urinal Kit – 1.5 gal flush | P6000-EUA-WS |
| Full Flush Urinal Kit – 3.0 gal. flush | P6000-EUA-F F |
| Metro Valve Covers and Repair Kits | Product No. |
| Outside Cover – CP – Item 41 | P6200-LL-CP |
| 0.125 gpf Outside Cover – Item 41 | P6200-LL-ULF-CP |
| Outside Cover 0-Ring – Item 42 | P6000-ECA-HET |
| 3.5 gpf Integral Repair Kit, Item 43 | P6200-EC-WS |
| 1.5 gpf Integral Repair Kit, Item 43 | P6200-EU-WS |
| 1.6 gpf Low Consumption Closet Kit, Item 43 | P6200-EC-WS1 |
| 1.0 gpf Low Consumption Urinal Kit, Item 43 | P6200-EU-WS1 |
| 1.28 gpf High Efficiency Closet Kit, Item 43 | P6200-EC-HET |
| 0.5 gpf High Efficiency Urinal Kit, Item 43 | P6203-EU-EWS |
| 0.125 gpf Ultra Low Flush Kit, Item 43 | P6203-EU-ULF |
| Main Seat, Item 44 | P6000-S-30 |
| 0.125 gpf Main Seat, Item 44 | P6200-MS-ULF |
| Repair Parts – Inside Parts | Product No. |
| Urinal Relief Valve – Item 12 | P6000-EU13 |
| Closet Relief Valve – Item 12 | P6000-EC13 |
| Control Stop Repair Kit and Parts | Product No. |
| Control Stop Repair Kit for 1″ and 314″, Includes Items 33-39 | P6000-D-SD |
| Seal Seat for 1′ and 3/4″, Includes Item 33 | P6000-D42 |
| VP Control Stop Repair Kit for 1- and 3/4″, Includes Items 33-39 | P6000-D-VP |
| Sweat Solder Connection with Cast Wall Flange, Includes Items 29-31 | P6000-YBYC |
| Handle Assembly and Repair Kits | Product No. |
| Chrome Plastic Cover, Item 6 | PERK6000-L-CPCR |
| Chrome Metal Cover, Item 7 | PERK6000-L-CPMCR |
| Replacement Sensor Lens Item 5 | PERK6000-SCR |
| Battery Drawer, Item 8 | PERK6000-BD |
| Repair Kit Includes Items 1, 2, 4, and 9 | PERK6000-RK |
| Repair Kit Includes Items 1, 2, Retainer and Cup Seal | PERK6000-MRK |
| Sensor Module | PERK6000-SR |
Rev. A
Date: 02/07/23
C.N. No. 145085
Prod./Dwg. No. FV828
Patent zurn.com/patents
US 1.855.ONE.ZURN CANADA 1.877.892.5216
ZURN.COM




















