HALCYON EX106 Dimmable Landscape Spike Spot

SPECIFICATION

Note: Due to the rugged nature of exterior landscape lighting installations EX106 series feature an easily replaceable module for ease of maintenance and repair. Replacement lamp code EX106 7W.
SAFETY INSTRUCTIONS
Read these instructions carefully before commencing installation and retain for future reference. The luminaire should be installed by a licensed electrician and in accordance with local regulations. Make sure that the power is off before installation or maintenance. Install as described.
- Modification or misuse of the luminaire voids warranty.
- Do not connect luminaire to live power source.
- Take care during installation, incorrect connection may damage the luminaire resulting in reduced lifespan.
- 316 Stainless steel surfaces should be maintained regularly if the factory polished appearance is desired, clean with a soft cloth and a neutral detergent.
- Halcyon lighting is free to change the design, specifications and instructions for assembly of the luminaire without notice.
- Halcyon Exterior products go through extensive waterproof testing prior to sale. Due to the nature of the tests all Copper luminaires will have slight “water staining”. Please note that once installed Copper develops natural natina finish and this will negate anv effects from the aforementioned testing process
INSTALLATION INSTRUCTION

Maximum Circuit Runs
| Halcyon 24V Driver | 20W / 0.83A | 40W / 1.67A | 50W / 2.0A | 75W / 3.0A | 150W / 6.25A | 200W / 8.34A | 320W / 13.3A |
| Maximum Connected EX1061T Tall | 2x EX1061T | 4x EX1061T | 5x EX1061T | 8x EX1061T | 17x EX1061T | 23x EX1061T | 37x EX1061T |
| Maximum Connected EX106 2T Tall | 1x EX106 2T | 2x EX106 2T | 2x EX106 2T | 4x EX106 2T | 8x EX106 2T | 11x EX106 2T | 18x EX106 2T |
Maximum recommended circuit runs are calculated by the max wattage/ amperage of driver vs the number of lights of the circuit and start up/ operating current required by each light. For long runs voltage drop must also be taken into account.
Constant Voltage Driver DC24V

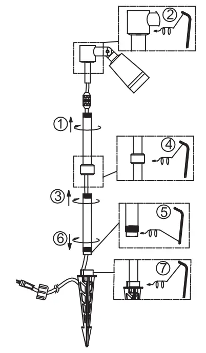
- Tighten threaded extension into spot head.
- Secure grub screw to lock spot head in place.
- If additional extension is required, thread both extensions together to create a double length extension piece.
- Secure in place (if extra extension is being used).
- Secure cable clamp to ensure cable is not twisted during steps 6/7.
- Carefuly thread spike adapter to extension base, allow feed cable to hang freely and rotate spike around cable.
Important: Ensure feed cable does not bind/twist when tightening spike. If the feed cable is rotated around and around with spike it will twist connections internally and potentially damage the spot head. - Secure in place.
WIRING DIAGRAM




















