imperii Universal Bike Car Rack

INSTRUCTIONS FOR USE


ASSEMBLY
After removing product packaging, follow the steps below to assemble rack:
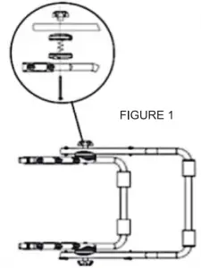
- Release rack side bolts using the ABS threads to open rack (see figure 1) and position it with a 90° angle (see figure 2).
- Support arms with foam pads should sit against hatchback, while parallel horizontal arms are the ones that will hold the bikes.
- Assemble ABS securing rings on parallel horizontal arms. Assemble the securing ring pairs you need (each securing ring pair can
hold one bike; maximum number of bikes for this rack is 3) (see figure 2). - Fit the end of a fixation band to one end of each securing ring (see figure 2).
- Fit technical fabric straps to hooks situated on vertical arms. To do so, first measure the length needed to be able to correctly fix the bike rack to your car. Ensure that the fixation knot made is secure and that it will not loosen with the bikes’ weight. Finally, fit ABS hooks to the other end of technical fabric straps.
- Fit bike rack to your car’s hatchback by putting ABS hooks into upper, lower and side edges of hatchback. Ensure bike rack is NOT loose. Make the necessary adjustments in case bike rack is still loose.
- Once bike rack is correctly installed, you can place your bikes on it. Put central bike frame into securing rings and fix it by adjusting fixation bands – previously fitted on securing ring ends- to bike frame’s size. Repeat the same process with each bike.
NOTE: Ensure that all fixations are correctly attached both to vehicle and bikes before starting the drive. In long drives, stop several times to ensure that straps are not loosening.
Be careful -reduce speed and drive smoothly to ensure that the load remains correctly attached to your vehicle.
LIST OF COMPATIBLE CAR. MODELS
| BRAND | MODEL | YEAR |
| AIFA ROMEO | 145 | 94>01 |
| 146 | 96>01 | |
| 147 | 00>04 | |
| 147 | 05>10 | |
| 155 | 92>98 | |
| 156 | 97>05 | |
| 159 | 05>08 | |
| 166 | 98>03 | |
| 156 cross wagon | 04>07 | |
| 156 Crosswa11on | 00>05 | |
| GTV | 98>03 | |
| Mito | 08> | |
| AUDI | A3 | 96>03 |
| A3 Sport back | 04> | |
| A4 | 05>06 | |
| A4 | 07>11 | |
| A4 | 9 4>04 | |
| A4 Allroad | 09>11 | |
| A4 Avant | 01>07 | |
| A4 Avant | 08> | |
| A4 Avant | 96>00 | |
| A5 | 07> | |
| A5 Coupe’ | 07>10 | |
| A6 | 05>10 | |
| A6 | 94>04 | |
| A6 | 11> | |
| A6 Allroad | 06>09 | |
| A6 Avant | 11> | |
| A6 Avant | 94>97 | |
| A8 | 94>09 | |
| BMW | Serie 3 | 91>05 |
| Serie 3 Coupe | 96>99 | |
| Serie 3 Touring (E30) | 82>94 | |
| Serie 3 Touring (E36) | 90>01 | |
| Serie 3 Touring (E46) | 98>06 | |
| Serie 3 Touring (E91) | 05>12 | |
| Serie 5 | 10> | |
| Serie 5 | 97>03 | |
| Z4 | 02>08 |
| BRAND | MODEL | YEAR |
| CHEVROLET | Cruze | 09> |
| Epica | 06> | |
| Evanda | 02> | |
| kalos | 02>07 | |
| kalos | 08> | |
| Lacetti | 04> | |
| Lanos | 96>04 | |
| Lequanza | 97>02 | |
| Malibu | 09> | |
| Nexsia | 95> | |
| Nubira | 99> | |
| Nibira Station Wagon | 97> | |
| CHRYSLER | C300 | 05> |
| C300 Touring | 05> | |
| PT Cruiser | 00> | |
| Voyager | 90>01 | |
| CITROEN | C2 | 03>09 |
| C3 | 13> | |
| C5 | 01>04 | |
| C5 | 08> | |
| DS3 | 10> | |
| Xsara Picasso | 99>07 | |
| ZX | 92>99 | |
| DACIA | Logan | 04> |
| Sandero | 08> | |
| DAIHATSU | Sirion | 98>05 |
| FIAT | Bravo | 07> |
| cinquecento | 91>02 | |
| Idea | 03>07 | |
| Marea | 97>03 | |
| Marea Weekend | 95> | |
| Panda | 80>03 | |
| Punto | 03>06 | |
| Punto | 07>10 | |
| Punto | 93>98 | |
| Punto | 99>02 | |
| Punto Evo | 09>12 | |
| Secicento | 98>10 | |
| Stilo | 01>10 |
| BRAND | MODEL | YEAR |
| FORD | Escort | 91>98 |
| Escort Station Wagon | 96>01 | |
| Fiesta | 02>08 | |
| Fiesta | 98>01 | |
| Focus Wagon | 05>10 | |
| KA | 09> | |
| Mondeo | 01>06 | |
| Mondeo | 93>00 | |
| Sierra | 99> | |
| Sierra Station Wagon | 99> | |
| HONDA | Civic | 96>06 |
| Legend | 90>03 | |
| HYUNDAI | Accent | 03> |
| Atos | 99> | |
| Elantra | 00>05 | |
| Elantra | 06> | |
| Getz | 02 | |
| I10 | 11> | |
| I20 | 09> | |
| I30 | 07>09 | |
| I30 | 10>11 | |
| I30 Station Wagon | 08>09 | |
| I30 Station Wagon | 10>11 | |
| Lantra | 00>03 | |
| Lantra | 04> | |
| Lantra Station Wagon | 98> | |
| Matrix | 01> | |
| Sonica | 98> | |
| Terracan | 01>01 | |
| Tucson | 04> | |
| KIA | Carnival | 98>01 |
| Cee’d | 07>08 | |
| Cee’d Station Wagon | 07>11 | |
| LANCIA | Kappa | 95>01 |
| Lybra | 99> | |
| Ypsilon | 03>10 | |
| MAZDA | 6 | 03>07 |
| Premacy | 02> | |
| MERCEDES | B (W 245) | 05>11 |
| MISUBISHI | Lancer (no EVO) | 92>03 |
| NISSAN | Juke | 10> |
| BRAND | MODEL | YEAR |
| OPEL | Aguila | 08> |
| Antara | 06> | |
| Astra | 10> | |
| Astra | 91>97 | |
| Astra | 98>09 | |
| Astra Sportourer | 10> | |
| Corsa | 00>06 | |
| Corsa | 07>10 | |
| Corsa | 11> | |
| Meriva | 03>09 | |
| Vectra | 95>02 | |
| Vectra Station Wagon | 95>08 | |
| Zafira | 05> | |
| PEUGEOT | 106 | 92>03 |
| 205 | 83>98 | |
| 206 | 99>08 | |
| 207 | 06> | |
| 306 | 93>02 | |
| 307 | 01> | |
| 806 | 94>01 | |
| 3008 | 09> | |
| 308 Station Wagon | 08>10 | |
| Partner Tepee | 08>11 | |
| RENAULT | Clio L | 90>97 |
| Laguna | 01>07 | |
| ROVER | 25 | 00> |
| 75 | 99> | |
| 600 | 93>99 | |
| SEAT | Alhambra | 10> |
| Altea | 10> | |
| Altea | 04>09 | |
| A;tea XL | 10> | |
| Altea | 09> | |
| Exeo | 09> | |
| Ibiza | 08>12 | |
| Ibiza | 12> | |
| Ibiza SC | 08> | |
| Ibiza ST | 10> | |
| Leon | 10> | |
| Mii | 12> |
| BRAND | MODEL | YEAR |
| SKODA | Citago | 12> |
| Fabia | 07> | |
| Fabia | 99>06 | |
| Fabia Wagon | 07> | |
| Justy | 98>02 | |
| Octavia | 09>11 | |
| Roomster | 04>09 | |
| Superb | 02> | |
| Superb Station Wagon | 10> | |
| Yeti | 09> | |
| SUBARU | Legacy | 09> |
| SUZUKI | Alto | 09> |
| TATA
| Indica | 08> |
| Indigo Station Wagon | 02>08 | |
| Indigo Station Wagon | 09> | |
| Vista | 10> | |
| TOYOTA | Avensis | 04>08 |
| Avensis Verso | 97>03 | |
| Corolla | 02> | |
| Corolla Station Wagon | 88> | |
| IQ | 09> | |
| Yaris | 11> | |
| VOLKSWAGEN | Bora | 06> |
| Bora | 98>03 | |
| Cc | 12> | |
| Golf III | 92>97 | |
| Golf IV | 98>03 | |
| Golf V | 03>08 | |
| Golf Variant | 92>03 | |
| Passat | 88> | |
| Passat cc | 08> | |
| Polo | 01>09 | |
| Polo | 10> | |
| Polo | 95>01 | |
| Sharan | 96>10 | |
| VOLVO | 440 | 87>97 |
| S60 | 10> |
Limited Warranty
✓ This product is guaranteed for 2 years from the date of purchase.
✓ Warranty is effective since the commercial invoice duly is filled and sealed settlement.
✓ If there is any problem with the product, the user should contact us in the adress:
[email protected]. Once received, the doubts, incidents and problems will be resolved by email. If this is not possible and the problem persists, the guarantee will be processed in accordance with current law.
✓ The warranty is extended for two years, referring only to manufacturing defects
✓ The expedition to the nearest service center or our central office to be made prepaid. The item must arrive well packed and with all its components.
✓ Assume no liability for damages arising from misuse of the product
✓ The warranty does not apply in the following cases:
- If you have not been followed this manual correctly
- If the product has been tampered
- If it has been damaged by improper use
- If the defects have arisen as a result of power failures
PRODUCT__________________________
MODEL____________________________
SERIES_____________________________
TECHNICAL SERVICE : http://imperiielectronics.com/index.php?controller=contact

imperii Universal Bike Car Rack User Manual – Download [optimized]
imperii Universal Bike Car Rack User Manual – Download
imperii Universal Bike Car Rack User Manual – OCR PDF


















