SARIS 28800A All-Star 2 Bike Tray Rack Instruction Manual
Parts Included

Tools Needed
- 3/4 inch wrench

- 1/2 inch wrench

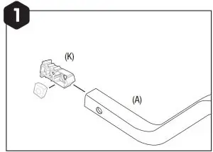
Pre Installation
- Place hitchtite(K) into the receiver(A). Line up the hitchtite nut with hole in receiver.

Assembly & Installation
Tip: For easier assembly insert receiver into hitch. However, assembly can completed prior to installation.
Determine whether your hitch is 1.25” or 2”. If 2”, you must use the adapter block to allow your rack to fit into a 2” receiver hitch. Slide adapter block over the receiver tube as shown below. Note correct block placement. Bolt threads will not engage if used incorrectly.

- Place receiver(A) in hitch and tighten bolt(J) and washer to vehicle. Secure with clevis pin(L).

- Hold horizontal bar(H) so holes face you and the set screw faces down. Slide wheel trays(C) onto the horizontal bar(H), from center(side with holes) outward. Trays face opposite directions, with first wheel tray oriented so knob faces you.

- Repeat with 2nd horizontal bar(H).

- Place first horizontal bar between the receiver plates, lining up holes. Insert carriage bolts(B) into the square holes and secure with the nut. Repeat with second horizontal bar(H).

- Orient vertical mast(I) with buckle strap at top. Slide short hook(E) from bottom to top and repeat with long hook(F). Knobs should be oriented opposite of buckle strap.

Note: For the majority of bike combinations, the short hook is on the outside bike position. However, there may be bike fi ts that require the hooks to be reversed. - Place vertical mast into the receiver plate, lining up holes. Insert carriage bolt(B) into lower hole, place lanyard loop(D) around bolt and secure with washer and nut. Insert pin with cage(D) into the upper hole.

Bike Loading
- Adjust trays to fi t the placement of bike(s) so that the bike(s) sits completely within the trays. Tighten knobs.

Note: Place heavier bike in the position closest to the vehicle. Bikes should face opposite directions. - Loosen knob to push the longer hook onto bike. Ensure the hook arm is fully engaged onto cross tube of the bike. Tighten knob.

Note: For the majority of bike combinations, the short hook is on the outside bike position. However, there may be bike fi ts that require the hooks to be reversed. - Secure bike(s) wheels using wheel straps.

- Install outer bike in the same manner.

- Wrap buckle strap around the top tube of the bike(s) and secure the strap in the buckle.

Technical Specifications
- Bike carrier weight: 21lbs / 9.5kg
- Permitted load capacity – 2 bikes: 90lbs/40kgs
- Max bike weight: 45 lbs/20kg each
CAUTIONS
- Read and follow instructions carefully. Save owner’s manual for future reference or parts information. Ensure that any other users of the bicycle carrier are familiar with their content.
- It’s the end users responsibility to ensure that use of this product meets all local and state laws.
- When cleaning vehicle and rack, use only water soluble cleaners. Do not take rack through car wash.
- Make sure bike tires are not directly behind exhaust pipe.
- Rack must be installed directly into vehicle hitch receiver. Do not modify the hitch receiver or use hitch extenders.
- Do not mount to any type of trailer or RV including Class B vehicles.
- Prior to usage on the road, remove all loose parts from bicycle, including (but not limited to) child seat, basket, lock, light, pump, etc.
- This carrier is not recommended for off-road use or for use at speed exceeding 70 mph (113 km/h).
- The handling characteristics of a vehicle will change when a rear bicycle carrier is fitted and especially when it is loaded (in particular crosswind sensitivity,
handling on bends and braking). Driving techniques should be altered to allow for these changes. Reduce speed, especially on bends and allow for longer braking distances. - The vehicle’s total length increases when the bike carrier is attached. The bikes themselves may increase the vehicle’s total width and height. Take care when reversing and/or entering garages or ferries, etc.
- Remove carrier from vehicle when not in use.
- This carrier is constructed to carry standard-bike-frames. It is not intended for use with tandem or recumbent bicycles.
- Replace any mounting strap at the first sign of wear. Replacement parts are available from Saris Cycling Group by calling 1-800-783-7257.
- Tighten straps regularly during the journey.
- Vehicle should be in good condition in the area at which the hitch is located.
- Do not exceed maximum load capacity of carrier (90 lbs max or 45lbs max per bike!) Secure properly and adjust for even load distribution, loading the heaviest/biggest bike first and closest to the vehicle.
- Saris Cycling Group absolves itself of responsibility for any personal injuries or consequential damage to property or wealth caused by incorrect fitting or use.
Recommended Rack Maintenance & Care Instructions
Each use:
- Wipe down trunk rack feet
- Avoid ground contact with trunk rack feet
- Check straps for signs of wear
- Check bike cradles and wheel scoops
- Check for loose bolts
Every 90 days actions:
- Clean with water and mild soap
- Lubricate locks if applicable (use wet, oil-based lubricant; NO WD-40)
- Grease hitch bolt threads
- Check for scratches in paint.
Official Warranty Terms: Saris Racks
Saris Cycling Group, Inc (SCG), parent company of Saris Racks, warrants our products to the original consumer to be free from defects in materials and workmanship. Your purchase includes the following warranty which is in lieu of all other express warranties. This warranty is extended only to the initial consumer purchaser. This warranty gives you specific legal rights. You may have other legal rights which vary from state to state. Please retain your sales slip for your records, as proof of purchase will be required.
Warranty Term
- Car Racks: Limited Lifetime*
- Home Storage/Bike Storage: Limited Lifetime*
- Kool Rack: 1 Year
- Parking Racks: 1 Year
*Warranty only valid for original purchaser. Limited lifetime warranty available in North America only.
Manufacturing defects are most likely to be identified on new products or early in the product’s lifespan. Each warranty claim is unique, and it is solely up to SCG to determine if a product can be covered by the limited lifetime warranty due to defects, or if the product has suffered wear and tear. Any product or part thereof found to be defective within the term as set forth above will be replaced without charge provided that: (1) its failure resulted from a defect in material or workmanship and not from normal wear and tear expected in the use of the product; (2) the product was not abused, misused, improperly assembled, improperly maintained or damaged by accident or installation of parts or accessories not originally intended or compatible with the racks as originally sold., (3) there was no failure to follow instructions or warnings in Owner’s Manual; (4) no alterations or modifications were made; and (5) the product or part is delivered, freight prepaid, to Saris Cycling Group or an authorized service center. Please call 1-800-783-7257 to obtain return authorization prior to return. Any other claims not included in the statements above are void and will not be honored. SCG reserves the right to inspect any product before issuing a replacement. SCG’s only obligation shall be to replace such products or parts that it determines are defective.
Limitations
THE FOREGOING WARRANTIES ARE THE ONLY WARRANTIES MADE BY SCG. THERE ARE NO OTHER WARRANTIES. ANY WARRANTY THAT MIGHT OTHERWISE BE IMPLIED BY LAW INCLUDING, BUT NOT LIMITED TO ANY IMPLIED WARRANTY OF MERCHANTABILITY OR FITNESS FOR A PARTICULAR PURPOSE ARE LIMITED STRICTLY TO THE APPLICABLE LENGTH OF THIS LIMITED WARRANTY.
SCG shall not be liable for incidental or consequential losses, damages, or expenses in connection with its products. SCG’s liability hereunder is expressly limited to the replacement of goods not complying with this warranty or, at SCG’s election, to the repayment of an amount of the purchase price of the product in question.
Exclusions
- If consumer does not comply with all warnings, cautions, or instructions listed in Instruction Manual, damage is not covered under warranty
- Impact/collision damage is not covered under warranty
- Cradles and strap damage due to improper arm placement are not covered under warranty
- Carrying anything other than a bicycle is not covered under warranty
- Paint damage – chipping, cracking, or fading is not covered under warranty
- Rust is wear and tear and is preventable with rack maintenance
- Weather impact (UV, salt air/water)
- Damage to mounting surface
- Damage or loss resulting from failure to replace/maintain consumable items not covered.
- Not following Recommended Rack Maintenance
- Consumable Items not covered by warranty. Including but not limited to.
- Arm and wheel tray adjustment knobs
- Frame and wheel straps
- Vehicle attachment straps
- Molded wheel trays
- Frame cradles
- Threaded assemblies
- Ratcheting assemblies






























