Ostro Furniture AOF-RBT016 Bedside Table

Assembly Requirements

Quickfit/Cam Lock Guide
- To use the quickfit/cam lock, first insert the quickfit into the panel. The “shoulder” of the quickfit should be flush against the panel, as shown in (a).

- When inserting the cam lock, ensure the orientation is correct, as shown, so that it aligns properly with the quickfit, as shown in (b) and (c).


- Once the panels have been connected, tighten the cam lock with a screwdriver (d).

Important Safety Information
IMPORTANT: Please read this manual carefully, and keep it for future reference.
- This piece of furniture is intended for use in domestic environments. It is not suitable for commercial, industrial or trade use. Do not use it for any other purpose, and only use it as described in this manual.
- Assembly to be carried out by a competent adult only. Please check all parts and hardware are available and undamaged before use.
- During assembly children should be kept away from the product due to possible risk of injury.
- Do not use this item if any components are missing or damaged.
- Regularly check all fastenings to ensure that they properly tightened.
- Do not use the unit outdoors. It is for indoor use only.
- Keep away from fire and heat sources.
- Be aware of the risk of open fires and other sources of strong heat in the vicinity of the product.
- Do not use this product in a bathroom or laundry, or where it can be splashed with water.
- This item of furniture is not intended to be assembled by persons (including children) with reduced physical, sensory or mental capabilities, or lack of experience and knowledge.
- Handle this product with care. Do not shake the product vigorously or drop it from an elevation. Doing so will damage the product or shorten its lifespan. Do not sit or stand on the item of furniture, which may lead to potential injury. Do not press hard on top of the unit or place very heavy things on top of it.
- Always place the product on a dry, stable, level and horizontal surface. Never place it on an inclined or uneven surface.
- Do not locate the item of furniture near appliances that get hot during use, such as heaters, ovens or fireplaces. Avoid long-term exposure to direct sunshine.
- We accept no responsibility for any eventual injury or damage caused by improper installation, misuse or noncompliance with the instructions.
- These instructions are not intended to cover every possible condition and situation. As with any product, common sense and caution are therefore always recommended when assembling, using and maintaining the item of furniture.
- Do not over-tighten fixtures.
- Power tools are not recommended for assembly.
- This item of furniture is heavy – take care when moving it. Multiple people or a mechanical aid may be required.
- CAUTION: Do not allow children to climb on this furniture – it may topple over and badly injure a child. Do not place toys or other items that may appeal to a child on top of this furniture item.
- CAUTION: Attachment of this item of furniture must be attached to an appropriate structural component of the building using suitable means, as advised by a qualified tradesperson, is strongly recommended.
Care and Maintenance:
- Ensure that all fastenings and fixtures have been sufficiently tightened. You may need to re-tighten periodically, as necessary.
- To clean, wipe clean with a damp cloth, before drying thoroughly.
- Do not place hot or wet items on the surface.
- Do not drag or pull your furniture.
Responsible disposal
- Packaging materials are recyclable. Please dispose of them responsibly for recycling.
- At the end of its working life, do not throw this item of furniture out with your household waste. Please dispose of this product at your local community’s waste collection/ recycling centre. Observe any local regulations regarding the disposal of this type of product.
NOTE: Due to continued product improvement, images and illustrations in this manual may vary slightly from the product purchased. All images in this set of assembly instructions are for reference purposes only. Parts are not necessarily pictured to scale.
ASSEMBLY INSTRUCTIONS
Before you begin, please follow assembly instructions carefully, then follow them step by step.
Read instruction carefully. See Furniture Parts list and Hardware List for guidance. Be sure you have all parts before you start assembling. Place and assemble furniture on a clean flat soft surface, such as carpet or rug to pervent being scratched.



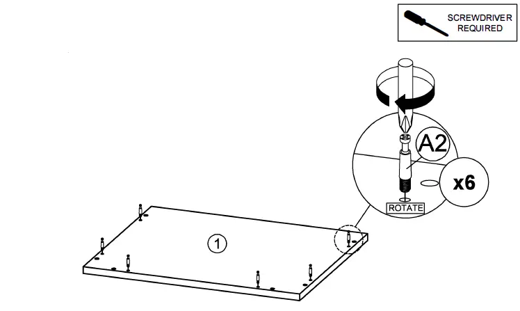
- STEP 1
- Insert hardware A2 onto panel (1). (Repeat 6 times.)

- Insert hardware A2 onto panel (1). (Repeat 6 times.)
- STEP 2
- Insert hardware A 1 onto panel (3) and (4).(Repeat 4 times.)
- Insert hardware B onto panel (3) and (4).(Repeat 8 times.)

- STEP 3
- Insert hardware A 1 onto panel (5).(Repeat 2 times.)
- Insert hardware A2 onto panel (6).(Repeat 4 times.)
- Insert hardware B onto panel (5).(Repeat 4 times.)

- STEP 4
- Insert hardware A 1 onto panel (8) and (9).(Repeat 4 times.)
- Insert hardware B onto panel (8) and (9).(Repeat 4 times.)

- STEP 5
- Fix hardware L 1 (L/R) into panel (3) and (4) with hardware E. (Repeat 3 times for each hardware.)

- Fix hardware L 1 (L/R) into panel (3) and (4) with hardware E. (Repeat 3 times for each hardware.)
- STEP 6
- Attach panel (5) to panel (1).
- Insert all hardware A2 into A 1.
- Rotate all A 1 until tight.
- Apply A3 onto all A 1. (Repeat 2 times.)

- STEP 7
- Attach panel (3) and (4) to panel (1).
- Insert all hardware A2 into A 1.
- Rotate all A 1 until tight.
- Apply A3 onto all A 1. (Repeat 4 times.)

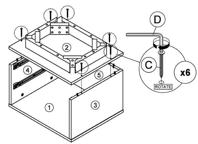
- STEP 8
- Connect panel (2) to panel (3), (4) and (5) by using hardware C and D. (Repeat 6 times.)

- Connect panel (2) to panel (3), (4) and (5) by using hardware C and D. (Repeat 6 times.)
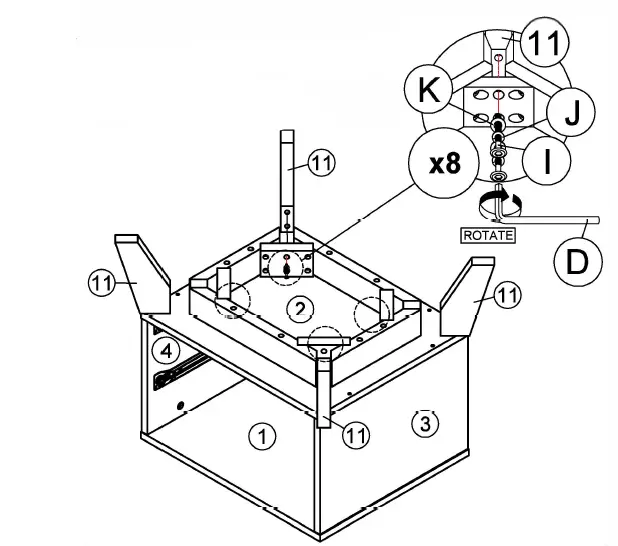
- STEP 9
- Assemble part 11 into panel (2) by using hardware D, I, J and K. (Repeat 2 times for each Leg.)

- Assemble part 11 into panel (2) by using hardware D, I, J and K. (Repeat 2 times for each Leg.)
- STEP 10
- Hit hardware H into bottom of part (11). (Repeat 4 times.)

- Hit hardware H into bottom of part (11). (Repeat 4 times.)
- STEP 11
- Fix hardware M onto panel (6) by using hardware F. (Repeat 1 times for each hardware.)

- Fix hardware M onto panel (6) by using hardware F. (Repeat 1 times for each hardware.)
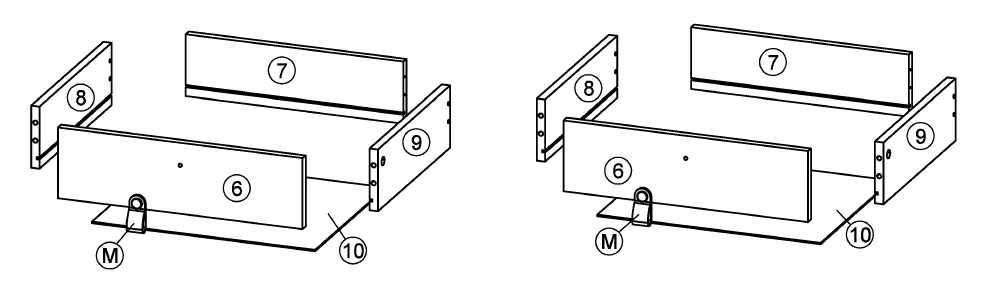
- STEP 12
- Assemble panel (7) with panel (8) and (9) by using hardware G. (Repeat 8 times.)

- Assemble panel (7) with panel (8) and (9) by using hardware G. (Repeat 8 times.)
- STEP 13
- Insert the panel (10) along the slot. (Repeat 2 times.)

- Insert the panel (10) along the slot. (Repeat 2 times.)
- STEP 14
- Attach panel (6) to panel (8) and (9).
- Insert all hardware A2 into A 1.
- Rotate all A 1 until tight.
- Apply A3 onto all A 1. (Repeat 4 times.)

- STEP 15
- Assemble hardware L2 (L/R) to panel (8) and (9) by using hardware E. (Repeat 3 times for each hardware.)

- Assemble hardware L2 (L/R) to panel (8) and (9) by using hardware E. (Repeat 3 times for each hardware.)
- STEP 16
- Put all the drawer in place along the drawer slides.

- Put all the drawer in place along the drawer slides.
Warranty returns
Should you for any reason need to return this product for a warranty claim, make sure to include all accessories with the product.
Product does not work?
If you encounter problems with this product, or if it fails to perform to your expectations, make sure to contact our After Sales Support Centre on (AU) 1300 886 649 or (NZ) 0800 836 761 for advice.
For an electronic copy of this manual, please contact our after sales support centre.
Distributed by Tempo (Aust) Pty Ltd ABN 70 106 100 252
PO BOX 132, Frenchs Forest NSW 1640, Australia
Customer Helpline: (AU) 1300 886 649 (NZ) 0800 836 761
Web Support: tempo.erg/support





































