FORTE FINVNKK111 Vankka Bedside Table

TOOLS

DIMENSION

Follow the manufacturer’s assembly instructions, otherwise danger may occur.





Service

| Code | DIMENSIONS | Colli – 0001 |
| 020622 | 462x410x2 | 1 |
| 133163 | 452x413x15 | 2 |
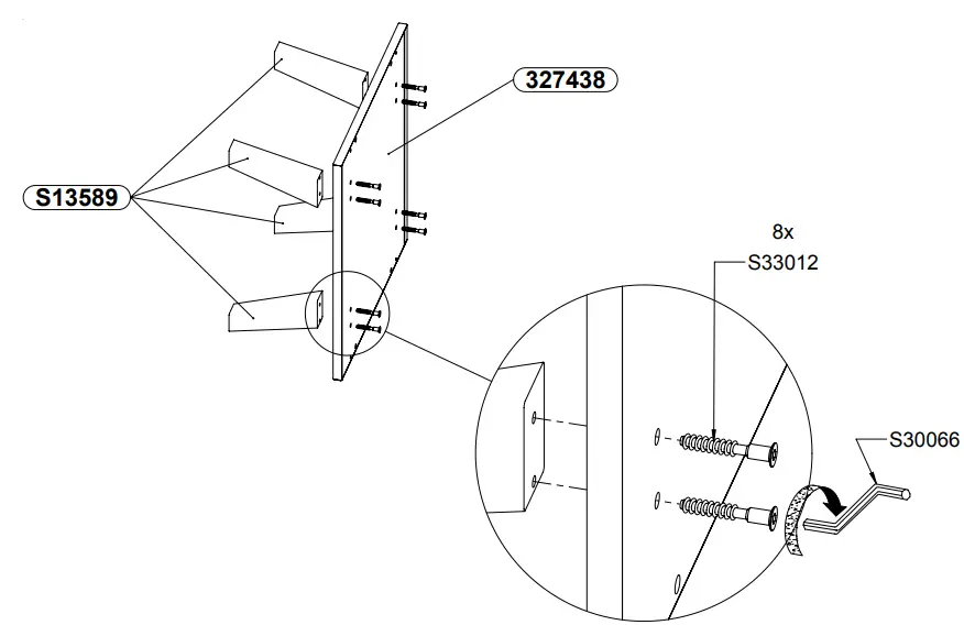
| 327438 | 434x415x15 | 1 |
| 327439 | 450x420x22 | 1 |
| 72032 | 394x221x15 | 2 |
| 80243LN | 350x138x15 | 2 |
| 80243PN | 350x138x15 | 2 |
| 80350TN | 362x138x15 | 2 |
| 90699 | 379x349x2 | 2 |
| S13589 | 150x55x32 | 4 |


INSTALLATION















Before suspending or fixing furniture to the wall (in order to prevent falling over), check the type and strength of the wall. Select wall plugs and screws appropriate for the given type of the wall. In the case of doubts, contact a specialist. The installation must be performed by a competent person.
WARNING!!! If the rawlplugs with screws are attached to the product, then they are intended only for walls made of solid and homogeneous materials.


Fixing of furniture to the wall.


GUIDELINES FOR FURNITURE CARE
Please follow the below specified remarks in order to properly take care of your furniture:
A clean dry soft fabric must be used for cleaning. If the furniture requires thorough cleaning, then you can slightly moistened it with water or cleaning agent designed for furniture cleaning, and subsequently the cleaned elements must be wiped until they’re dry. Metal and glass parts must be cleaned using commercially available cleaning agents designed for cleaning of this type of materials, in accordance with the included instructions.
Do not use corrosive agents, scouring agents and other agents if their intended use is unknown.
The cleaning agents must have clear marking that they are intended for cleaning furniture. WARNING!!! High gloss elements, from which the protective foil was removed, may be cleaned and used only after 72 hours.



















