Instructions for assembling furniture
Collection
«MONAKO»
Couch table L AH-028.55.00.00

Production date Stamp of Quality Department
ЕАЭС № BY/112 11.01. TP025 018 02789
от 28.02.2017
по 27.02.2022
Instruction manual.
It’s advised to check the quality and completeness of the product in the store when buying unpacked. Assembling of the product should be done the way it’s described in this manual. While the product is in service loose screw connections should be periodically tightened . If it’s necessary to move items around the apartment before moving you should release the product completely from the load (the mattress). To prevent damage to existing supports the product should be lifted before moving. Dusting the product should be done with a slightly damp soft cloth. To prevent warping of parts and discoloration of products do not install furniture in direct sunlight.
While the product is in service it’s PROHIBITED TO:
– Install furniture near heating devices, close to the raw walls and in rooms with a relative humidity of more than 70%;
– heat elements of furniture to the temperature higher 40 C;
– step on the horizontal shields and windows during assembly and use of the products set;
– use chemical cleaners for cleaning furniture;
Manufacturer’s warranty.
- The warranty period of use of the product – 24 months from the date of sale. During the warranty period the manufacturer guarantees repair or replacement of products, if the user has not violated operating rules.
- Claims should be made by the consumer directly to the trading organization, in which furniture was purchased, presenting the “Instruction manual ” and a copy of the sales receipt.
- The product, Couch table L, which is part of a set of «MONAKO», meets the requirements of GOST 16371-93, TR TS 025/2012.
- The lifetime of furniture – 10 years.
- The manufacturer reserves the right to make changes in product design, without compromising its design and application requirements.
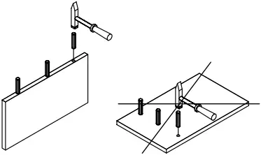
- To assemble the products it’s recommended to attract qualified personnel.
It is important! Keep the instruction in case of reassembly of furniture or complaint. When making a claim use the notation from the instruction.
![]() | |
![]() | ![]() |
No | Length mm. | Width mm | Thickness mm. | Qty pcs. | No. |
| 1 | 700 | 400 | 16 | 1 | 1/1 |
| 2 | 700 | 400 | 16 | 1 | 1/1 |
| 3 | 410 | 80 | 16 | 4 | 1/1 |
| A1
8 | A2
8 |
| C1
8х35 4 | S5
8 |
| I
| R24
|
| N7
4 | R102
3,5х16 16 |
«MONAKO» Couch table L
I









1
7×50 4




















