TROTEC TCH 1 E Small Rooms Convector Owner’s Manual
Notes regarding the operating manual
Symbols
Warning of electrical voltage
This symbol indicates dangers to the life and health of persons due to electrical voltage.
Warning of hot surface
This symbol indicates dangers to the life and health of persons due to hot surface.
Warning
This signal word indicates a hazard with an average risk level which, if not avoided, can result in serious injury or death.
Caution
This signal word indicates a hazard with a low risk level which, if not avoided, can result in minor or moderate injury.
Note
This signal word indicates important information (e.g. material damage), but does not indicate hazards.
Info
Information marked with this symbol helps you to carry out your tasks quickly and safely.
Follow the manual
Information marked with this symbol indicates that the operating manual must be observed.
TCH 1 E

https://hub.trotec.com/?id=42755
You can download the current version of the operating manual and the EU declaration of conformity via the following link:
Safety
Read this manual carefully before starting or using the device. Always store the manual in the immediate vicinity of the device or its site of use.
Warning
Read all safety warnings and all instructions.
Failure to follow the warnings and instructions may result in electric shock, fire and/or serious injury. Save all warnings and instructions for future reference.
This appliance can be used by children aged from 8 years and above and persons with reduced physical, sensory or mental capabilities or lack of experience and knowledge if they have been given supervision or instruction concerning use of the appliance in a safe way and understand the hazards involved. Children shall not play with the appliance. Cleaning and user maintenance shall not be made by children without supervision.
Warning
Children of less than 3 years should be kept away from the device unless continuously supervised. Children aged from 3 years and less than 8 years shall only switch on/off the appliance provided that it has been placed or installed in its intended normal operating position and they have been given supervision or instruction concerning use of the appliance in a safe way and understand the hazards involved. Children aged from 3 years and less than 8 years shall not plug in, regulate and clean the appliance or perform user maintenance.
Warning
Do not use the device in small rooms if persons are present who cannot leave the room independently and who are not under constant supervision.
- Do not use the device in potentially explosive rooms or areas and do not install it there.
- Do not use the device in aggressive atmosphere.
- Only put up the device in an upright, stable position on firm ground.
- Let the device dry out after a wet clean. Do not operate it when wet.
- Do not use the device with wet or damp hands.
- Do not expose the device to directly squirting water.
- Never insert any objects or limbs into the device.
- Do not cover the device during operation.
- Do not remove any safety signs, stickers or labels from the device. Keep all safety signs, stickers and labels in legible condition.
- Do not sit on the device.
- This appliance is not a toy. Keep away from children and animals. Do not leave the device unattended during operation.
- Check accessories and connection parts for possible damage prior to every use of the device. Do not use any defective devices or device parts.
- Ensure that all electric cables outside of the device are protected from damage (e.g. caused by animals). Never use the device if electric cables or the power connection are damaged!
- The mains connection must correspond to the specifications in the Technical annex.
- Insert the mains plug into a properly fused mains socket.
- Observe the device’s power input, cable length and intended use when selecting extensions to the power cable. Completely unroll extension cables. Avoid electrical overload.
- Before carrying out maintenance, care or repair work on the device, remove the mains plug from the mains socket. Hold onto the mains plug while doing so.
- Switch the device off and disconnect the power cable from the mains socket when the device is not in use.
- Do not under any circumstances use the device if you detect damages on the mains plug or power cable. If the power cable is damaged, it must be replaced by themanufacturer, its service agent or similarly qualified persons in order to avoid a hazard. Defective power cables pose a serious health risk!
- When installing the device, observe the minimum distances from walls and other objects as well as the storage and operating conditions according to the technical data (chapter Technical annex).
- Keep a safety distance of at least 1 m between the air inlet and the air outlet of the device and all combustible materials such as textiles, curtains, beds and sofas.
- Make sure that the air inlet and outlet are not obstructed.
- Make sure that the suction side is kept free of dirt and loose objects.
- Do not place the device on combustible ground.
- Only use original spare parts, for otherwise safe and functional operation cannot be ensured.
- Allow the device to cool down before transport and/or maintenance work.
- The device must not be positioned directly beneath a wall socket.
- The device must be set up in a way that the switches and controllers cannot be touched by a person in a bathtub or shower.
- Do not use the device if it has been dropped or if it shows visible signs of damage.
Intended use
The device is only suitable for well insulated spaces or occasional use. Only use the device for heating closed rooms whilst adhering to the technical data.
Intended use comprises heating the air in:
- living spaces
- storerooms
- salesrooms
- construction areas
- containers
- basements
Foreseeable misuse
- Do not place the device on wet or flooded ground.
- Do not place any objects, e.g. clothing, on the device.
- Do not use this device in the vicinity of fuel, solvents, varnishes or other easily inflammable vapours or in rooms where these substances are stored.
- Do not use the device out of doors.
- Do not use the device for heating vehicles.
- This heating device must not be used in wet rooms.
- Never immerse the device in water.
- The device must not be mounted to and operated on a wall.
- Any use other than the intended use is regarded as a reasonably foreseeable misuse.
- Do not make any unauthorised modifications, alterations or structural changes to the device.
Personnel qualifications
People who use this device must:
- be aware of the dangers that occur when working with electric devices in damp areas.
- have read and understood the operating manual, especially the Safety chapter.
Maintenance tasks which require the housing to be opened must only be carried out by specialist electrical companies or by Trotec.
Symbols on the device
Symbols
Meaning
This symbol located on the device indicates that it is prohibited to place objects (such as towels, clothes etc.) above or directly in front of the device.
In order to avoid overheating and fire hazards, the heater must not be covered.
Residual risks
Warning of electrical voltage
Work on the electrical components must only be carried out by an authorised specialist company!
Warning of electrical voltage
Before any work on the device, remove the mains plug from the mains socket! Do not touch the mains plug with wet or damp hands. Hold onto the mains plug while pulling the power cable out of the mains socket.
Warning of electrical voltage
Risk of electric shock!
The device must not come into contact with water, otherwise there is a risk of an electric shock!Do not use this heating device in wet rooms!
Warning of hot surface
Parts of this appliance can become very hot and cause burns. Particular attention is to be paid when there are children or vulnerable persons present!
Warning
Improper handling entails a risk of burning and electric shock.
Only use the device as intended!
Warning
Dangers can occur at the device when it is used by untrained people in an unprofessional or improper way! Observe the personnel qualifications!
Warning
The device is not a toy and does not belong in the hands of children.
Warning
Risk of suffocation!
Do not leave the packaging lying around. Children may use it as a dangerous toy.
Warning
Improper installation entails a risk of fire. Do not place the device on combustible ground. Do not place the device on high-pile carpets.
Warning
In order to avoid overheating and fire hazards, the device must not be covered!
Behaviour in the event of an emergency
- Switch the device off.
- In an emergency, disconnect the device from the mains feed-in: Hold onto the mains plug while pulling the power cable out of the mains socket.
- Do not reconnect a defective device to the mains.
Overheating protection
The device is provided with a safety thermostat which is activated by overheating of the device:
- In such an event the device switches off automatically. When the safety thermostat is activated, allow the device to cool down. Only then start to look for the cause of overheating. Should the problem persist, please contact the customer service.
Information about the device
Device description
The convector TCH 1 E is used to generate warm air for interior spaces.
The device generates heat by means of an electric heating element. The air surrounding the heating element is heated. The heated air rises through the air outlet and thus enters the room.
The device is equipped with an integrated thermostat and so generates a constant flow of warm air.
The device is not suitable for wall mounting.
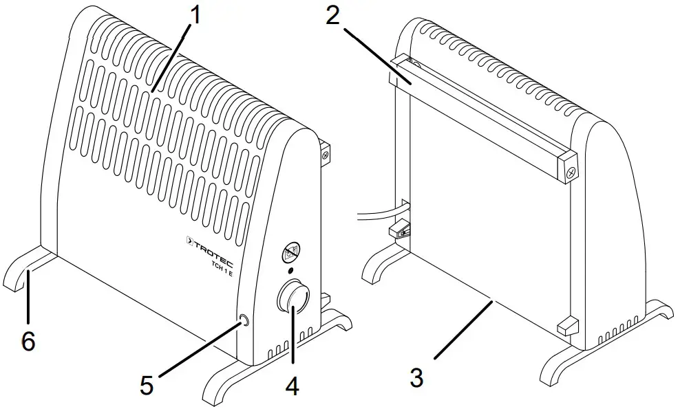
Device depiction

| No. | Designation |
| 1 | Air outlet |
| 2 | Transport handle |
| 3 | Air inlet |
| 4 | Rotary switch room thermostat |
| 5 | Operating control lamp |
| 6 | Foot |
Transport and storage
Note
If you store or transport the device improperly, the device may be damaged.
Note the information regarding transport and storage of the device
Transport
To make the device easier to transport, it is fitted with a carry handle.
Before transporting the device, observe the following:
- Switch the device off.
- Hold onto the mains plug while pulling the power cable out of the mains socket.
- Do not use the power cable to drag the device.
- Allow the device to cool down sufficiently.
Storage
Before storing the device, proceed as follows:
- Hold onto the mains plug while pulling the power cable out of the mains socket.
- Allow the device to cool down sufficiently
When the device is not being used, observe the following storage conditions:
- Store the device in a dry location and protected from frost and heat.
- Store the device in an upright position where it is protected from dust and direct sunlight.
- If required, use a cover to protect the device from invasive dust.
- Place no further devices or objects on top of the device to prevent it from being damaged.
Assembly and start-up
Scope of delivery
- 1 x Convector
- 2 x Foot
- 2 x Fastening screw
- 1 x Manual
Unpacking the device
- Open the cardboard box and take the device out.
- Completely remove the packaging.
- Fully unwind the power cable.
Make sure that the power cable is not damaged and that you do not damage it during unwinding
Assembly
Info
The device is not suitable for wall mounting.
Mounting the feet
Mount the feet before positioning the device.
- Place the device on its side.

- Fasten each foot with one screw.
Start-up
Info
Odours might arise upon initial start-up or after a longer period of non-use.
When positioning the device, observe the minimum distance from walls or other objects as described in the chapter Technical annex.
- Before restarting the device, check the condition of the power cable. If there are doubts as to the sound condition, contact the customer service.
- Set the device up in an upright and stable position.
- Do not create tripping hazards when laying the power cable or other electric cables, especially when positioning the device in the middle of the room. Use cable bridges.
- Make sure that extension cables are completely unrolled.
- Make sure that no curtains or other objects interfere with the air flow.
- Do not position the device directly below a wall socket.
- Make sure that the device cannot come into contact with moisture or water.
Connecting the power cable
- Insert the mains plug into a properly fused mains socket.
- Make sure that the power cable is guided along the back of the device. Never guide the power cable along the front of the device!
Operation
Operating elements

| No. | Designation |
| 4 | Rotary switch room thermostat |
Switching the device on
Once you have completely installed the device as described in the chapter Assembly and start-up, you can switch it on.
- Plug the device into a sufficiently fused socket.
- Select the desired temperature via the stepless rotary switch (4) of the room thermostat.
- A clicking sound indicates that the room thermostat is switched on.
- The operating control lamp (5) lights up.
Setting the room thermostat
To find the ideal thermostat setting, please proceed as follows:
- Select the desired temperature via the stepless rotary switch (4) of the room thermostat
The room thermostat controls the room temperature automatically:
- When the set value is exceeded, the heating switches off.
- When the set value is fallen below, the heating automatically switches back on.
Frost monitor function:
- Starting at the minimum temperature setting, slightly turn the infinitely variable rotary switch for the room thermostat (4) clockwise. In this position, the room thermostat switches on the heating automatically if theroom temperature drops below the frost protection temperatu
Shutdown
Warning of electrical voltage
Do not touch the mains plug with wet or damp hands.
- Turn the room thermostat’s infinitely variable rotary switch (4) counter-clockwise all the way to the stop.
- Hold onto the mains plug while pulling the power cable out of the mains socket.
- Allow the device to cool down completely.
- Clean the device according to the Maintenance chapter.
- Store the device according to the Transport and storage chapter
Errors and faults
Warning of electrical voltage
Tasks which require the device to be opened must only be carried out by authorised specialist companies or by Trotec
The device has been checked for proper functioning several times during production. If malfunctions occur nonetheless, check the device according to the following list.
The device does not start:
- Check the power connection.
- Check the power cable and mains plug for damage. If you notice damages, do not try to take the device back into operation. If the supply cord is damaged, it must be replaced by the manufacturer, its service agent or similarly qualified persons in order to avoid a hazard.
- Check the on-site fusing.
- Check the room temperature. The room thermostat may have switched off, because the desired room temperature has been reached.
- The room thermostat might be defective. Have a defective room thermostat replaced by a specialist electrical company.
- Check whether the overheating protection has tripped (see chapter Safety).
- Wait for 10 minutes before restarting the device. If the device is not starting, have the electrics checked by a specialist company or by Trotec.
Note
Wait for at least 3 minutes after maintenance and repair work. Only then switch the device back on.
The device still does not operate correctly after these checks:
Maintenance
Activities required before starting maintenance
Warning of electrical voltage
Do not touch the mains plug with wet or damp hands
- Switch the device off.
- Hold onto the mains plug while pulling the power cable out of the mains socket.
- Allow the device to cool down completely.
Warning of electrical voltage
Tasks which require the device to be opened must only be carried out by authorised specialist companies or by Trotec
Cleaning the housing
Warning of electrical voltage
Never immerse the device in water!
Clean the housing with a soft, damp and lint-free cloth. Make sure that no moisture enters the housing. Protect electrical components from moisture. Do not use any aggressive cleaning agents such as cleaning sprays, solvents, alcohol-based or abrasive cleaners to dampen the cloth.
Wipe the housing dry after cleaning
Technical annex
Technical data
| Parameter | Value |
| Model | TCH 1 E |
| Heating capacity | 450 W |
| Mains connection | 220 – 240 V~50 Hz |
| Power input | 0.45 kW |
| Nominal current consumption | 2 A |
| Fusing | 10 A |
| Type of protection | IP20 |
| Plug type | Schuko plug CEE 7/7 |
| Cable length | 1.4 m |
| Dimensions(length x width x height) | 177 x 275 x 276 mm |
| Minimum distance to walls and other objectstop (A):rear (B):sides (C):front (D): | 100 cm50 cm50 cm50 cm |
| Weight | 1 kg |
Information requirements for electrical local space heaters
| Parameter | Value / item |
| Model | TCH 1 E |
| Heat output | |
| Nominal heat output Pnom | 0.40 – 0.45 kW |
| Minimum heat output (indicative) Pmin | 0.40 kW |
| Maximum continuous heat output Pmax,c | 0.45 kW |
| Auxiliary electricity consumption | |
| At nominal heat output elmax | NA |
| At minimum heat output elmin | NA |
| In standby mode elsb | NA |
| Type of heat input | |
| Manual heat charge control, with integrated thermostat | NA |
| Manual heat charge control with room and/or outdoor temperature feedback | NA |
| Electronic heat charge control with room and/or outdoor temperature feedback | NA |
| Fan assisted heat output | NA |
| Type of heat output/room temperature control | |
| Single stage heat output, no room temperature control | NO |
| Two or more manual stages, no room temperature control | NO |
| With mechanic thermostat room temperature control | YES |
| With electronic room temperature control | NO |
| With electronic room temperature control plus day timer | NO |
| With electronic room temperature control plus week timer | NO |
| Other control options | |
| Room temperature control, with presence detection | NO |
| Room temperature control, with open window detection | NO |
| With distance control option | NO |
| With adaptive start control | NO |
| With working time limitation | NO |
| With black bulb sensor | NO |
| Contact details | Trotec GmbH Grebbener Straße 7 D-52525 Heinsberg |
NA: not applicable
Disposal
Always dispose of packing materials in an environmentally friendly manner and in accordance with the applicable local disposal regulations.
![]()
The icon with the crossed-out waste bin on waste electrical or electronic equipment stipulates that this equipment must not be disposed of with the household waste at the end of its life. You will find collection points for free return of waste electrical and electronic equipment in your vicinity. The addresses can be obtained from your municipality or local administration. You can also find out about other return options that apply for many EU countries on the website https://hub.trotec.com/?id=45090. Otherwise, please contact an official recycling centre for electronic and electrical equipment authorised for your country.
The separate collection of waste electrical and electronic equipment aims to enable the re-use, recycling and other forms of recovery of waste equipment as well as to prevent negative effects for the environment and human health caused by the disposal of hazardous substances potentially contained in the equipment.
Only for United Kingdom
According to Waste Electrical and Electronic Equipment Regulations 2013 (2013/3113) devices that are no longer usable must be collected separately and disposed of in an environmentally friendly manner.
Support
Trotec GmbH
Grebbener Str. 7
D-52525 Heinsberg
+49 2452 962-400
+49 2452 962-200
[email protected]
www.trotec.com



















