![]()
HYUNDAI TRC 101 ADRSU3 USB- SD- MP3- CD- Radio Portable Player

WARNING
- WARNING: Please refer the information on exterior bottom enclosure for electrical and safety information before installing or operating the apparatus.
- WARNING: To reduce the risk of fire or electric shock, do not expose this apparatus to rain or moisture. The apparatus shall not be exposed to dripping or splashing and that no objects filled with liquids, such as vases, shall not be placed on apparatus.
- WARNING: The battery (battery or batteries or battery pack) shall not be exposed to excessive heat such as sunshine, fire or the like.
- WARNING: The mains plug is used as disconnect device, the disconnect device shall re-main readily operable.
- Invisible laser radiation when open and interlocks defeated. Avoid exposure to beam of laser.
- Correct Disposal of this product. This marking indicates that this product should not be disposed with other household wastes throughout the EU. To prevent possible harm to the environment or human health from uncontrolled waste disposal, recycle it responsibly to promote the sustainable reuse of material resources. To return your used device, please use the return and collection systems or contact the retailer where the product was purchased. They can take this product for environmental safe recycling.
- No naked flame sources, such as lighted candles, should be placed on the apparatus.
- Attention should be drawn to environmental aspects of battery disposal.
- Use of the apparatus in moderate climates.
- The rating and marking information are located at the bottom of the unit.
- Excessive sound pressure from earphone and headphones can cause hearing loss.
- The mains plug of unit should be obstructed or should be easily accessed during intended use.
- To be completely disconnect the power input, the mains plug of apparatus shall be disconnected from the mains.
- WARNING: The excessive sound pressure from earphones and headphones can cause hearing loss.
CAUTION
Danger of explosion if battery is incorrectly replaced. Replace only with the same or equivalent type.
WARNING
TO PREVENT FIRE OR SHOCK HAZARD DO NOT EXPOSE THIS APPLIANCE TO RAIN OR MOISTURE.
LIGHTNING FLASH WITH ARROWHEAD SYMBOL
within an equilateral triangle, is intended to alert the user to the presence of uninstalled dangerous voltage within the products enclosure that may be of sufficient magnitude to constitute a risk of electric shock to persons.
EXCLAMATION POINT – within an equilateral triangle, is used to indicate that a specific component shall be replaced only by the component specified in that documentation for safety reason.
The following label has been affixed to the unit, listing the proper procedure for working with the laser beam:
- CLASS 1 LASER PRODUCT LABEL
This label is attached to the place as illustrated to inform that the apparatus contains a laser component. - WARNING LABEL INFORMING OF RADIATION
This label is placed inside the unit. As shown in the illustration. To warn against further measures on the unit. The equipment contains a laser radiating laser rays according to the limit of laser product of class 1.
SAFETY INSTRUCTIONS
- READ INSTRUCTIONS – All the safety and operating instructions should be read before the appliance is operated.
- RETAIN INSTRUCTIONS – The safety and operating instruction should be retained for future reference.
- HEED WARNINGS – All warnings on the appliance and in the operating instructions should be adhered to.
- FOLLOW INSTRUCTIONS – All operating instructions should be followed.
- WATER AND MOISTURE – The appliance should not be used near water, for example, near a bathtub, washbowl, kitchen sink, laundry tub, swimming pool or in a wet basement.
- VENTILATION – The appliance should be situated so that its location or position does not interfere with its proper ventilation. Do not place on bed, sofa, rug or similar surface that may block the ventilation openings, in a built-in installation, such as a bookcase or cabinet that may impede the flow of air through the ventilation openings.
- HEAT – The appliance should be situated away from heat sources such as radiators, stoves, or other appliances (including amplifiers) that produce heat.
- POWER SOURCE – The appliance should be connected to power supply only of the type described in the operating instructions or as marked on the appliance.
- POWER CORD PROTECTION – Power supply cords should be routed so that they are not likely to be walked on or pinched by items placed upon or against them.
- POWER LINES – An outdoor antenna should be located away from power lines.
- OBJECT and LIQUID ENTRY – Care should be taken so that objects do not fall and liquids are not spilled into the enclosure through openings.
- ESD WARNING – The display does not function properly or no reaction to operation of any the control may due to the electrostatic discharge. Switch off and unplug the set. Reconnect after a few seconds.
- DAMAGE REQUIRING SERVICE – The appliance should be serviced by qualified service personnel when:
- The power-supply cord or plug has been damaged.
- Objects have fallen into, or liquid has been spilled into the appliance enclosure.
- The appliance has been exposed to rain.
- The appliance has been dropped, or the enclosure damaged.
- The appliance does not appear to operate normally.
- SERVICING – The user should not attempt to service the appliance beyond that described in the user operating instructions. All other servicing should be referred to qualified service personnel.
Notes:- Dirty or scratched CD may cause a skipping problem. Clean or replace the CD.
- If an error display or malfunction occurs, disconncet the AC cord and remove all the batteries. Then turn the power back on.
BEFORE OPERATION
Notes: CONCERNING COMPACT DISCS
Since dirty, damaged or warped discs may damage the appliance, care should be taken of the followings items:
- Usable compact discs. Use only compact disc with the mark shown below.
- CD compact disc only with digital audio signals.
POWER SOURCES

- AC POWER
You can power your portable system by plugging the detachable AC power cord into the AC inlet at the back of the unit and into a wall AC power outlet. Check that the rated voltage of your appliance matches your local voltage. Make sure that the AC power cord is fully inserted into the appliance. - BATTERY POWER
Insert 8 x “C” size batteries into the battery compartment. Be sure that the batteries are inserted correctly to avoid damage to the appliance. Always remove the batteries when appliance will not be used for a long period of time, as this will cause leakage to the batteries and subsequently damage to your set.
Notes:- Use batteries of the same type. Never use different types of batteries together.
- To use the appliance with batteries, disconnect the AC power cord from it.
LOCATION OF CONTROL

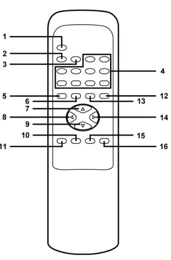
REMOTE CONTROL

- REC
- BIT RATE
- USB/SD
- 0 – 9
- PROGRAM
- INFO
- SKIP +
- STOP
- SKIP –
- MUTE
- RANDOM
- ALBUM +
- ALBUM –
- PLAY/PAUSE
- REPEAT
- INTRO
BATTERY INSTALLATION
Insert 2 x “AAA” size batteries into the battery compartment. Be sure that the batteries are inserted correctly to avoid damage to the remote control. Always remove the batteries when the remote control will not be used for a long period of time, as this will cause leakage to the batteries and subsequently damage to your set.
Notes:
- Use batteries of the same type. Never use different types of batteries together.
- If the distance required between the remote control and the appliance decreases, the batteries are exhausted. In this case replace the batteries with new one.
SENSOR WINDOW OF THE RECEIVER
- Even if the remote control is operated within the effective range, its operation may be impossible if there are any obstacies between the appliance and the remote control.
- If the remote control is operated near other appliances which generate infrared rays, or if other remote control devices using infrared rays are used near the appliance, it may operate incorrectly.
RADIO OPERATION
- GENERAL OPERATION
- Set the “FUNCTION” selector to “RADIO” mode.
- Select desired band by using the “BAND” selector.
- Adjust radio frequency to your desired station by using the “TUNING” control.
- Adjust the “VOLUME” control to the desired level.
- FM/FM STEREO RECEPTION
- Set the “BAND” selector to FM mode for MONO reception.
- Set the “BAND” selector to FM ST. mode for FM STEREO reception. The Stereo indicator light up to show FM ST. mode.
- FOR BETTER RECEPTION
- Reorient the antenna for better reception.

- Reorient the appliance to get better AM reception.

- Reorient the antenna for better reception.
CD/MP3 OPERATION
- Press to start playing CD/MP3 disc.
- Press again to stop playing CD/MP3 operation temporarily. Press again to resume playback.
- Press to go to the next track or back to the previous track. Press and hold while playing until you find the point of the sound.
- Press to stop all CD/MP3 operation.
GENERAL OPERATION
- PLAY/PAUSE

- SKIP

- SKIP

- STOP
PLAYBACK
- Set the “FUNCTION” selector to “CD/MP3/USB” mode.
- Open the CD door and place a CD/MP3 disc with the label up on the CD compartment.
- Close the CD door.
- Focus search is performed if disc is inside. Total number of tracks is read and appears on the display.
- Playback will start automatically from the first track.
- Adjust the “VOLUME” control to the desired level.
- Press the “PLAY/PAUSE” button again when you want to stop playback temporarily.
- Press the “STOP” button when finished.
PROGRAM
Up to 20 tracks of CD disk, 99 tracks of MP3 disc can be programmed for disc play in any order. Be sure to press the “STOP” button before use.
- Press the “MODE” button, the display will show “P01” and flash.
- Select desired track by using the “SKIP +” or “SKIP -” button. (You may select a desired album by pressing “ALBUM +” or “ALBUM -” button.)
- Press the “MODE” button again to confirm desired track into the program memory.
- Repeat step 2 and 3 to enter additional tracks into the program memory.
- When all the desired tracks have been programmed, press the “PLAY/PAUSE” button to play the disc in the order you have programmed.
- Press the “STOP” button twice to terminate programmed playback.
MODE
Press the “MODE” button during playing CD / MP3 disc, each press switches the mode function as follows:

- REPEAT 1
- REPEAT ALBUM ( *MP3 ONLY )
- REPEAT ALL
- RANDO
- INTRO
- NORMAL PLAYBACK
USB/SD OPERATION
- Press to start playing tracks from the USB/SD card.
- Press again to stop playing USB/SD operation temporarily.
- Press again to resume playback.
- Press to go to the next track or back to the previous track.
- Press and hold while playing until you find the point of the sound.
- Press to stop all USB/SD operation.
GENERAL OPERATION
- PLAY/PAUSE

- SKIP

- SKIP

- STOP
PLAYBACK
- Plug or slot in USB/SD card device to the port. (If no disc on disc tray)
- Set the “FUNCTION” selector to “CD / MP3 / USB / SD” mode.
- Playback will start automatically from the first track.
- Press the “STOP” button when finished.
- Press the “PLAY/PAUSE” button again, playback will start from the first track.
- If disc is playing, pres and hold the “PLAY/PAUSE” to change to USB mode.
- Press and hold “STOP” button to change between USB and SD mode.
Notes:
In case of SD card playing, no USB cable shall be connected.
PROGRAM, MODE
The operation of PROGRAM, MODE are as the same as that of CD/MP3. Please refer to CD/MP3 OPERATION.
RECORD OPERATION
- ENCODING SINGLE SONG FROM CD/MP3 DISC TO USB/SD CARD DEVICE
- Set the “FUNCTION” selector to “CD” mode.
- Open the CD door and place a CD/MP3 disc with the lable up in the CD compartment.
- Close the CD door.
- Focus search is performed and will auto play if disc is inside.
- Press the “STOP” button to stop the auto playback.
- Press the “BIT RATE” button and press the “SKIP +” or “SKIP -” button to choose the desired bit rate. Press the “BIT RATE” button again to confirm. (*CD only)
- Press the “PLAY” button to play track.
- Plug or slot in USB / SD card device to the port.
- Press the “REC” button, the display will show “REC” and “USB/CARD”, “USB” is flash
- Press the “SKIP +” or “SKIP -” button to choose the desired media.
- Press the “REC” button again, the appliance will start recording from the begining to the end of the song.
- ENCODING ALL SONG FROM CD/MP3 DISC TO USB/SD CARD DEVICE
- Set the “FUNCTION” selector to “CD” mode.
- Open the CD door and place a CD/MP3 disc with the lable up in the CD compartment.
- Close the CD door.
- Focus search is performed and will auto play if disc is inside.
- Press the “STOP” button to stop the auto playback.
- Press the “BIT RATE” button and press the “SKIP +” or “SKIP -” button to choose the desired bit rate. Press the “BIT RATE” button again to confirm. (*CD only)
- Plug or slot in USB/SD card device to the port.
- Press the “REC” button , the display will show “REC” and “USB/CARD”, “USB” is flash.
- Press the “SKIP +” or “SKIP -” button to choose the desird media.
- Press the “REC” button again, the appliance will start recording from the beginning to the end of the CD/MP3.
- ENCODING SINGLE SONG FROM USB TO SD CARD DEVICE AND ENCODING FROM SD CARD TO USB DEVICE
- Set the “FUNCTION” selector to “CD” mode.
- Plug or slot in USB/SD card device to the port.
- Press the “USB/SD” button on the remote control to choose the desird media to play.
- Press the “REC” button, the appliance will start recording from the beginning to the end of the song.
- ENCODING ALL SONG FROM USB TO SD CARD DEVICE AND ENCODING FROM SD CARD TO USB DEVICE
- 1) Set the “FUNCTION” selector to “CD” mode.
2) Plug or slot in USB/SD card device to the port.
3) Press the “USB/SD” button on the remote control to choose the desird media.
4) Press the “STOP” button to stop the auto playback.
5) Press the “REC” button, the appliance will start recording from the beginning to the end of all song.
- 1) Set the “FUNCTION” selector to “CD” mode.
- ENCODING FROM PROGRAMMED TRACK TO USB/SD CARD DEVICE
- Select desired track into the program memory.
- Press the “REC” button, the appliance will start recording all the programmed track.
- SINGLE TRACK DELETE OF USB/SD CARD DEVICE
- Be sure to plug slot the USB/SD card device to the port.
- Press the “USB/SD” button on the remote control to choose the desird media.
- Press the “STOP” button to stop the auto playback.
- Press and hold the “REC” button until the display shows “DEL 001”.
- Press the “SKIP +” or “SKIP -” button to choose the track desired to delete.
- Press the “REC” button again, the display will show “YES” and “NO”.
- Press the “SKIP +” or “SKIP -” button to choose and press the “REC” button to confirm.
- FOLDER DELETE OF USB/SD CARD DEVICE
- Be sure to plug slot the USB/SD card device to the port.
- Press the “USB/SD” button on the remote control to choose the desird media.
- Press the “STOP” button to stop the auto playback.
- Press and hold the “REC” button twice until the display shows “DIR 01”.
- Press the “SKIP +” or “SKIP -” button to choose the folder desired to delete.
- Press the “REC” button again, the display will show “YES” and “NO”.
- Press the “SKIP +” or “SKIP -” button to choose and press the “REC” button to confirm.
- FORMAT OF USB/SD CARD DEVICE
- Be sure to plug slot the USB/SD card device to the port.
- Press the “USB/SD” button on the remote control to choose the desird media.
- Press the “STOP” button to stop the auto playback.
- Press and hold the “REC” button twice until the display shows “FORMAT” and “N”.
- Press the “SKIP +” or “SKIP -” button to choose and press the “REC” button to confirm.
OTHER FEATURES
- ID3 TAG
- Press once “INFO” button, ID3 text will show on display.
- Press again to terminate ID3 mode.
Notes:
Due to various solutions, ID3 text function may not be played.
- INTRO
- Press the “INTRO” button during playing disc to play each song for 10 seconds.
- Press the “INTRO” button again to resume normal playback.
- RANDOM
- Press the “RANDOM” button during playing disc, it will select and play a track randomly.
- Press the “STOP” button to terminate random mode.
- MUTE
- Press the “MUTE” button to remove the sound during playing disc.
- Press the “MUTE” button again to resume the sound.
- CLOCK SETTING
To adjust clock setting, make sure in CD mode.- Press the “SET” button. (Do not release “SET” button during time setting)
- Press the “HOUR” button to set hour.
- Press the “MINUTE” button to set minute.
- Release all button to confirm setting.
Confirmed setting will on the display. - Weight (NETTO): 2,12kg
we reserve the right to change technical specifications.
WARNING: Do not use this product near water, in wet areas to avoid fire or injury of electric current. Always turn off the product when you don’t use it or before a revision. There aren’t any parts in this appliance which are reparable by consumer. Always appeal to a qualified authorized service. The product is under a dangerous tention.
DISPOSAL
Old electrical appliances, used batteries and accumulators disposal
This symbol appearing on the product, on the product accessories or on the product packing means that the product must not be disposed as household waste. When the product/ battery durability is over, please, deliver the product or battery (if it is enclosed) to the respective collection point, where the electrical appliances or batteries will be recycled. The places, where the used electrical appliances are collected, exist in the European Union and in other European countries as well. By proper disposal of the product you can prevent possible negative impact on environment and human health, which might otherwise occur as a consequence of improper manipulation with the product or battery/ accumulator. Recycling of materials contributes to protection of natural resources. Therefore, please, do not throw the old electrical appliances and batteries/ accumulators in the household waste. Information, where it is possible to leave the old electrical appliances for free, is provided at your local authority, at the store where you have bought the product. Information, where you can leave the batteries and accumulators for free, is provided to you at the store, at your local authority.






















