
PR 100 Retro Radio
Instruction Manual

PR 100 / PR 100 B

SAFETY
- FOR HOUSEHOLD AND INDOOR USE ONLY
- PLACE THE APPLIANCE ON A FLAT, STABLE SURFACE WITH ADEQUATE VENTILATION AND AWAY FROM OTHER SOURCES OF HEAT. THE MINIMUM DISTANCE AROUND THE APPLIANCE FOR ADEQUATE VENTILATION IS 5 CM. DO NOT COVER OR RESTRICT VENTILATION OPENINGS.
- THIS APPLIANCE IS NOT INTENDED FOR USE BY PERSON PEOPLE (INCLUDING CHILDREN) WITH REDUCED PHYSICAL SENSORY OR MENTAL CAPABILITIES, OR LACK OF EXPERIENCE AND KNOWLEDGE UNLESS THEY HAVE BEEN GIVEN SUPERVISION OR INSTRUCTIONS CONCERNING THE WAY OF USE OF THE APPLIANCE BY THE PERSON RESPONSIBLE FOR THEIR SAFETY
- CHILDREN SHOULD BE SUPERVISED TO ENSURE THAT THEY DO NOT PLAY WITH THE APPLIANCE.
- FULLY UNWIND THE CABLE BEFORE PLUGGING IN AND ENSURE THE CABLE IS POSITIONED AWAY FROM AREAS WHERE IT IS LIKELY TO GET DAMAGED OR CAUSE A TRIP HAZARD.
- DO NOT OPERATE THE APPLIANCE IF DAMAGED OR AFTER IT MALFUNCTIONS.
- DO NOT PULL ON THE CABLE TO DISCONNECT FROM THE MAIN SUPPLY.
- KEEP APPLIANCE, CABLE, AND PLUG DRY AND AWAY FROM AREAS WHERE IT IS LIKELY TO GET SPLASHED. AVOID USING IN HOT, HUMID ENVIRONMENTS.
- DO NOT PLACE ITEMS WITH NAKED FLAMES OR CONTAINERS WITH LIQUIDS ON THIS APPLIANCE.
- SWITCH OFF AND UNPLUG WHEN NOT IN USE AND BEFORE CLEANING OR SERVICING THE APPLIANCE. SERVICING OF THIS APPLIANCE MUST ONLY BE CARRIED OUT BY A QUALIFIED ELECTRICIAN.
- ALWAYS ENSURE THE MAINS PLUG IS READILY UNPLUGGABLE – DO NOT USE WITH ‘LOCKABLE’ SOCKETS OR PERMANENTLY WIRE TO MAINS.
WARNING TO REDUCE THE RISK OF ELECTRIC SHOCK.DO NOT REMOVE THE COVER (OR BACK) NO USER-SERVICEABLE PARTS INSIDE. REFER SERVICING TO QUALIFIED SERVICE PERSONNEL. |
PARTS
![]() | ![]() |
| 1) Handle 2) FM antenna (telescopic) 3) Tuning control knob 4) Volume control – on/ofknob 5) Speaker | 6) Battery compartment 7) Waveband buttons 8) Line-in jack 9) Headphone jack 10) AC socket 11) Power cable (not shown) |
BATTERY OPERATION
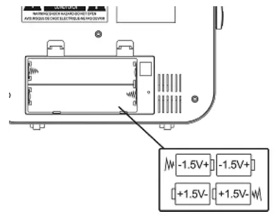
To use the appliance with batteries ensure that the AC power cord is NOT inserted into the AC socket of the appliance and install the batteries into the battery compartment. To install the batteries

- Lift off the battery compartment cover from the rear of the unit.
- Insert 4 x C/LR14 1.5V heavy-duty alkaline batteries in accordance with the diagram in the battery compartment. Take care to observe the correct polarity (+/ -).
- Refit the battery compartment cover.
- Do not expose the battery or the installed battery t excessive heat (etc. fire, sunshine or position close radiators, etc.).
Note
- Dispose of batteries responsibly at local authority household waste recycling facility.
- DO NOT dispose of batteries in a fire as the batteries may explode.
- Only use ‘C’ 1.5V batteries in this appliance.
- Be sure to insert correctly taking care to observe the correct polarity (+ and -).
- Use only batteries of the same or equivalent type as recommended.
- Do not recharge non-rechargeable batteries.
- Never mix old and new batteries (replace all batteries at the same time).
- Never try to dismantle batteries.
- Do not short-circuit the supply terminals.
- Always remove exhausted or dead batteries from the product, do not dispose of in fire.
- Remove batteries from the product before extended storage.
MAINS OPERATION
Fit the AC power cord into the AC socket of the appliance and plug into the household socket.
USING THE RADIO
- Turn the volume control – on/off knob clockwise to switch the radio on.
- Select the waveband by pressing the radio band button of choice on the top of the radio.
- Turn the tuning control knob to select the frequency and station of choice The radio frequency scale will show the wavelength selected.
- Adjust the volume to the desired level by rotating the volume control knob.
- To turn off the radio, turn the volume control – on/off knob anticlockwise until a click is heard.
Note
- The built-in AM and the external FM antennas are directional. If tuning into an FM station extends or moves the antenna for better reception. If tuning into an AM station rotates the whole unit after tuning to obtain the best reception.
USING THE LINE IN JACK
- Turn the volume control – on/off knob clockwise to switch the unit on.
- Connect the auxiliary equipment (etc. MP3 player) to the LINE IN jack using a ‘line in’ cable (not supplied).
- Switch on and press play on the auxiliary equipment. The unit will start to play automatically.
- Adjust the volume to the desired level by rotating the volume control knob.
- To turn off the unit, turn the volume control – on/off knob anticlockwise until a click is heard. Press stop on the auxiliary equipment and disconnect the ‘line in’ cable. 7.
USING HEADPHONES (NOT INCLUDED)
A stereo headphone jack has been provided so that the set can be used without disturbing others. Plug in the headphones at the point marked ‘ ’. Turn the listening volume to the lowest setting before adjusting the volume up to your chosen level. Excessive sound pressure from earphones and headphones can cause hearing loss. The speaker will not operate when headphones are fitted.
CARE AND MAINTENANCE
- Wipe external surfaces with a soft cloth. If the casing is very dirty, unplug from the mains supply and use a damp cloth soaked in a weak solution of washing up liquid and water. Allow drying thoroughly before reusing.
TROUBLESHOOTING GUIDE
| Observation | Potential cause / solution |
| The unit does not work on AC | Does the socket that is being used have power? |
| The unit does not work on batteries | Has the AC lead been removed from the left side of the unit? Are the batteries exhausted? Have the batteries been inserted correctly? |
| No sound | Is the volume control set at MIN? Are headphones fitted in the phone’s jack? |
| Radio reception weak | AM signals – rotate the unit to improve reception. FM signal – extend or adjust the position of FM antenna. |
TECHNICAL SPECIFICATION
| Rated voltage: | AC 230 V ~ 50 Hz |
| Radio Frequency: | FM 88 – 108 MHz AM 530 – 1600 kHz |
| Weight (NETTO): | 620 g |
We reserve the right to change technical specifications.
WARNING: Do not use this product near water, in wet areas to avoid fire or injury of electric current. Always turn off the product when you don’t use it or before a revision. There aren’t any parts in this appliance that are reparable by consumers. Always appeal to a qualified authorized service. The product is under dangerous tension.
Old electrical appliances used batteries and accumulators disposal
This symbol appears on the product, on the product accessories or on the product packing means that the product must not be disposed of as household waste. When the product/ battery durability is over, please, deliver the product or battery (if it is enclosed) to the respective collection point, where the electrical appliances or batteries will be recycled. The places, where the used electrical appliances are collected, exist in the European Union and in other European countries as well. By proper disposal of the product, you can prevent possible negative impacts on the environment and human health, which might otherwise occur as a consequence of improper manipulation with the product or battery/ accumulator. Recycling of materials contributes to the protection of natural resources. Therefore, please, do not throw the old electrical appliances and batteries/ accumulators in the household waste. Information, about where it is possible to leave the old electrical appliances for free, is provided at your local authority, at the store where you have bought the product. Information, on where you can leave the batteries and accumulators for free, is provided to you at the store, at your local authority.





















