HYUNDAI PR 200 B/S PORTABLE RADIO wITH ALARM CLOCK Instruction Manual
Dear customer, thank you for purchasing our product. Please read the operating instructions carefully before putting the appliance into operation and keep these instructions including the warranty, the receipt and, if possible, the box with the internal packing.
GENERAL SAFETY INSTRUCTIONS
- The appliance is designed exclusively for private use and for the envisaged purpose.
- This appliance is not fit for commercial use.
- Keep it away from sources of heat, direct sunlight, humidity (never dip it into any liquid) and sharp edges. Do not use the appliance with wet hands. If the appliance is humid or wet, unplug it immediately. Do not put it in water.
- When cleaning or putting it away, switch off the appliance and always pull out the plug from the socket (pull on the plug, not the cable) if the appliance is not being used and remove the attached accessories.
- Do not operate the machine without supervision. If you should leave the workplace, always switch the machine off or remove the plug from the socket (pull the plug itself, not the lead).
- To protect children from the dangers posed by electrical appliances, make sure that the cable is hanging low and that children do not have access to the appliance.
- Check the appliance and the cable for damage on a regular basis. Do not use the appliance if it is damaged.
- Do not try to repair the appliance on your own. Always contact an authorized technician. To avoid the exposure to danger, always have a faulty cable be replaced only by the manufacturer, by our customer service or by a qualified person and with a cable of the same type.
- Pay careful attention to the following “Special Safety Instructions for this unit“.
SAFETY
- No naked flame sources such as lighted candles, should be placed on the apparatus.
- Where the mains plug or an appliance coupler is used as the disconnect device, the disconnect device will remain readily operable.
- Excessive sound pressure from earphones and headphones can cause hearing loss.
- It shall not be exposed to dripping or splashing and that no objects filled with liquids, such as vases, shall be placed on the apparatus.
- Ensure minimum distances around the apparatus for sufficient ventilation. The ventilation should not be impeded by covering the ventilation openings with items, such as newspapers, table-cloths, curtains, etc.
- Attention should be drawn to the environmental aspects of battery disposal.
- The use of apparatus in moderate climates.
- Danger of explosion if battery is incorrectly replaced. Replace only with the same or equivalent type.
- Batteries shall not be exposed to excessive heat such as sunshine, fire or the like.
- Do not place the product in closed bookcases or racks without proper ventilation.
- This appliance is not intended for use by persons people (including children) with reduced physical sensory or mental capabilities, or lack of experience and knowledge, unless they have been given supervision or instructions concerning the way of use of the appliance by a person responsible for their safety.
- Children should be supervised to ensure that they do not play with the appliance.
PARTS

- Handle
- FM antenna (telescopic)
- Tuning control knob
- LCD
- Speaker
- Waveband selector
- Time set button
- Alarm set button
- Minute set button
- Hour set button
- Alarm on/off button
- Volume control – buzzer knob
- Headphone jack

- AC socket
- Battery compartment
- Power cable (not shown)
BATTERY OPERATION

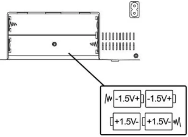
- To use the appliance with batteries ensure that the AC power cord is NOT inserted into the back of the appliance and install the batteries into the battery compartment (15).
- Lift off the battery compartment cover and insert 4 x Size “C” /UM-2/ LR14 (or equipvalent) 1.5V heavy duty alkaline batteries in accordance with the diagram in the battery compartment. Take care to observe the correct polarity (+/ -).
- Refit the battery compartment cover.
Note
- Dispose of batteries responsibly at local authority household waste recycling facility.
- DO NOT dispose of batteries in a fire as the batteries may explode.
- Only use ‘C’ 1.5V batteries in this appliance.
- Be sure to insert correctly taking care to observe the correct polarity (+ and -).
- Use only batteries of the same or equivalent type as recommended.
- Do not recharge non-rechargeable batteries.
- Never mix old and new batteries (replace all batteries at the same time).
- Never try to dismantle batteries.
- Do not short circuit the supply terminals.
- Always remove exhausted or dead batteries from the product, do not dispose of in fire.
- Remove batteries from the product before extended storage.
MAINS OPERATION
Fit the AC power cord into the AC socket (14) at the back of the appliance and plug into the household socket.
REAL TIME SETTING
Press the time set button (7) and hour set button (10), or minute set button (9), together, until the correct clock time is displayed.
ALARM FUNCTION
- Press the alarm set button (8) and simultaneously press the hour set button (10) or minute set button (9) as appropriate until the required alarm time is reached.
- To double check the alarm time, simply press the alarm set button (8) then the display will show the pre-set alarm time.
- Press the alarm on/off button (11) to activate the alarm (the alarm icon will display).
- Turn the volume control –buzzer knob (12) fully downward until hear a “click” sound to select the BUZZ function.
- The alarm tone will switch on automatically at the pre-set alarm time.
- To switch off the alarm simply press the alarm on/off button (11) once.
- To activate the alarm again, press the alarm on/off button (11) until the alarm icon is displayed.
USING THE RADIO
- Turn the volume control – buzzer knob (12) upward to switch the radio on.
- Set the waveband selector (6) to the required waveband.
- Turn the tuning control knob (3) to select the frequency.
The current radio frequency will display. - Adjust the volume to the desired level by rotating the volume control – buzzer knob (12).
- To turn off the radio, turn the volume control – buzzer knob (12) downward until a “click” sound is heard.
Note
- The built-in AM and the external FM antennas are directional. If tuning into a FM station extend or move the antenna (2) for a better reception. If tuning into a AM station rotate the whole unit after tuning to obtain the best reception.
USING HEADPHONES (NOT INCLUDED)
A headphone jack has been provided so that the set can be used without disturbing others. Plug in the 3.5mm headphones at the point marked
. Turn the listening volume to the lowest setting before adjusting the volume up to your chosen level. Excessive sound pressure from earphones and headphones can cause hearing loss. The speakers will not operate when headphones are fitted.
CARE AND MAINTENANCE
Wipe external surfaces with a soft cloth. If the casing is very dirty, unplug from the mains supply and use a damp cloth soaked in a weak solution of washing up liquid and water. Allow to dry thoroughly before reusing.
TECHNICAL SPECIFICATION
- Rated voltage: 230 V ~ 50 Hz
- Batteries: 4 x 1.5V Battery size “C”/UM-2/LR14 (not included)
- Radio frequency: AM 530 – 1600 kHz FM 88 – 108 MHz
- Weight: (NET) 580 g
We reserve the right to change technical specifications.
WARNING: Do not use this product near water, in wet areas to avoid fire or injury of electric current. Always turn off the product when you don’t use it or before a revision. There aren’t any parts in this appliance which are reparable by consumer. Always appeal to a qualified authorized service. The product is under a dangerous tention.
Old electrical appliances, used batteries and accumulators disposal
This symbol appearing on the product, on the product accessories or on the product packing means that the product must not be disposed as household waste. When the product/ battery durability is over, please, deliver the product or battery (if it is enclosed) to the respective collection point, where the electrical appliances or batteries will be recycled. The places, where the used electrical appliances are collected, exist in the European Union and in other European countries as well. By proper disposal of the product you can prevent possible negative impact on environment and human health, which might otherwise occur as a consequence of improper manipulation with the product or battery/ accumulator. Recycling of materials contributes to protection of natural resources. Therefore, please, do not throw the old electrical appliances and batteries/ accumulators in the household waste. Information, where it is possible to leave the old electrical appliances for free, is provided at your local authority, at the store where you have bought the product. Information, where you can leave the batteries and accumulators for free, is provided to you at the store, at your local authority.
![]()













![Emerson Alarm Clock [cks1507 W/ Radio] User Manual Emerson Alarm Clock [cks1507 W/ Radio] User Manual](https://static-data1.manualsee.com/1/img/275/8730/2020/10/Emerson-Alarm-Clock-CKS1507.png)





