HARPER HCLK-2042 Alarm Clock Radio

WARNING
TO PREVENT ELECTRIC SHOCK; DO NOT USE THIS PLUG WITH AN EXTENSION CORD RECEPTACLE OR OTHER OUTLET UNLESS THE BLADES CAN BE FULLY INSERTED TO PREVENT BLADES EXPOSURE. TO PREVENT FIRE OR SHOCK HAZARDS; DO NOT EXPOSE THIS APPLIANCE TO RAIN OR MOISTURE.
The lightning flash with an arrowhead symbol, with an equilateral triangle, is intended to alert the user to the presence of uninsulated dangerous voltage within the product’s enclosure that may be of sufficient magnitude to constitute a risk of electric shock to persons.
CAUTION: RISK OF ELECTRIC SHOCK DO NOT OPEN
TO REDUCE THE RISK OF ELECTRIC SHOCK, DO NOT REMOVE THE COVER (OR BACK). NO USER-SERVICEABLE PARTS INSIDE REFER SERVICING TO QUALIFIED SERVICE PERSONNEL.
The exclamation point within an equilateral triangle is intended to alert the user to the presence of important operating and maintenance (servicing) instructions in the literature accompanying the appliance.
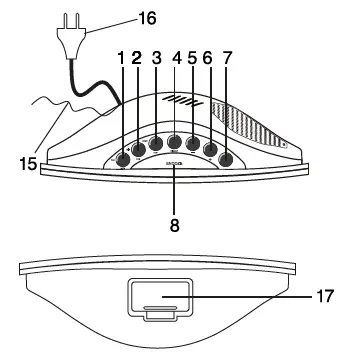
QUICK REFERENCE
CLK / MEM
- Use this button to set the clock
- Use this button to store radio stations in the memory.
- Use this button to select the stored radio stations in the memory.
MIN / TUN−
- Use this button to adjust the minute in CLOCK or ALARM time.
- Use this button to search the radio station in the backward direction.
HOUR / TUN+
- Use this button to adjust the hour in CLOCK or ALARM time.
- Use this button to search the radio station in the forwarding direction.
DIMMER
- Use this button to adjust the brightness of the display.
AL2 / − (VOLUME)
- Use this button to set the alarm time in ALARM 2
- Use this button to decrease the volume.
AL1 / + (VOLUME)
- Use this button to set the alarm time in ALARM 1
- Use this button to increase the volume.
SOURCE / AL. OFF /
- Use this button to turn on the unit.
- Use this button to select mode.
- Use this button to turn the ALARM off after Alarm activates.
SNOOZE (SLEEP)
- Use this button to temporarily suspend the ALARM for a short period.
- Use this button to set the sleep time.
LED DISPLAY
- Display for the clock and the radio frequency.
AL.1 BUZZER INDICATOR
- This indicator shows that the unit is in ALARM 1 buzzer mode.
AL.1 RADIO INDICATOR
- This indicator shows that the unit is in ALARM 1 radio mode.
AL.2 BUZZER INDICATOR
- This indicator shows that the unit is in ALARM 2 buzzer mode.
AL.2 RADIO INDICATOR
- This indicator shows that the unit is in ALARM 2 radio mode.
SPEAKER
- Sound output.
FM WIRE ANTENNA
- Extend this wire antenna to obtain better FM broadcasting.
AC POWER CORD
- Connect the unit to the AC power.
BATTERY COMPARTMENT
- Compartment for the backup battery.
CONNECTING THE UNIT TO THE POWER
Before plugging in the AC power cord to the AC wall outlet, please make sure that the voltage of your electricity supply is the same as that indicated on the rating plate.
BATTERY BACKUP
Insert two pieces of UM-4 batteries (not supplied) into the battery compartment. Be sure to observe the proper polarity (the “+” and “-” signs) as indicated inside the battery compartment. In case of power failure or interrupted power, the current time and alarm time settings, the stored radio stations are preserved in the memory of the unitby means of battery back-up function.
SETTING THE CLOCK
- With the unit in CLOCK mode, press and hold the CLK / MEM button for about 1 second, the time will begin to flash on the display.
- Press the HOUR / TUN+ button to adjust the hour.
- Press the MIN / TUN− button to adjust the minute.
- When the correct time is selected, press the CLK / MEM button again to confirm.
SETTING THE ALARMS
- With the unit in CLOCK mode,] press the AL1/+ or AL2/− button.] The ALARM time will begin to flash on the display.
- Press the HOUR / TUN+ button to adjust the alarm hour.
- Press the MIN / TUN− button to adjust the alarm minute.
- When the desired alarm time is selected, press the AL1/+ or AL2/− button to confirm.
- Press the AL1/+ or AL2/− button to select the ALARM sound mode – buzzer or currently set radio station. The alarm buzzer or radio indicator will light up.
SNOOZE FUNCTION
- Whenever the alarm (radio or buzzer) activates, it can be temporarily suspended for a short period of 9 minutes by pressing the SNOOZE button once.
- The buzzer or radio will then automatically activate again after the 9 minutes SNOOZE period has ended.
- This procedure can be repeated for up to approximately one hour.
TURN OFF THE ALARM
- When the Alarm activates, press the SOURCE / AL. OFF/button to turn off the Alarm.
LISTENING TO THE AM/FM RADIO
- Press the SOURCE / AL. OFF / to select AM or FM band.
- Press the HOUR / TUN+ or MIN / TUN− button step by step to tune to the desired radio stations.
- Press and hold the HOUR / TUN+ or MIN / TUN− button for approx.1 second, it will start to search the next radio station in the direction of the] search. The search operation simply finds stations with strong signals. Stations with weak reception can only be tuned in manually.
- To turn off the radio, press and hold the SOURCE / AL. OFF / button for approx.. 1 second.
SAVING A RADIO STATION TO THE MEMORY
- Tune the radio to the desired station.
- Press and hold the CLK / MEM button to store this radio station in the next memory station number. The display will show PXX (XX is the memory station number from 01 to 10).
- Up to 10 AM and 10 FM radio stations can be stored in the memory.
TO LISTEN TO A SAVED RADIO STATION
- Press the SOURCE / AL. OFF / button to select AM or FM band.
- Press the CLK / MEM button to skip to the next stored radio station.
SLEEP TO MUSIC FUNCTION
- This function allows you to listen tom the radio while you fall asleep.
- Press the SNOOZE button, the display will show the default sleep time of 90 minutes.
- Press the SNOOZE button repeatedly to set the desired sleep time. (90-80-70-60-50-40-30-20- 10 min. or OFF)
- After the pre-set time has elapsed,the radio will turn off automatically.
SPECIFICATIONS
- Frequency Range: AM 522 – 1620 kHz
- FM 64: 108 MHz
- Power Supply: AC 230V ~ 50 Hz
- Back-Up Battery: 2 pc. UM4
- Specifications are subject to change without prior notice.
- Speaker: 8 Ом, 0.5 W
- Display: LCD 1.8 ‘’
- Dimensions: 200х70х82mm
- Weight: 440g (without batteries)
INCLUDES
- Alarm clock
- User manual
- Warranty Card








![Emerson Alarm Clock [cks1507 W/ Radio] User Manual Emerson Alarm Clock [cks1507 W/ Radio] User Manual](https://static-data1.manualsee.com/1/img/275/8730/2020/10/Emerson-Alarm-Clock-CKS1507.png)










