KM7210 FR Hob
Installation Guide
Safety instructions for installation
Risk of damage from the incorrect connection.
Incorrect installation can cause damage to the hob.
The hob must only be installed by a qualified person.
Damage from falling objects.
Take care not to damage the hob when fitting wall units or a cooker hood above it.
Fit the wall units and the cooker hood before the hob.
- The room in which the hob is installed must conform to all relevant local and national building regulations and safety regulations.
- The veneer or laminate coatings of worktops (or adjacent kitchen units) must be treated with 100 °C heat-resistant adhesives which will not dissolve or distort. Any back molds must be of heat-resistant material.
- The hob must not be installed over a fridge, fridge-freezer, freezer, dishwasher, washing machine, washer-dryer or tumble dryer.
- A gas hob must not be installed directly next to a deep fat fryer as the gas flames could ignite the fat in the fryer. It is essential to maintain a distance of at least 300 mm between these two appliances.
- When installing the hob, make sure that the gas pipe and electrical connection cable cannot come into contact with hot appliance parts.
- The electrical cable and any flexible gas connection pipes must be installed in such a way so that they do not come into contact with any moving kitchen parts (e.g. a drawer), and cannot become trapped.
- Observe carefully the safety clearances listed on the following pages.
Safety distances
Safety distance above the hob

A minimum safety distance must be maintained between the appliance and the cooker hood above it. See the cooker hood manufacturer’s operating and installation instructions for details. If the manufacturer’s instructions are not available for the cooker hood or if any flammable objects (e.g. utensil rails, wall units etc) are installed above the hob a minimum safety distance of at least 760 mm must be maintained between them and the appliance below.
When two or more appliances that have different safety distances are installed together below a cooker hood, you should observe the greatest safety distance.
Installation
Safety distances to the sides and back of the hob
Ideally, the hob should be installed with plenty of space on either side. There may be a wall at the rear or a tall unit or wall on one side (right or left) (see illustrations).
- The minimum distance between the back of the worktop cut-out and the rear edge of the worktop: 50 mm
- The minimum distance between the worktop cut-out and a wall or tall unit to the right of it: 150 mm.
- The minimum distance between the worktop cut-out and a wall or tall unit to the left of it: 150 mm.
![]() | ![]() |
Safety distance when installing the appliance near a wall with additional niche cladding
A minimum safety distance must be maintained between the worktop cut-out and any niche cladding to protect it from heat damage. If the niche cladding is made from a combustible material (e.g. wood) a minimum safety distance 5 of 50 mm must be maintained between the cut-out and the cladding. If the niche cladding is made from a non-combustible material (e.g. metal, natural stone, ceramic tiles) the minimum safety distance 5 between the cut-out and the cladding will be 50 mm less the thickness of the cladding. Example: 15 mm niche cladding 50 mm – 15 mm = minimum safety distance of 35 mm

- Masonry
- Niche cladding dimension x = thickness of the niche cladding material
- Worktop
- Worktop cut-out
- Minimum distance to
combustible materials 50 mm
non-combustible materials 50 mm – dimension x
Installation notes
Seal between the hob and the worktop

Damage caused by incorrect installation.
Using sealant under the hob could result in damage to the hob and the worktop if the hob ever needs to be removed for servicing.
Do not use sealant between the hob and the worktop.
The sealing strip under the edge of the hob provides a sufficient seal for the worktop.
Tiled worktops

Grout lines 1 and the hatched area underneath the hob frame must be smooth and even. If they are not the hob will not sit flush with the worktop and the sealing strip underneath the hob will not provide a good seal between the hob and the worktop.
Sealing strip
Dismantling the hob for service purposes may damage the sealing strip underneath the edge of the hob. Always replace the sealing strip before reinstalling the hob.
Building-in dimensions
All dimensions are given in mm.

- Front
- Casing depth
- Mains connection box with mains connection cable, L = 2000 mm
- Gas connection R ¹/₂ – ISO 7-1 (DIN EN 10226)
- Electronics housing, maximum casing depth 78 mm
Preparing the worktop
- Create the worktop cut-out as shown in the hob diagram. Remember to maintain the minimum safety distances (see “Installation – Safety distances”).
- Seal any cut surfaces on wooden worktops with a special varnish, silicone sealant or resin to prevent the wood from swelling as a result of moisture ingress. The sealant must be heat-resistant.
Make sure that the sealant does not come into contact with the top of the worktop. The seal under the appliance ensures that the hob will sit securely in the cutout without slipping. Any gap between the appliance frame and worktop will become smaller over time.
Installing the hob
- Stick the supplied sealing strip under the edge of the hob.
- Feed the power cable for the hob down through the worktop cut-out.
- Place the hob loosely in the cut-out. When doing this, make sure that the seal of the appliance sits flush with the worktop on all sides. This is important to ensure an effective seal all around.
If the seal does not sit flush with the worktop in the corners, the corner radius (≤ R4) can be carefully cut to fit using a jigsaw.
Do not use any additional sealant (e.g. silicone) on the hob.
- Connect the hob to the electricity supply (see “Installation – Electrical connection”).
- Connect the hob to the gas supply (see “Installation – Gas connection”).
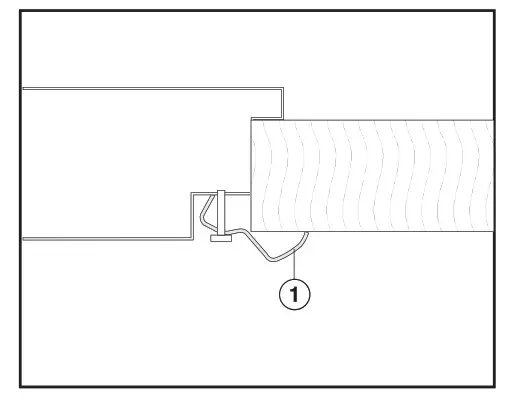
Securing the hob

- Secure the hob using the brackets 1 supplied.
Functional check
After installing the hob, ignite all burners to check that they are operating correctly:
– The flame must not go out on the lowest setting, or when the control is turned quickly from the highest to the lowest setting.
– On the highest setting, the flame must have a distinctive and visible core.
Gas connection
Risk of explosion due to an incorrect gas connection. If the gas connection is carried out incorrectly, it may result in gas leakage. Connection to the gas supply must only be undertaken by an approved and registered gas installer in strict accordance with current local and national safety and building regulations. The installer is responsible for ensuring that the appliance functions correctly when installed.
Risk of explosion due to an incorrect conversion. If the conversion to another type of gas is carried out incorrectly, it may result in gas leakage. Conversion from one type of gas to another must only be undertaken by an approved and registered gas installer in strict accordance with current local and national safety and building regulations. The installer is responsible for ensuring that the appliance functions correctly when installed.
The gas connection must be installed so that connection can be made either from inside or outside the kitchen furniture unit. The isolating valve must be easily accessible and visible (by opening the cabinet door if necessary).
Check with your local gas supplier about the type of gas supplied and compare this information with the type of gas quoted on the appliance’s data plate. The hob is not connected to an exhaust flue. When installing and connecting the appliance please observe all relevant installation instructions and ensure it has adequate ventilation once installed. The gas connection must be made in accordance with national and local regulations. Any special local conditions relating to gas installations as well as building regulations must also be observed.
Risk of heat damage. Gas connections, pipes, and connection cables can suffer damage if exposed to heat from the hob. After installation makes sure that neither the gas pipe nor the mains cable can come into contact with hot parts of the appliance and that the gas pipe and connections on the hob cannot come into contact with the hot gas exhaust.
Risk of explosion due to damaged gas pipes.
Gas can leak from damaged flexible gas pipes.
Attach flexible gas pipes in such a way so that they do not come into contact with any moving kitchen parts (e.g. a drawer) and are not exposed to mechanical stress.
Connect the hob to the gas supply in accordance with national and local regulations. Check the gas connection for any leaks. Depending on the country of destination this appliance is set up for connection to natural or liquid gas. See adhesive label on the appliance. Depending on the country of destination, jets are supplied for conversion to a different type of gas. If the appropriate jets have not been supplied with the appliance, you will need to contact your Miele dealer. Conversion to another type of gas is described in the section “Converting to another type of gas”.
Connecting the hob
The hob is supplied with a conical ¹/₂” gas connection point. There are two connection options: – Fixed connection – Flexible connection in accordance with DIN 3383 Part 1, maximum length 2000 mm.
Risk of explosion due to gas leakage. The unsuitable sealant will not ensure the required leak protection for connections. Ensure that a suitable sealant is used.
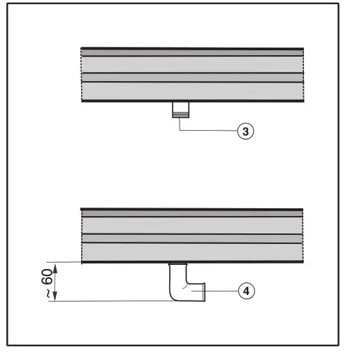
Using a 90° angle

3. Connection R ¹/₂”
4. 90° elbow
The installation height in the area of the gas connection is increased by approx. 60 mm.
Burner ratings
Nominal ratings
| Burner | Gas type | Highest setting | Lowest setting | |
| kW | g/h | kW | ||
| Small burner | Natural gas | 1.0 | – | 0.25 |
| Liquid gas | 0.95 | 69 | 0.2 | |
| Medium | Natural gas | 1.7 | – | 0.3 |
| Liquid gas | 1.7 | 124 | 0.35 | |
| Large burner | Natural gas | 2.7 | – | 0.5 |
| Liquid gas | 2.55 | 186 | 0.6 | |
| Wok | Natural gas | 4.7 | – | 0.3 |
| Liquid gas | 4.6 | 335 | 0.25 | |
| Total | Natural gas | 11.8 | – | |
| Liquid gas | 11.5 | 837 | ||
Electrical connection
All electrical work must be carried out by a suitably qualified and competent person in strict accordance with current local and national safety regulations. The connection must be made via a switched socket. This will make it easier for service technicians should the appliance need to be repaired. The electrical socket must be easily accessible after installation.
The danger of injury. Miele cannot be held liable for unauthorized installation, maintenance and repair work as this can be dangerous to users. Miele cannot be held liable for damage or injury caused by incorrect installation, maintenance or repair work, or by an inadequate or faulty earthing system (e.g. electric shock).
If the plug is removed from the connection cable or if the cable is supplied without a plug, the appliance must be connected to the electrical supply by a suitably qualified electrician.
If the switched socket is not accessible after installation, or if the appliance is to be hard-wired, an additional means of disconnection must be provided for all poles. When switched off, there must be an all- pole contact gap of at least 3 mm in the switch (including switch, fuses and relays). Connection data is shown on the data plate. It must match the mains electrical supply. After installation ensure that all electrical components are shielded and cannot be accessed by users.
Total power rating
See data plate
Connection data
The connection data is quoted on the data plate. Please ensure these match the household mains supply.
Disconnecting from the mains
Risk of electric shock.
There is a risk of electric shock if the appliance is connected to the mains supply during repair or service work. After disconnection, ensure the appliance cannot be switched back on by mistake.
To disconnect the appliance from the mains power supply, do one of the following depending on installation:
Safety fuses
- Completely remove fuses.
Automatic circuit breakers - Press the (red) test button until the middle (black) button springs out.
Built-in circuit breakers - Circuit breakers at least type B or C: Switch the lever from 1 (on) to 0 (off).
Residual current device (RCD) - Switch the main switch from 1 (on) to 0 (off) or press the test button.
Connecting the mains cable
Danger of electrical shock.
The main connection cable must only be fitted by a suitably qualified and competent person.
If the mains cable needs to be replaced it must be replaced with a special connection cable, type H 05 VV-F (PVCinsulated), available from your Miele dealer.
Converting to another gas type
Risk of explosion due to an incorrect conversion.
If the conversion to another type of gas is carried out incorrectly, it may result in gas leakage.
Conversion from one type of gas to another must only be undertaken by an approved and registered gas installer in strict accordance with current local and national safety and building regulations. The installer is responsible for ensuring that the appliance functions correctly when installed.
When converting to another type of gas, both the main and small jets need to be changed.
Jet table
The jet markings refer to a ¹/₁₀₀ mm bore diameter.
| Ø | ||
| Main jet | Small jet | |
| Natural gas | ||
| Small burner Medium burner Large burner Wok burner | 0.76 0.94 1.20 2x 1.07 / 0.72 | 0.39 0.42 0.54 0.42 |
| Liquid gas | ||
| Small burner Medium burner Large burner Wok burner | 0.52 0.66 0.81 2x 0.70 / 0.46 | 0.23 0.36 0.42 0.25 |
Changing the jets
Disconnect the hob from the electricity supply and turn off the gas supply.
Changing the main jets
Small, medium, and large burners

- Remove the pan support, burner cap 1 and burner head 2.
- Using an M7 socket spanner, unscrew the main jet 3
- Fit the correct jets securely (see jet table).
- Secure the jets against inadvertent loosening with sealing wax.
Wok burner

- Remove burner caps 12 and burner head 3.
- Using an M7 socket spanner, unscrew the main jets 4.
- Fit the correct jets securely (see jet table).
- Secure the jets against inadvertent loosening with sealing wax.
Changing the small jets
To change the small jets, the burner fixing screws must first be loosened and the upper section of the appliance removed.
- Pull the control knobs off.
- Remove the burner components.

- Lift the top of the appliance off (see illustration).

- Using a small screwdriver, unscrew the small jet 1 in the gas fitting.
- Pull out the jet with a pair of pliers.
- Fit the correct jets securely (see jet table).
- Secure the jets against inadvertent loosening with sealing wax.
Functional check
- Check all gas fittings for leaks.
- Reassemble the hob.
- Ignite all burners to check that they are operating correctly.
– The flame must not go out on the lowest setting, or when the control is turned quickly from the highest to the lowest setting.
– On the highest setting, the flame must have a distinctive and visible core. - Adhere the label supplied with the jets, stating the type of gas being used.






















