SIGHT MARK SM18030 Wraith 4K Max 3-24×50 Digital Rilerscope
CHARGING THE WRAITH 4K MAX
The Wraith 4k Max comes with a built-in rechargeable battery. To charge it:
Open the charging cover (1 ), plug the USB cable into the USB Port of the Wraith 4k Max and attach the other end to a USB power supply.
BASIC OPERATION
To turn on the Wraith 4K Max hold the power button (2) until the screen turns on. Once the screen is on twist the focus adjustment (3) until the image through the scope becomes clear. If the icons, text or reticle is not clear on the unit you may need to adjust the diopter adjustment until it become clear by twisting the eyepiece (4). Once the Focus and diopter are adjusted, digital zoom can be adjusted by twisting the adjustment knob (5) on top of the unit. To enter the menu for the scope press down on the adjustment knob (5) and then twist it to scroll through the menu. Once in the menu the buttons operate as follows:
- Power button – Move back a menu or exit a menu
- Adjustment knob click -Select or enter a menu
- Adjustment knob twist-Scroll through options or menu
DIAGRAM
- Charging Cover
- Power Button
- Focus Adjustment
- Eyepiece
- Adjustment Knob
MOUNTING AND ZEROING
TO MOUNT THE WRAITH 4K MAX
- Loosen both mount thumbscrews.
- Place mount on to Picatinny rail aligning the bolts with the Picatinny rail slots. Check eye relief and adjust to the proper position.
- Tighten thumbscrews to 20-25-inch pounds.
TO ZERO THE WRAITH 4K MAX
- Turn on the riflescope.
- Take 1-3 shots at a target at the range you would like the scope to be zeroed at. (We recommend 3 shots for best accuracy)
- Enter the menu.
- Select Reticle Settings and then 1 Shot Zero
- Follow the on-screen instructions.
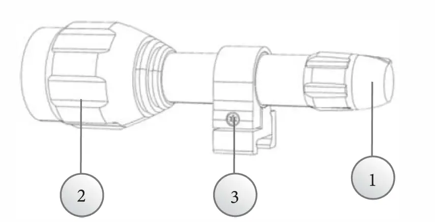
USING THE IR ILLUMINATOR
There are 3 ways to adjust the IR llluminator:
- To turn the IR on adjust the brightness twist the dial (1) on the back of the battery cap to the needed brightness level.
- To focus the beam of the IR llluminator twist the IR focus adjustment (2)
- To adjust the angle of the IR llluminator loosen the screw (3) on the mount and adjust the angle until it is aligned with the center of the image through the scope at the range you want and then tighten the screws to hold it in place.

FCC Statement
This equipment has been tested and found to comply with the limits for a Class B digital device, pursuant to part 15 of the FCC Rules. These limits are designed to provide reasonable protection against harmful interference in a residential installation. This equipment generates, uses and can radiate radio frequency energy and, if not installed and used in accordance with the instructions, may cause harmful interference to radio communications. However, there is no guarantee that interference will not occur in a particular installation. If this equipment does cause harmful interference to radio or television reception, which can be determined by turning the equipment off and on, the user is encouraged to try to correct the interference by one or more of the following measures:
- Reorient or relocate the receiving antenna.
- Increase the separation between the equipment and receiver.
- Connect the equipment into an outlet on a circuit different from that to which the receiver is connected.
- Consult the dealer or an experienced radio/TV technician for help.
Caution: Any changes or modifications to this device not explicitly approved by manufacturer could void your authority to operate this equipment.
This device complies with part 15 of the FCC Rules. Operation is subject to the following two conditions: (1) This device may not cause harmful interference, and (2) this device must accept any interference received, including interference that may cause undesired operation.
RF Exposure Information
The device has been evaluated to meet general RF exposure requirement. The device can be used in portable exposure condition without restriction.






















