SIG SAUER 22SIG3426 Romeo5 1x20mm Compact Red Dot Sight

Please visit sigsauer.com/support/owners-manuals/ for Owners Manual downloads.
INTRODUCTION
Congratulations on the purchase of your ROMEO5™ Compact Red Dot Sight. The ROMEO5 is a compact, closed red dot sight for use with modern sporting rifl es, carbines, shotguns, crossbows and air rifl es. The ROMEO5 features a crisp, bright 2 MOA dot for rapid target acquisition in any situation. The sight comes with a 1.41 inch absolute co-witness Torx cross-bolt riser mounts and select SKUs include a low profi le mount. Your ROMEO5 features MOTAC™ which will extend your runtime beyond 40,000 hours of normal use.
The ROMEO5 is covered by the SIG SAUER Electro-Optics Infi nite Guarantee and SIG SAUER Electronic & Tritium Limited 5-Year Warranty.
CONTENTS
- ROMEO5 1x20mm Compact Red Dot Sight
- Low Profile M1913 Torx mount (select SKUs)
- 1.41” Absolute Co-Witness Riser Torx mount
- Bikini Style Lens Cover
- Torx installation tool
- Lens Cloth
- CR2032 Primary Lithium Coin Cell Battery
KEY FEATURES
- High performance red-notch coating for excellent light transmittance and crisp red dot clarity
- 2 MOA Dot with 10 illumination settings (8 daylight + 2 NV)
- MOTAC™ – Motion activated illumination control powers up when it senses motion and powers down when at rest. Extends LED runtime in excess of 40,000 hours in normal use
- 1.41” Absolute Co-Witness Riser Torx mount with each sight. Select SKUs include Low Profile M1913 Torx mount.
- Cast from aircraft grade aluminum for ruggedness and durability
- Side loading CR2032 coin cell for easy replacement without sight removal
- Dependable IPX-7 waterproof and fogproof performance
- SIG SAUER Electro-Optics Guarantee and SIG SAUER Electronic & Tritium Limited 5-Year Warranty
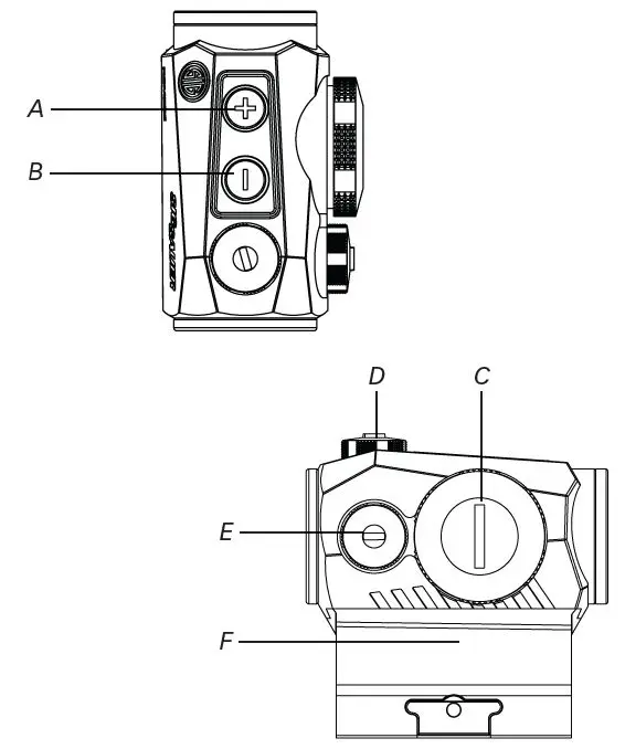
PRODUCT IDENTIFICATION
- A. (+) Illumination Control – Turn ON / OFF or Increase Brightness
- B. (-) Illumination Control – Turn ON / OFF or Decrease Brightness
- C. CR2032 Coin Cell Side Mounted Battery Cap
- D. Elevation Adjustment
- E. Windage Adjustment
- F. 1.41” Torx Riser Mount not shown (Low Profi le Torx Cross Bolt Mount not shown)

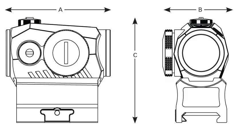
ROMEO5 SPECIFICATIONS
| ROMEO5 SPECIFICATIONS | |
| Dot Size | 2 MOA |
| Mag | 1x |
| Clear Aperture | .787 in / 20mm |
| Illumination Settings | 8 Day / 2NV |
| Elevation Adjustment Range | +/- 40 MOA Minimum |
| Windage Adjustment Range | +/- 40 MOA Minimum |
| Weight | 5.1 oz / 145 g (with 1.41” riser mount and battery) |
| Battery | CR2032 Primary Lithium Coin Cell |
| Waterproofing | IPX-7 |

- A – 2.47 in / 62.7 mm
- B – 1.5 in / 38.1 mm
- C – 2.527 in / 64.2 mm
WARNING
Before working on your ROMEO5 sight always ensure that the firearm is unloaded with the safety on.
OPERATION
Installing the Battery
The CR2032 battery compartment is located on the right side of the sight when viewed from the rear or ocular end of the sight. Remove the battery cap by rotating the cap in the counter-clock- wise (CCW) direction. Insert the CR2032 coin cell battery negative (-) facing inward and directly in contact with the circuit board. The positive (+) contact should be facing outward. Reinstall the battery cap by rotating the cap in the clockwise (CW) direction until finger tight.
Note – failure to properly tighten the battery cap could lead to intermittent LED illumination or allow moisture into the battery compartment.
Turning Sight On and Off / Illumination Control
- The illumination control is located on the top of the sight for easy, ambidextrous access. Press and hold either the (+) or (-) button longer than 1 second to turn the sight on. To turn the sight off press and hold either the (+) or (-) button longer than 1 second and the LED dot should turn off.
- Once the aiming dot is illuminated, you can increase the apparent brightness by pressing and releasing the (+) button; or decrease the brightness by pressing and releasing the (-) button.

- The sight features MOTAC and will automatically turn off after approximately 120 seconds of non-use. As soon as the sight senses motion it will automatically power back onto the last saved setting.
- The sight has 10 illumination settings; 8 daytime and 2 night vision.
MOUNTING THE SIGHT
- The riser Torx mount that comes with your ROMEO5 is designed to be an absolute or true co-witness to most iron sights with a nominal mount height to optical axis of 1.41 inches. Simply loosen the cross-slot Torx bolt by rotating CCW using the supplied T10 tool. Install the sight on your rail and re-tighten in the CW direction to hand tight plus ¼ turn or approximately 30 in-lbs.
- An additional low profile Torx mount is provided
with each sight for select SKUs. The low profile mount is designed for direct, low profile mounting of the red dot sight. The low profile Torx mount installs in the same manner as the riser Torx mount. - The ROMEO5 was designed for use on most types of firearms that utilize the MIL-STD 1913 Picatinny Rail or Weaver style rails. Because the ROMEO5 has infinite eye relief, the sight can be mounted anywhere on the rail based on user preference.
SIGHT ADJUSTMENTS
- Windage and elevation adjustments are located on the rear top and rear right side of the sight. They each come with caps that when removed can be used to adjust the point of aim of your sight.

- Elevation adjustments – the elevation adjustment is on the top of your sight. To raise the point of impact turn the adjustment CCW with the cap or a flathead screwdriver. Each click is equal to 0.5 MOA. To lower the point of impact turn the adjustment CW.
- Windage adjustments – the windage adjustment is on the right side of your sight. To shift the point of impact to the right turn the adjustment CCW with the cap or a flathead screwdriver. Each click is equal to 0.5 MOA. To shift the point of impact to the left turn the adjustment CW.

MAINTENANCE
- Cleaning – Keep your lenses clear by using a soft cloth or lens pen. The best way to maintain image quality is by keeping your lens surfaces clear of dirt and dust that can cause scratches.
- Always use your bikini lens cover to ensure that the outer lens surfaces remain scratch free during transport.
TROUBLESHOOTING
Point of Impact (POI) changes between groups:
- Check that the mount is affixed tightly to the rail of your firearm.
- Check and clean your firearm.
- Check for variations in ammunition.
Intermittent LED Dot Illumination during live fire:
- Re-tighten the battery cap.
- Replace the battery or remove the battery and clean the circuit board contacts and battery surfaces.
SIG SAUER® Electro-Optics Infinite Guarantee® / Limited Lifetime Warranty
SIG SAUER has manufactured the most rugged, dependable, high-performance firearms for more than two centuries. Our heritage of design, engineering, and precision-manufactured quality predates the existence of any other optics company worldwide. We understand the importance of quality in the line of fire, at the shooting range or on your next hunt. SIG SAUER Electro-Optics had to earn the right to wear that badge and the Infinite Guarantee has your back, forever. Period.
We will repair or replace your SIG SAUER product in the event it becomes damaged or defective, at no charge to you. If we cannot repair your product, we will replace it with a product in perfect working order of equal or better physical condition.
SIG SAUER Infinite Guarantee®
- Unlimited Lifetime Guarantee
- Fully Transferable
- No Warranty Card Required
- No Receipt Required
- No Time Limit Applies
- No Charge
Please note that our Infinite Guarantee excludes coverage for intentional damage, misuse, cosmetic damage that does not affect the performance of the optic, loss, theft, or unauthorized repair or modification. Excludes electronic and Tritium components.
Customers seeking warranty coverage must first obtain a Return Merchandise Authorization (RMA) by contacting SIG SAUER Customer Service, and return the product unloaded and freight prepaid.
ANY WARRANTIES IMPLIED BY LAW, INCLUDING ANY IMPLIED WARRANTIES OF MERCHANTABILITY OR FIT-NESS FOR A PARTICULAR PURPOSE, ARE EXPRESSLY DISCLAIMED. REPAIR, ALTERATION, OR REPLACEMENT AS PROVIDED HEREIN IS YOUR EXCLUSIVE REMEDY FOR ANY DEFECTIVE PRODUCT. IN NO EVENT SHALL SIG SAUER OR ANY COMPANY AFFILIATED WITH SIG SAUER BE LIABLE FOR ANY SPECIAL, INCIDENTAL, OR CONSEQUENTIAL DAMAGES OF ANY KIND ARISING OUT OF THE PURCHASE OR USE OF THIS PRODUCT, WHETHER BASED UPON CONTRACT, TORT, STATUTE, OR OTHERWISE. Some states do not allow the exclusion or limitation of implied warranties, or the exclusion or limitation of incidental or consequential damages, so some or all of the above limitations or exclusions may not apply to you. This warranty gives you specific legal rights, and you may also have other rights which vary from State to State.
THIS WARRANTY APPLIES TO COMMERCIAL CUSTOMERS ONLY, AND DOES NOT APPLY TO GOVERNMENT, MILITARY, LAW ENFORCEMENT, OR NON-US CUSTOMERS. NON-US COMMERCIAL CUSTOMERS MUST PUR-CHASE PRODUCT THROUGH AN AUTHORIZED SIG SAUER DEALER WITHIN THEIR COUNTRY OF RESIDENCE FOR THIS WARRANTY TO APPLY.
SIG SAUER Electronic Component Limited 5-Year Warranty
SIG SAUER warrants that the electronic and tritium components of the enclosed product were originally manufactured free of defects in workmanship, material, and mechanical function. For a period of five (5) years from the date of manufacture, SIG SAUER agrees to correct any defect in these components by repair, adjustment, or replacement, at SIG ASAUER’s option, with the same or comparable quality components (or by replacing the product at SIG SAUER’s option); provided however that a Return Merchandise Authorization (RMA) is first obtained by contacting SIG SAUER Customer Service, and that the product is returned unloaded and freight prepaid.
This limited warranty is null and void if the product has been misused, damaged (by accident or otherwise), damaged through failure to provide reasonable and necessary maintenance as described in the user’s manual, or if unauthorized repair or any alteration, including of a cosmetic nature, has been performed on the product. This limited warranty does not apply to normal cosmetic wear and tear of any parts.
ANY WARRANTIES IMPLIED BY LAW, INCLUDING ANY IMPLIED WARRANTIES OF MERCHANTABILITY OR FIT-NESS FOR A PARTICULAR PURPOSE, ARE EXPRESSLY DISCLAIMED. REPAIR, ALTERATION, OR REPLACEMENT AS PROVIDED HEREIN IS YOUR EXCLUSIVE REMEDY FOR ANY DEFECTIVE PRODUCT. IN NO EVENT SHALL SIG SAUER OR ANY COMPANY AFFILIATED WITH SIG SAUER BE LIABLE FOR ANY SPECIAL, INCIDENTAL, OR CONSEQUENTIAL DAMAGES OF ANY KIND ARISING OUT OF THE PURCHASE OR USE OF THIS PRODUCT, WHETHER BASED UPON CONTRACT, TORT, STATUTE, OR OTHERWISE.
Some states do not allow the exclusion or limitation of implied warranties, or the exclusion or limitation of incidental or consequential damages, so some or all of the above limitations or exclusions may not apply to you. This warranty gives you specific legal rights, and you may also have other rights which vary from State to State.
THIS WARRANTY APPLIES TO COMMERCIAL CUSTOMERS ONLY, AND DOES NOT APPLY TO GOVERNMENT, MILITARY, LAW ENFORCEMENT, OR NON-US CUSTOMERS. NON-US COMMERCIAL CUSTOMERS MUST PUR-CHASE PRODUCT THROUGH AN AUTHORIZED SIG SAUER DEALER WITHIN THEIR COUNTRY OF RESIDENCE FOR THIS WARRANTY TO APPLY.
FOR PRODUCT SERVICE ON THIS MODEL,
PLEASE CALL 603-610-3000
27100 SW Parkway Avenue, Portland, OR 97070 USA
























