

ROMEO™
ROMEO1PRO™ 1×30 mm MINIATURE REFLEX SIGHT
OPERATOR’S MANUAL

Please visit sigsauer.com for Operator’s Manual downloads.
INTRODUCTION
The ROMEO1PRO™ Miniature Reflex Sight is the ideal sighting solution for handguns, and can be directly mounted to any SIG SAUER pistol with the PRO optic slide cut, using M4 mounting screws.
The ROMEO1PRO Reflex Sight features a high transmittance red notch reflector for excellent brightness, light transmittance and zero distortion. A 3 or 6 MOA Red Dot with multiple brightness settings ensures rapid target engagement under a full range of lighting conditions. Smart power management with intelligent motion sensor technology (MOTAC) provides instanton capability while maximizing battery life. The readily available CR1632 battery is top-loading, allowing for quick battery replacement without having to remove the sight from the firearm. The extremely strong and lightweight aluminum housing and molded glass aspherical lens ensure a lifetime of performance and reliable service. Durability of the ROMEO1PRO is further enhanced when mounted inside of the steel shroud.*
The ROMEO1PRO is covered by the SIG SAUER Electro-Optics Infinite Guarantee®/Limited Lifetime Warranty and the SIG SAUER Electronic Component Limited 5-Year Warranty.
* The steel shroud is not included with commercial RXP pistols.
CONTENTS
- ROMEO1PRO™ 1×30 mm Miniature Reflex Sight
- CR1632 Battery (1)
- M4x0.7 TORX™ Head Screws (2)
- Stainless Steel Shroud (not included with commercial RXP pistol)
- Sight Cover
- All-In-One Keychain Tool (Battery Cover Bit, Windage/Elevation Adjustment Bit, Spare Battery Storage Compartment)
- TORX Wrench
- Lens Cloth (not included with commercial RXP pistol)
- Operator’s Manual
KEY FEATURES:
- Molded glass aspherical lens with high performance coatings for superior light transmittance and zero distortion
- 3 or 6 MOA Red Dot with multiple brightness settings for rapid target engagement under a full range of lighting conditions
- TruHold™ Lockless Zeroing System that utilizes twin adjustment springs designed to endure handgun recoil and return to zero shot after shot
- 20,000+ hour battery life at usable brightness settings with extreme brightness for outdoor use plus night vision settings
- MOTAC™ (Motion Activated Illumination System) that powers up when it senses motion and powers down when it does not
- Aircraft grade CNC Aluminum housing ensures a lifetime of reliable service
- Dependable waterproof (IPX-7 rated for complete water immersion up to 1 meter) and fogproof performance
- SIG SAUER Electro-Optics Infinite Guarantee®/Limited Lifetime Warranty and the SIG SAUER Electronic Component Limited 5-Year Warranty
PRODUCT IDENTIFICATION:

A. Windage Adjustment Screw
B. (▼) Down Brightness Adjustment Button
C. (▲) Up Brightness Adjustment Button
D. Elevation Adjustment Screw
E. Mount Attachment Screw Locations (2 each)
F. Battery Cap
G. Lens


WARNING UNLOAD/CLEAR
BEFORE WORKING ON YOUR ROMEO1PRO™ SIGHT ALWAYS ENSURE THAT THE FIREARM IS UNLOADED AND CLEARED WITH THE SAFETY ON.
OPERATION

Installing the battery
The battery is located beneath the Battery Cap that is accessed from the top of the sight. Remove the Battery Cap by turning “left” (counterclockwise) using the large flat tip end of the Adjustment Tool. Alternately, you may remove the Battery Cap by using a properly sized flat tip screw driver. Install the CR1632 battery with the positive (+) side facing up. Install the Battery Cap by turning “right” (clockwise) until tight. Use caution when starting the Battery Cap to prevent damage to the Battery Cap threads. Optimal torque for tightening the battery cap is between 10-12 in-lbs. You should check the battery cap approximately every 500 rounds to ensure it is still tight. Installing the battery without sufficient torque may cause it to loosen under recoil, and may cause power loss to the red dot.
TURNING SIGHT ON AND OFF / ILLUMINATION CONTROL
- To turn the sight on, press and hold the ▲ or ▼brightness adjustment button for over 1 second.
- To turn the sight off, press and hold the ▲ or ▼ brightness adjustment button for over 1 second. The sight will remain off until you manually turn it on again using the ▲ or ▼ brightness adjustment buttons. When the sight is turned back on, it will return to the last brightness level used.
- After 2 minutes of inactivity (no movement), the sight will enter its power saving mode and automatically shut off. Any movement will immediately activate the MOTAC (Motion Activated Illumination) feature, turning the sight back on to the last brightness setting used. The ROMEO1PRO™ has 12 illumination settings, 10 daytime and 2 NV. To increase the intensity of the 3 or 6 MOA dot press and release the ▲ (up) brightness adjustment button on the left side of the sight. To decrease the intensity press and release the ▼ (down) brightness adjustment button. When the dot has been adjusted to its highest or lowest brightness settings, it will flash 5 times.
- To disable MOTAC, press and hold both buttons for 3 seconds. The sight will flash the reticle one time to signify MOTAC is disabled. To re-enable MOTAC simply repeat the process. The reticle will blink twice to signify MOTAC being enabled.
Note: With MOTAC disabled, battery life will be significantly reduced if the sight is permanently left ON.
MOUNTING THE SIGHT
- Direct Mount: The ROMEO1PRO only requires two mounting screws when mounted directly to a firearm. The mounting holes should be checked for debris and cleaned out if necessary. The sight is to be placed directly on the slide and inside of the shroud if applicable. The mounting screws should be threaded into the proper holes in the slide, then torqued to 28-30 in-lbs. Mounting screw torque should be checked approximately every 500 rounds, or any time the optic is removed and reinstalled. Proper mounting torque is critical to ensuring the optic zero does not shift under recoil.
SIGHT ADJUSTMENTS
- Elevation adjustments – the elevation adjustment is on the top of your sight. To raise your point of impact turn the adjustment counterclockwise with the adjustment tool (Or Small Flat Tip Screwdriver). Each index mark is equal to 1 MOA. To lower the point of impact turn the adjustment clockwise.
- Windage adjustments – the windage adjustment is on the right side of your sight. To shift your point of impact to the right turn the adjustment counterclockwise with the adjustment tool (Or Small Flat Tip Screwdriver). Each click is equal to 1 MOA. To shift the point of impact to the left turn the adjustment clockwise.
- ROMEO1PRO™ utilizes TruHold, a lockless zeroing system utilizing twin adjustment springs designed to endure handgun recoil and return to zero shot after shot. There are no special inputs required by the user.

- Elevation
- Windage
| Elevation Adjustment | ||
| POI Up | ↑ | ↺ |
| POI Down | ↓ | ↻ |
| Windage Adjustment | ||
| POI Right | → | ↺ |
| POI Left | ← | ↻ |
SIGHTING IN
- When mounted to a handgun, the ROMEO1PRO should be sighted in just like a rifle optic. Shots should be taken at a target and the optic adjusted to bring the point of aim together with the point of impact. Cowitnessing the ROMEO1PRO to the iron sights of a pistol is possible on some gun/sight/optic configurations but will not result in optimal accuracy.
- Due to variations in pistol size/weight, caliber, ammunition type, and the differing recoil forces generated between these variations – you should re-validate your zero from time to time, to ensure optimal performance and accuracy.
MAINTENANCE
- Cleaning – Keep your lenses clear by using a soft cloth or lens pen. The best way to maintain image quality is by keeping your lenses clear of dirt and dust that cause scratches.
- Always use your sight cover to ensure that the sight optics remain scratch free.
- Replacing the battery – See page 7 of this manual.
TROUBLESHOOTING
POI changes between groups when shooting from a single set distance
- Check that the mount screws are tightened to the correct torque spec
- Check/Clean your firearm
- Check for variations in ammunition
Red Dot not illuminated
- Verify sight is powered ON (page 8)
- Press and release the up (▲) brightness adjustment button multiple times to ensure the optic is not in a low brightness setting
- Verify the battery cap is tightened to the correct torque spec (page 7)
- Replace the battery (page 7)
| ROMEO1PRO™ 1×30 mm | SPECIFICATIONS |
| Magnification | 1x |
| Clear Aperture | 30 mm (Diagonal) |
| Illumination Settings | 10 Day / 2 NV |
| Elevation Adjustment Range | + / – 50 MOA |
| Windage Adjustment Range | + / – 50 MOA |
| Weight (Sight only without battery) | 1.0 oz / 28 g |

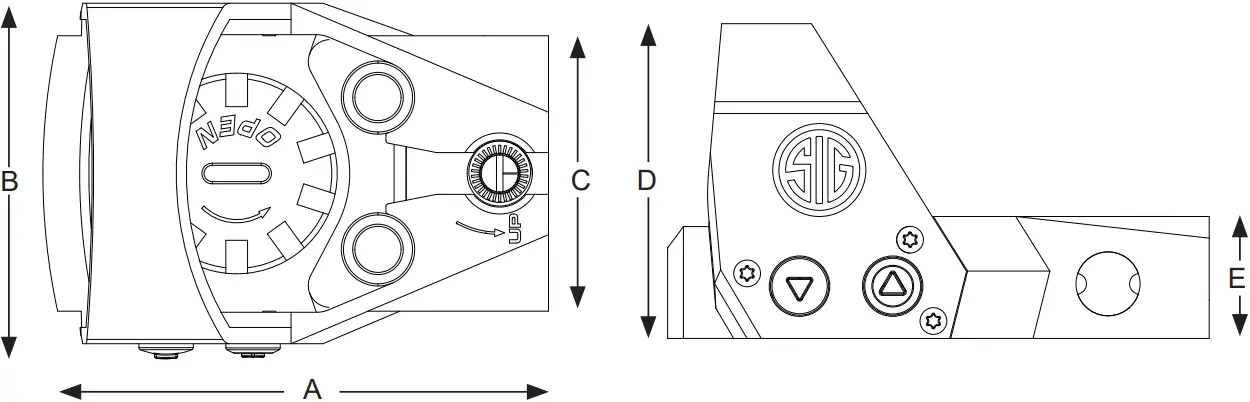
A – 1.8 in / 46.5 mm D – 1.1 in / 27.4 mm
B – 1.2 in / 31.7 mm E – 0.4 in / 10.8 mm
C – 1.0 in / 25.4 mm

SIG SAUER ELECTRO-OPTICS INFINITE GUARANTEE®/ LIMITED LIFETIME WARRANTY
SIG SAUER® has manufactured the most rugged, dependable, high-performance firearms for more than two centuries. Our heritage of design, engineering, and precision-manufactured quality predates the existence of any other optics company worldwide. We understand the importance of quality in the line of fire, at the shooting range or on your next hunt. SIG SAUER Electro-Optics had to earn the right to wear that badge and the Infinite Guarantee has your back, forever. Period.
We will repair or replace your SIG SAUER product in the event it becomes damaged or defective, at no charge to you. If we cannot repair your product, we will replace it with a product in perfect working order of equal or better physical condition.
SIG SAUER® Infinite Guarantee®
- Unlimited Lifetime Guarantee
- Fully Transferable
- No Warranty Card Required
- No Receipt Required
- No Time Limit Applies
- No Charge
Please note that our Infinite Guarantee excludes coverage for intentional damage, misuse, cosmetic damage that does not affect the performance of the optic, loss, theft, or unauthorized repair or modification. Excludes electronic and Tritium components.
Customers seeking warranty coverage must first obtain a Return Merchandise Authorization (RMA) by contacting SIG SAUER Customer Service, and return the product unloaded and freight prepaid.
ANY WARRANTIES IMPLIED BY LAW, INCLUDING ANY IMPLIED WARRANTIES OF MERCHANTABILITY OR FITNESS FOR A PARTICULAR PURPOSE, ARE EXPRESSLY DISCLAIMED. REPAIR, ALTERATION, OR REPLACEMENT AS PROVIDED HEREIN IS YOUR EXCLUSIVE REMEDY FOR ANY DEFECTIVE PRODUCT. IN NO EVENT SHALL SIG SAUER OR ANY COMPANY AFFILIATED WITH SIG SAUER BE LIABLE FOR ANY SPECIAL, INCIDENTAL, OR CONSEQUENTIAL DAMAGES OF ANY KIND ARISING OUT OF THE PURCHASE OR USE OF THIS PRODUCT, WHETHER BASED UPON CONTRACT, TORT, STATUTE, OR OTHERWISE. Some states do not allow the exclusion or limitation of implied warranties, or the exclusion or limitation of incidental or consequential damages, so some or all of the above limitations or exclusions may not apply to you. This warranty gives you specific legal rights, and you may also have other rights which vary from State to State.
THIS WARRANTY APPLIES TO COMMERCIAL CUSTOMERS ONLY, AND DOES NOT APPLY TO GOVERNMENT, MILITARY, LAW ENFORCEMENT, OR NON-US CUSTOMERS. NON-US COMMERCIAL CUSTOMERS MUST PURCHASE PRODUCT THROUGH AN AUTHORIZED SIG SAUER DEALER WITHIN THEIR COUNTRY OF RESIDENCE FOR THIS WARRANTY TO APPLY.
SIG SAUER® ELECTRONIC COMPONENT LIMITED 5-YEAR WARRANTY

SIG SAUER warrants that the electronic and tritium components of the enclosed product were originally manufactured free of defects in workmanship, material, and mechanical function. For a period of five (5) years from the date of manufacture, SIG SAUER agrees to correct any defect in these components by repair, adjustment, or replacement, at SIG SAUER’s option, with the same or comparable quality components (or by replacing the product at SIG SAUER’s option); provided however that a Return Merchandise Authorization (RMA) is first obtained by contacting SIG SAUER Customer Service, and that the product is returned unloaded and freight prepaid.
This limited warranty is null and void if the product has been misused, damaged (by accident or otherwise), damaged through failure to provide reasonable and necessary maintenance as described in the user’s manual, or if unauthorized repair or any alteration, including of a cosmetic nature, has been performed on the product. This limited warranty does not apply to normal cosmetic wear and tear of any parts.
ANY WARRANTIES IMPLIED BY LAW, INCLUDING ANY IMPLIED WARRANTIES OF MERCHANTABILITY OR FITNESS FOR A PARTICULAR PURPOSE, ARE EXPRESSLY DISCLAIMED. REPAIR, ALTERATION, OR REPLACEMENT AS PROVIDED HEREIN IS YOUR EXCLUSIVE REMEDY FOR ANY DEFECTIVE PRODUCT. IN NO EVENT SHALL SIG SAUER OR ANY COMPANY AFFILIATED WITH SIG SAUER BE LIABLE FOR ANY SPECIAL, INCIDENTAL, OR CONSEQUENTIAL DAMAGES OF ANY KIND ARISING OUT OF THE PURCHASE OR USE OF THIS PRODUCT, WHETHER BASED UPON CONTRACT, TORT, STATUTE, OR OTHERWISE.
Some states do not allow the exclusion or limitation of implied warranties, or the exclusion or limitation of incidental or consequential damages, so some or all of the above limitations or exclusions may not apply to you. This warranty gives you specific legal rights, and you may also have other rights which vary from State to State.
THIS WARRANTY APPLIES TO COMMERCIAL CUSTOMERS ONLY, AND DOES NOT APPLY TO GOVERNMENT, MILITARY, LAW ENFORCEMENT, OR NON-US CUSTOMERS. NON-US COMMERCIAL CUSTOMERS MUST PURCHASE PRODUCT THROUGH AN AUTHORIZED SIG SAUER DEALER WITHIN THEIR COUNTRY OF RESIDENCE FOR THIS WARRANTY TO APPLY.

WARNING: CANCER AND REPRODUCTIVE HARM—www.P65warnings.ca.gov

FOR PRODUCT SERVICE ON THIS MODEL, PLEASE CALL 603-610-3000
27100 SW Parkway Avenue, Wilsonville, Oregon 97070 USA
©2022 SIG SAUER, Inc All rights reserved. AN ISO 9001:2015 REGISTERED COMPANY P/N 7401786-01 REV04

WARNING UNLOAD/CLEAR
















