EGLO 97083 VADUMI LED Wall Light

POWER OFF

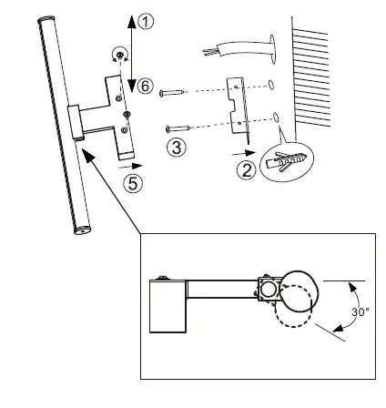
TOOLS

INSTALLATION



POWER ON



POWER OFF





POWER ON

Download manual
Here you can download full pdf version of manual, it may contain additional safety instructions, warranty information, FCC rules, etc.