ET2 Contemporary Lighting E41342 Outdoor Wall Bronze Integrated LED

Product Information
The Alumilux is a contemporary lighting product. It is an LED light source that has a power rating of 9W. The product is manufactured in China and comes with item number E41342. The package includes a body, mounting bracket, backplate, wire nuts, mounting screws, and screws of two different sizes (#8-32*1/2 and #8-32*1).
Before Getting Started
Before assembling the product, read the instructions carefully. Use a sharp tool like a cutter knife to open the package but be careful not to damage the components inside. Remove all packaging materials and keep them for future use. Keep all hardware parts and packaging out of reach of small children. Choose a clean, level, and spacious assembly area and avoid hard surfaces that may damage the product. Ensure that you have all the required contents for complete assembly. Assemble the product in close proximity to where you intend to position the item. Do not over-tighten the screws and bolts as this may damage the threads. Do not let children play with this product.
Lamp Care Instructions
Carefully read through the instruction sheet before assembly and using the product. There is a risk of shock, so disconnect from the power source before assembling or cleaning. Switch off, unplug, and allow the bulb to cool before replacing or cleaning it. Only use the recommended bulb type and do not exceed the maximum wattage as it could cause fire. Do not plug in the product if cord is torn or frayed. For outdoor use, caulk around the fixture with silicone sealant to prevent water intrusion.
Cleaning and Maintenance
Apply high-quality car wax to the fixture regularly to protect it from environmental factors that can damage the metal. Clean with a soft cloth and a mild detergent. DO not use abrasive cleaners. Periodically (every 90 days), make sure that the screws are fully tightened. Prolonged exposure to heat sources may cause glazing, melting, and scorching, or even cause the color to fade.
Product Usage Instructions
1. Take out all the components from the package, including the body, mounting bracket, backplate, wire nuts, mounting screws, and screws (#8-32*1/2 and #8-32*1).
2. Choose a clean, level, and spacious assembly area to assemble the product. Avoid hard surfaces that may damage the product.
3. Assemble the product in close proximity to where you intend to position it.
4. Carefully follow the instructions to assemble the product. Do not over-tighten the screws and bolts as this may damage the threads.
5. After assembling the product, connect it to a power source and switch it on.
6. To clean the product, use a soft cloth and a mild detergent. Do not use abrasive cleaners.
7. For outdoor use, caulk around the fixture with silicone sealant to prevent water intrusion.
Before Getting Started
- Read the instructions carefully prior to assembling the product.
- When you open the package with a sharp tool like a cutter knife, be careful not to damage the components inside.
- Carefully remove all packaging materials and retain for future use.
- Keep all hardware parts and packaging out of reach of small children.
- Choose a clean, level, spacious assembly area. Avoid hard surfaces that may damage the product.
- Ensure that you have all the required contents for complete assembly.
- Take care when lifting. Assemble the product in close proximity to where you intend to position the item.
- Do not over tighten the screws and bolts as this may damage the threads.
- Do not let children playwith this product.
Risk of suffocation!
Keep any packaging materials away from children.
Lamp Care Instructions
- Carefully read through the instruction sheet before assembly and using the product.
- Caution there is a risk of shock. Disconnect from the power source before assembling or cleaning.
- Switch off, unplug and allow bulb to cool before replacing bulb or cleaning.
- Only use the recommended bulb type and do not exceed the maximum wattage as it could cause fire.
- Do not plug the product in if cord is torn or frayed.
For outdoor use, caulk around the fixture with silicone sealant to prevent water intrusion.
Cleaning & Maintenance
- Apply high-quality car wax to the fixture regularly to protect it from environmental factors that can damage the metal.
- Clean with soft cloth and a mild detergent. DO not use abrasive cleaner.
- Periodically (every 90 days) make sure that the screws are fully tightened.
- Prolonged exposure to heat sourcesmay cause glazing, melting, and scorching, or even cause the color to fade.
Contents
Before getting, started, ensure the package contains the following components:


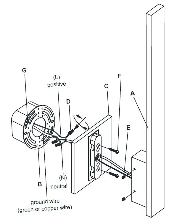
INSTALLATION INSTRUCTIONS


Caulk around the backplate where the fixture meets the wall and leaves a hole at the bottom to allow water to escape.




















