E41343 Alumilux Line Outdoor Wall Mount
Instruction Manual
PRODUCT NAME: Alumilux
ITEM NUMBER: E41343

Light Source: LED 13W
Before Getting Started
Read the instructions carefully prior to assembling the product.
When you open the package with a sharp tool like a cutter knife, be careful not to damage the components inside.
Carefully remove all packaging materials and retain them for future use.
Keep all hardware parts and packaging out of reach of small children.
Choose a clean, level, spacious assembly area.
Avoid hard surfaces that may damage the product.
Ensure that you have all the required contents for complete assembly.
Take care when lifting. Assemble the product in close proximity to where you intend to position the item.
Do not over-tighten the screws and bolts as this may damage the threads.
Do not let children play with this product.
Risk of suffocation!
Keep any packaging materials away from children.
Lamp Care Instructions
Carefully read through the instruction sheet before assembly and using the product.
Caution there is a risk of shock. Disconnect from the power source before assembling or cleaning.
Switch off, unplug and allow the bulb to cool before replacing the bulb or cleaning.
Only use the recommended bulb type and do not exceed the maximum wattage as it could cause a fire.
Do not plug the product in if the cord is torn or frayed.
For outdoor use, caulk around the fixture with silicone sealant to prevent water intrusion.
Cleaning & Maintenance
Apply high-quality car wax to the fixture regularly to protect it from environmental factors that can damage the metal.
Clean with a soft cloth and mild detergent.
DO not use abrasive cleaner.
Periodically (every 90 days) make sure that the screws are fully tightened.
Prolonged exposure to heat sources may cause glazing, melting, and scorching, or even cause the color to fade.
Contents
Before getting, started ensure the package contains the following components:



THIS PRODUCT MUST BE INSTALLED IN ACCORDANCE WITH THE APPLICABLE INSTALLATION CODE BY A PERSON FAMILIAR WITH THE CONSTRUCTION AND OPERATION OF THE PRODUCT AND THE HAZARDS INVOLVED
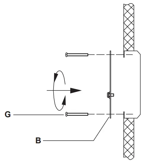
Caulk around the backplate where the fixture meets the wall and leaves a hole at the bottom to allow water to escape.



















