F6277110V / BBEL2101ORB
Installation & Operating Instructions
for the Owner’s Installation ,Manual
F6277110V Ceiling Fan
WARNING: SHUT POWER OFF AT FUSE OR CIRCUIT BREAKER
Safety Information
- To reduce the risk of electric shock, the electricity has been turned off at the circuit breaker or fuse box before begin.
- All wiring must be in accordance with the National Electrical Code NASI/NFPA 70-1999 and local electrical codes. Electrical installation should be performed by a qualified licensed electriccian.
- The outlet box and support structure must be securely mounted and capable of reliably supporting 351b.(15.9kg).Use only UL listed outlet boxes marked “Acceptable for Fan Support of 35Ibs(15.9kg)or less.”
- The fan must be mounted with a minimum of 7 ft. (2m) clearance from the trailing edge of the blades to the floor
- Do not operate the reversing switch while the fan blades are in motion. You must turn the fan off and stop the blades before you reverse the blade direction.
- Do not place objects in the path of the blades.
- To avoid personal injury or damage to the fan and other items, please be careful when working around or cleaning the fan.
- Electrical diagrams are for reference only. Light kits that are not packed with the fan must be UL-listed and marked suitable for use with the model fan you are installing. Switches must be UL General Use Switches. Refer to the instructions packaged with the light kits and switches for proper assembly.
- After making electrical connections , spliced conductors should be turned upward and pushed carefully up into the outlet box.The wires should be spread apart with the grounded conductor and the equipment-grounding conductor on one side of the outlet box.
- All setscrews must be checked and retightened where necessary before installation.
WARNING: TO reduce the risk of personal injury, do not bend the blade brackets (also referred to as flanges) during assembly or after installation.Do not insert objects in the path of the blades .
WARNING: Remove the rubber motor stops on the bottom of the fan before installing the blades or testing the motor.
WARNING: To reduce the risk or fire or electric shock,do not use this fan with any solid-state speed control device.
WARNING: To avoid possible electric shock, turn the electricity off at the main fuse box before wiring.lf you feel you do not have enough electrical wiring knowledge or experience,contact a licensed electrician.
WARNING: Electrical diagrams are for reference only. Optional use of any light kit shall be UL-listed and marked suitable for use with this fan.
WARNING: To reduce the risk of fire, electric shock, or personal injury, mount to outlet box marked” Acceptable for fan support of 35 lbs.(15.9 kg)or less ” and use the screws provided with the outlet box.
THANK YOU FOR YOUR PURCHASE
Thank you for purchasing this quality product. To ensure correct function and safety, please read and save all instructions before using the product
SAFETY TIP
- To avoid possible electric shock, turn off the electricity at the main fuse box or circuit panel before you begin the fan installation or before servicing the fan or installing accessories.
- Read all instructions and safety information carefully before installing your fan and save these instructions.
- Make sure all electrical connections comply with local codes or ordinances and the National Electrical Code. If you are unfamiliar with electric wiring, please use a qualified and licensed electrician.
- Make sure you have a location selected for your fan that allow clear space for the blades to rotate, and at least seven (7) feet of clearance between the floor and the fan blade tips. The fan should be mounted at least thirty (30) inches from walls or other upright structures.
- WARNING: The outlet box and ceiling support joist used must be securely mounted, and capable of supporting at least 100 pounds. To reduce the risk of fire, electric shock or personal injury, mount to the outlet box marked acceptable for fan supported and use mounting screws provided with the outlet box. The box must be supported directly by the building structure.
- WARNING: To reduce the risk of fire, electric shock or personal injury, mount to outlet box marked “acceptable for fan support” and use mounting
screws provided with the outlet box most outlet boxes commonly used for the support of lighting fixtures are not acceptable for fan support and may need to be replaced. Consult a qualified electrician if in doubt. - Electrical diagrams are for reference only. Light kits that are not packed with the fan must UL listed and marked suitable for use with the model fan you are installing. Switches must be UL. general use switches. Refer to the instructions packaged with the light kits and switches for proper assembly.
- After installation is complete, check that all connections are absolutely secure.
- After making electrical connections, spliced conductors should be turned upward and pushed carefully up into outlet box. The wires should be spread apart with the grounded conductor and the equipment-grounding conductor on one side of the outlet box.
- WARNING: To reduce the risk of electrical shock and fire, do not use this fan with any solid-state fan speed control device, or rheostat.
- Do not separate the reverse switch until the fan has come to a complete stop.
- Do not insert anything into the fan blades while they are rotating.
- WARNING: To reduce the risk of personal injury, do not bend the blade brackets (also referred to as “flanges”) during assembly or after installation. Do not insert objects in the path of the blades.
- To avoid personal injury or damage to the fan and other items, be cautious when working around or cleaning the fan.
- Do not use water or detergent when cleaning the fan or fan blades. A dry dust cloth or lightly dampened cloth will be suitable for most cleaning.
NOTE: The important safety precautions and instructions appearing in the manual are not meant to cover all possible conditions and situations that may occur. It must be understood that common sense and caution are necessary factors in the installation and operation of this fan.
NOTE: This product is not intended for use by persons (including children) with reduced physical, sensory or mental capabilities are different or are impaired, or lack of experience or knowledge, unless such persons are supervised or trained to operate the appliance by a person responsible for their safety.
NOTE: Children should be supervised to ensure that they do not use appliances as a toy.
![]() | Blade screws (16PCS) |
| Plastic wire nut (4PCS) | |
| Motor screws (6PCS) | |
![]() | Plastic Plug (1PC) |
| Fob (2PCS) |

Pls check whether above accessories are completed or not? Yes, and install.
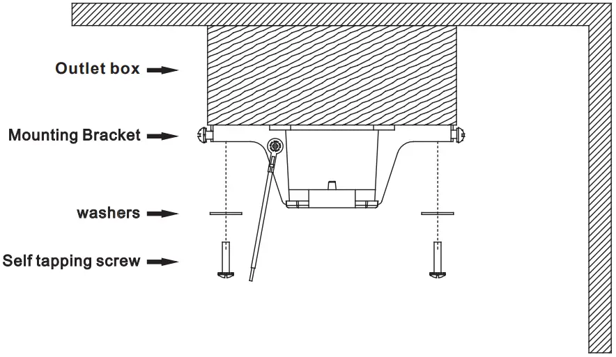
Attaching the fan to the electrical box
WARNING: To reduce the risk of fire,electric shock or personal A1injury, mount to an outlet box marked “Acceptable for fan support ! of 35 lbs . (15.9kg) or less ,” and use the screws provided with the outlet box.
NOTE: The mounting bracket(A) is designed to slide into place on an outlet box with the outlet box screws(LL). 


FROM POWER SOURCE
AC 110- 120 VOLT 60Hz
3.5AMPS.
Note: Remove shipping blocks before operating fan.
Retain screws for installing blade arms.

OPERATING YOUR FAN
Turn on the power and check the operation of the fan.The fan pull chain controls the fan speed as follows:
1 pull-High,2 pulls-Medium,3 pulls-Low,4 pulls-off
The appropriate speed settings for warm or cool weather depends on factors such as the room size,ceiling height,and number of fans.
The slide switch (XX) controls the directionof the blades: forward (switch down) or reverse (switch up).
NOTE: Wait for the fan to stop before reversing the direction of the blade rotation
A. warm weather-(Forward) A Downward airflow creates a cooling effect. This allows you to set your air conditioner on a higher setting without affecting your comfort.
B. Cool weather-(Reverse) An upward airflow moves warm air off the ceiling.This allows Reverse you to set heating unit on a lower setting without affecting your comfort.
size of produc
TROUBLESHOOTING GUIDE
Please refer to the instruction sheet for detailed directions and descriptions of installation steps and requirements.
- FAN / REMOTE IS NOT WORKING
Ensure the remote is within the 20 foot range of the receiver To reset the remote control:
1) Turn off power to fan using the wall switch or circuit breaker.
2) Remove batteries from remote.
3) Wait 10 seconds.
4) Replace batteries and turn power on
Check batteries to insure they are good and oriented correctly
Check to make sure the frequency switches (DIP Switches) from the remote to the receiver are set to the same frequency
Check the main and branch circuit fuses or breakers
If using a Variable Speed Wall Switch, ensure it is specifically designed for use with a ceiling fan.
Check the line wire connections to the fan and the switch wire connections in the switch housing per the instructions - THE FAN IS NOISY
Make sure all motor housing screws are tightened
Make sure the screws that attach fan blade to motor are tight
Make sure the wire nut connectors are not rattling against each other or the interior wall of the switch housing
Allow 24-hour break in period. Most noises associated with the new fan may disappear during this time
If using a ceiling light kit, make sure the glassware is secured tightly
Make sure there is a short distance/gap from the ceiling to the top of the canopy. The canopy should not touch the ceiling!
Make sure your ceiling box is secure and that the rubber isolator pads are used between the mounting bracket and outlet box - THE FAN WOBBLES
Verify all blades and blade bracket screws are secure (most fan wobble problems are caused by loose parts). Once fan is properly installed, run the ceiling fan for 10 minutes to let the fan self-adjust.
If wobble occurs after running the fan for 10 minutes, verify blade level using the following process:
a) select a point on the ceiling above the tip of one of the blades. Then select the fan blade and measure from the center of the selected blade to point on the ceiling. Rotate the fan until the next blade is positioned and repeat the measurement using the same point from the ceiling for every blade. Measurements should be within 1/8 inch. - LIGHT IS NOT WORKING
Check Bulb to make sure it is installed correctly
Remove non-working bulb and replace with a bulb that is known to be a good working bulb
To reset the remote control:
1) Turn off power to fan using the wall switch or circuit breaker.
2) Remove batteries from remote.
3) Wait 10 seconds.
4) Replace batteries and turn power on.
AFTER INSTALLATION
WOBBLE”
The fan blades have been adjusted in the factory to minimize any wobble
NOTE:CEILING FANS TEND TO MOVE DURING OPERATION DUE TO THE FACT THAT THEY ARE MOUNTED ON A RUBBER CROMMET. IF THE FAN WAS MOUNTED RIGIDLY TO THE CEILING, IT WOULD CAUSE EXCESS VIBRATION. MOVEMENT OF A FEW CENTIMENTERS IS QUITE ACCEPTABLE AND DOES NOT SUGGEST ANY PROBLEM
TO REDUCE THE FAN WOBBLE:
PLEASE CHECK THAT ALL SCREWS WHICH SECURED THE MOUNTING BRACKET AND DOWNROD ARE SECURE.
BALANCING A WOBBLING CEILING FAN:
For your convenience, a Balancing Kit is included; please follow this procedure when balancing the fan:
- Check that all blade and blade arm screws are secure.
- Most fan wobbling problems are caused when blade levels are unequal. Check this level by selecting a point on the ceiling above the tip of one of the blades. Measure this distance.Rotate the fan until the next blade is positioned for measurement. Repeat for each blade. The distance deviation should be equal within 1/8″(0.32cm).

- Use the enclosed Blade Balancing Kit if the blade wobble is still noticeable.
- If the blade wobble is still noticeable, interchanging two adjacent (side by side) blades can redistribute the weight and possibly result in smoother operation.
WARNING: TO REDUCE THE RISK OF PERSONAL INJURY, DO NOT BEND THE BLADE ARM WHILE INSTALLING, BALANCING THE BLADES, OR CLEANING THE FAN. DO NOT INSERT FOREIGN OBJECTS BETWEEN ROTATING FAN BLADES.
NOISE When it is quiet(especially at night) you may hear occasional small noises. This is normal. Please allow a 24-hour “breaking-in” period, most noises associated with a new fan disappear during the time.
CARE AND CLEANING
- Periodic cleaning of your ceiling fan is the only maintenance required. Use a soft brush or lint free cloth to avoid scratching the paint finish. Please make sure to turn off electricity power before you clean your fan.
- Do not use water when cleaning your ceiling fan. It could damage the motor or the blades and create the possibility of an electrical shock.
- Motor has permanently lubricated ball bearing. No need to oil
NOTE: MAKE SURE THE POWER IS OFF AT THE ELECTRICAL PANEL BOX BEFORE YOU ATTEMPT ANY CLEANING OR REPAIRS.




















