Parrot Uncle F6339110V Ceiling Fan

Safety Information
- To reduce the risk of electric shock, the electricity has to be turned off at the circuit breaker or fuse box before beginning.
- All wiring must be in accordance with the National Electrical Code NASI/NFPA 70-1999 and local electrical codes. Electrical installation should be performed by a qualified licensed electrician.
- The outlet box and support structure must be securely mounted and capable of reliably supporting 35Ib.(15.9kg). Use only UL-listed outlet boxes marked “Acceptable for Fan Support of 35Ibs(15.9kg)or less.”
- The fan must be mounted with a minimum of 7 ft. (2m) clearance from the trailing edge of the blades to the floor.
- Do not operate the reversing switch while the fan blades are in motion. You must tug the fan off and stop the blades before you reverse the blade direction.
- Do not place objects in the path of the blades.
- To avoid personal injury or damage to the fan and other items, please be careful when working around or cleaning the fan.
- Electrical diagrams are for reference only. Light kits that are not packed with the fan must be UL-listed and marked suitable for use with the model fan you are installing.
Switches must be UL General Use Switches. Refer to the instructions packaged with the light kits and switches for proper assembly. - After making electrical connections, spliced conductors should be turned upward and pushed carefully up into the outlet box. The wires should be spread apart with the
grounded conductor and the equipment-grounding conductor on one side of the outlet box. - All set screws must be checked and retightened where necessary before installation.
WARNING: To reduce the risk of fire, electric shock, or personal injury, mount to the outlet box marked” Acceptable for fan support of 35 lbs.(15.9 kg)or less • and use the screws provided with the outlet box.
Thank you for purchasing this quality product. To ensure correct function and safety, please read and save all instructions before using the product
SAFETY TIP
- To avoid possible electric shock, turn the electricity at the main fuse box or circuit panel before you begin the fan installation or before servicing the fan o.
- Read all instructions and safety information carefully before installing your fan and save these instructions.
- Make sure all electrical connections comply with local codes or ordinances and the National Electrical Code. If you are unfamiliar with electric wiring, please use a qualified and licensed electrician.
- Make sure you have a location selected for your fan that allow clear space for the blades to rotate, and at least seven (7) feet of clearance between the floor and the fan blade tips. The fan should be mounted at least thirty (30) inches from walls or other upright structures.
- WARNING: The outlet box and ceiling support joist used must be securely mounted, and capable of supporting at least 100 pounds. To reduce the risk of fire, electric shock, or personal injury, mount to the outlet box marked acceptable for fan support and use mounting screws provided with the outlet box. The box must be supported directly by the building structure.
- WARNING: To reduce the risk of fire, electric shock or personal injury, mount to the outlet box marked “acceptable for fan support” and use mounting screws provided with the outlet box most outlet boxes commonly used for the support of lighting fixtures are not acceptable for fan support and may need to be replaced. Consult a qualified electrician if in doubt.
- Electrical diagrams are for reference only. Light kits that are not packed with the fan must UL listed and marked suitable for use with the model fan you are installing. Switches must be UL. general use switches. Refer to the instructions packaged with the light kits and switches for proper assembly.
- After installation is complete, check that all connections are absolutely secure.
- After making electrical connections, spliced conductors should be turned upward and pushed carefully up into the outlet box. The wires should be spread apart with the grounded conductor and the equipment-grounding conductor on one side of the outlet box.
- WARNING: To reduce the risk of electrical shock and fire, do not use this fan with any solid-state fan speed control device, or rheostat.
- Do not separate the reverse switch until the fan has come to a complete stop.
- Do not insert anything into the fan blades while they are rotating.
- WARNING: To reduce the risk of personal injury, do not bend the blade brackets (also referred to as “flanges”) during assembly or after
installation. Do not insert objects in the path of the blades. To avoid personal injury or damage to the fan and other items, be cautious when working around or cleaning the fan. Do not use water or detergent when cleaning the fan or fan blades. A dry dust cloth or lightly dampened cloth will be suitable for most cleaning.
NOTE: The important safety precautions and instructions appearing in the manual are not meant to cover all possible conditions and situations that may occur. It must be understood that common sense and caution are necessary factors in the installation and operation of this fan.
NOTE: This product is not intended for use by persons (including children) with reduced physical, sensory or mental capabilities are different or are impaired, or lack of experience or knowledge, unless such persons are supervised or trained to operate the appliance by a person responsible for their safety
NOTE: Children should be supervised to ensure that they do not use appliances as a toy.
WARNING: SHUT POWER OFF AT FUSE OR CIRCUIT BREAKER
WARNING: SHUT POWER OFF AT FUSE OR CIRCUIT BREAKER
NOTE: The mounHng bracket is designed to slide into place on en outlet box with the oullet box 
WARNING: SHUT POWER OFF AT FUSE OR CIRCUIT BREAKER

WARNING: SHUT POWER OFF AT FUSE OR CIRCUIT BREAKER
OPERATING YOUR FAN
- warm weather-(Forward) A Downward airflow creates a cooling e . This allows you to set your air conditioner on a higher setting without a g your comfort.
- Cool weather-(Reverse) An upward airflow moves warm air o ceiling.This allows you to set heating unit on a lower setting a g your comfort.
GENERAL INFORMATION
This remote controller is desianed to separately control your ceiling fan speed and light on and off. There are four buttons(HI,MED, LoW,OFF) to control the speed of the fan and off. The light button will control the light on and off. The indicator on the transmitter will light when one of the five buttons is pressed.
INSTRUCTION OF INSTALLATIONAND OPERATION
- SETTING THE CODES
- To set the codes, perform the following steps:
- Setting the codes on the transmitter:
- Remove battery cover.Press firmly on the arrow and slide battery cover off.
- Slide code switches to your choice of up or down position.(Factory setting is all up. Do not use this position.Use a Small screwdriver or ball point pen to slide firmly up or down (Figure 1)).
Setting the codes on the receiver
The Learn Key must be pressed with in 30 seconds, after pressing the Power button. If not, please press the Power button to restart. Keep pressing the button learn key in excess of 3 second it becomes a LEARN status. The receiver can remember the last codes status. The light flash two times.
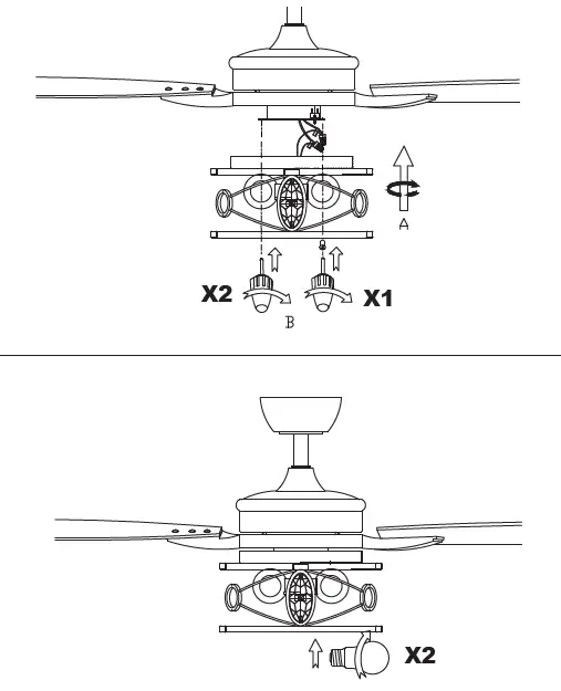
INSTALLING RECEIVER IN CEILING FAN
- WARNING: HIGH VOLTAGE! Disconnect power by removing fuse or switching off circuit breaker. Do not use with solid state fans. Electrical wire must meet all local and nationalelectrical code requirements.
- Supply for fan must be 110/120 volt, 60Hz. Maximum fan motor amps: 1.0,Maximum light watts: 180 incandescent or ballast and LED.
- Otherwise power can cause serious injury or death. lnstalling receiver in fan:
- Remove power from the circuit.
- Remove ceiling fan canopy from the mounting bracket.
- Disconnect existing wiring between ceiling fan and
- Supply in electrical junction box.
- Make connections as follows, using the wire nuts supplied

- If other fans or supply wires are different color, have this unit installed by qualified licensed electrician.
- Push all connected wires up into junction box.
- Lay the brown antenna wire on top of the receiver, and put the receiver into the mounting bracket.
- Reinstall the canopy on the mounting bracket.
- Restore power
OPERATINGTRANSMITTER
- lnstall1.5 volt battery(not included).(To prevent damage to transmitter, remove the battery if not used for along time).
- Store the transmitter away from excessive heat or humidity.
- This remote control unit is equipped with roll code combinations. In order to prevent possible interference from or to other remote units such as garage door openers, car alarm or security system. If you find that your fan and light kit go on and off without using your remote control, simply change the code combination in your transmitter and receiver.
- Operating the buttons on the panel of the transmitter.
- key -for fan high speed.
- key-for fan medium speed.1 key-for fan low speed.
- OFF key-for fan off. LIGHT key-for light on and off.
- 2hr , 4hr , 8hr button to set the FAN sleep timer
FCC Statement
This device complies with Part 15 of the FCC Rules.Operation is subject to the following two conditions:
- This device may not cause harmful interference.
- This device must accept any interference received, including interference that may cause undesired operation. Changes or modifications not expressly approved by the party responsible for compliance could void the user’s authority to operate the equipment.
NOTE:This equipment has been tested and found to comply with the limits for a Class B digital, pursuant to Part 15 or the FCC Rules.These limits are designed to provide reasonable protection against harmful interference in a residential installation.This equipment generates, uses and can radiate radio frequency energy and, if not installed and used in accordance with the instructions, may casue harmful interference to radio communications, However, there is no guarantee that interference will not occur in a particular installation.If the equipment does cause harmful interference to radio or television reception, which can be determined by turning the equipment off and on, the user is encouraged to try to correct the interference by one or more of the following measures:
- Reorient or relocate the receiving antenna.
- Increase the separation between the equipment and receiver.
- Connect the equipment into an outlet on a circuit different from that to which the receiver is connected.
- Consult the dealer or an experienced radio/ TV technician for help.
YOUR REMOTE NOW HAS FULL CONTROL OF THE FAN AND LIGHT
Optional Wall Mounting for Transmitter Holder Place in accessible area of your home, and screw the transmitter holder into wall using the two screws provided,slide hand unit into holder.
TROUBLE SHOOTING GUIDE
- Fails to operate
- Power to receiver ?
- Receiver wired correctly ?
- Fan manual speed control in highest position ?d.Light kit switch turned on ?
- Good battery in the transmitter ?
- Code set at exact same positions in both transmitter and receiver ?
Won’ t operate at distance
- MAX. Motor amps: 1.0
- MAX.Light watts: 180-(incandescent, or ballast non-dimmer, or LED)
- If transmitter operates fan/light kit when up close,but not at 20 feet away.
- Try placing the brown antenna wire higher,up through ceiling/outside the junction box.
size of product
TROUBLESHOOTING GUIDE
Table of Contents
- Fan / Remote is not working
- Fan is noisy
- Fan Wobbles
- Light is not working
Please refer to the instruction sheet for detailed directions and descriptions of installation steps and requirements.
FAN/ REMOTE IS NOT WORKING
Ensure the remote is within the 20 foot range of the receiver To reset the remote control:
- Turn off power to fan using the wall switch or circuit breaker.
- Remove ba eries from remote.
- Wait 10 seconds.
- Replace ba eries and turn power on Check ba eries to insure they are good and oriented correctly Check to make sure the frequency switches (DIP Switches) from the remote to the receiver are set to the same frequency
- Check the main and branch circuit fuses or breakers If using a Variable Speed Wall Switch, ensure it is specifically designed for use with a ceiling fan.
THE FAN IS NOISY
- Make sure all motor housing screws are tened
- Make sure the wire nut connectors are not ra against each other or the interior wall of the switch housing
- Allow 24-hour break in period. Most noises associated with the new fan may disappear during
- If using a ceiling light kit, make sure the glassware is secur htly
- Make sure there is a short distance/gap from the ceiling to the top of the canopy. The canopy should n ot touch the ceiling!
- Make sure your ceiling box is secure and that the rubber isolator pads are used between the moun acket and outlet box
THE FAN WOBBLES
- Verify all blades and blade bracket screws are secure (most fan wobble problems are caused by loose parts). Once fan is properly installed, run the ceiling fan for 10 minutes to let the fan self-adjust.
- select a point on the ceiling above the p of one of the blades. Then select the fan blade and measure from the centerof the selected blade to point on the ceiling. Rotate the fan un e next blade is oned and repeat.
LIGHT IS NOT WORKING
- Check Bulb to make sure it is installed correctly
- Remove non-working bulb and replace with a bulb that is known to be a good working bulb
- To reset the remote control Turn off power to fan using the wall switch or circuit breaker.
AFTER INSTALLATION
The fan blades have been adjusted in the factory to minimize any wobble
NOTE:CEILING FANS TEND TO MOVE DURING OPERATION DUE TO THE FACT THAT THEY ARE MOUNTED ON A RUBBER CROMMET. IF THE FAN WAS MOUNTED RIGIDLY TO THE CEILING, IT WOULD CAUSE EXCESS VIBRATION. MOVEMENT OF A FEW CENTIMENTERS IS QUITE ACCEPTABLE AND DOES NOT SUGGEST ANY PROBLEM WOBBLE” TO REDUCE THE FAN WOBBLE: PLEASE CHECK THAT ALL SCREWS WHICH SECURED THE MOUNTING BRACKET AND DOWNROD ARE SECURE. BALANCING A WOBBLING CEILING FAN:
For your convenience, a Balancing Kit is included; please follow this procedure when balancing the fan:
- Check that all blade and blade arm screws are secure.
- Most fan wobbling problems are caused when blade levels are unequal. Check this level by selecting a point on the ceiling above the tip of one of the blades. Measure this distance.Rotate the fan until the next blade is positioned for measurement. Repeat for each blade. The distance deviation should be equal within 1/8″(0.32cm).
- Use the enclosed Blade Balancing Kit if the bladewobble is still noticeable.
- If the blade wobble is still noticeable, interchanging two adjacent (side by side) blades can redistribute the weight and possibly result in smoother operation. WARNING: TO REDUCE THE RISK OF PERSONAL INJURY, DO NOT BEND THE BLADE ARM WHILE INSTALLING, BALANCING THE BLADES, OR CLEANING THE FAN. DO NOT INSERT FOREIGN OBJECTS BETWEEN ROTATING FAN BLADES
NOISE
When it is quiet(especially at night) you may hear occasional small noises. This is normal. Please allow a 24-hour “breaking-in” period, most noises associated with a new fan disappear during the time.
CARE AND CLEANING
- Periodic cleaning of your ceiling fan is the only maintenance required. Use a soft brush or lint free cloth to avoid scratching the paint finish. Please make sure to turn o electricity power before you clean your fan
- Do not use water when cleaning your ceiling fan. It could damage the motor or the blades and create the possibility of an electrical shock.
- Motor has permanently lubricated ball bearing. No need to oil
NOTE: MAKE SURE THE POWER IS OFF AT THE ELECTRICAL PANEL BOX BEFORE YOU ATTEMPT ANY CLEANING OR REPAIRS.
Parrot Uncle F6339110V Ceiling Fan





















