
VC-PD1 USB
Power Delivery Charger
Instruction Manual
Thank you for purchasing the UC-PD1. The UC-PD1 is the charger that supports USB PD (Power Delivery) function. We strongly recommend reading this Instruction Manual on how to best use the UC-PD1. Please keep this manual for your reference. If you have any additional questions, please contact your local IDX office listed at the end of this manual.
WARNING
May cause sudden serious injury and death
- Do not connect to an AC power source that exceeds the voltage specification stated on the unit.
- Use only with the compatible batteries listed in this manual.
- Do not short the contact pins with any metal object.
- Do not carry or store metal equipment.
- Do not immerse in water.
- Do not attempt to open the outer casing or break it apart.
- Do not subject the unit to extreme physical impact or pressure, or place any object across the terminals that could cause it to short.
- Do not attempt to use it if damaged.
- Protect the power cord from any damage.
- Please don’t use the charger which has damage on the cable and the connector is deformed.
CAUTION
May cause sudden serious injury and death
- Use the approved power cord/appliance connector/plug conforming to the proper ratings (voltage, ampere) and safety regulations of each country if applicable.
- Keep the unit away from excessively dry or humid environments.
- Stop charging immediately if the charging does not complete within the designated time.
- In case of abnormal smell, leak, color change, or case deformity during use, turn the power off and unplug the cable from the socket to avoid possible injury.
- Do not carry the charger while the battery is attached.
- Do not charge the battery while the battery is used with the equipment.
- Do not charge the battery while the battery is charged from another charger.
Features
- IDX Lithium-ion batteries equipped with USB PD can be charged.
- Supports USB PD with max. 65W. The output voltage is switched automatically when connecting the battery and it enables to charge of the battery with the appropriate voltage.
- AC plug can be folded and stored.
- POWER LED lights when connecting the AC plug to the outlet.
Operating Instructions
- Connect the AC plug to the outlet.
- Start charging automatically when plugging the USB-C connector into IDX Battery equipped with USB PD.
- Remove the connector after charging.
Specifications
- Recommended batteries: IDX V-Mount Lithium-Ion batteries equipped with USB PD
- Input voltage : AC100V∼240V 50 / 60Hz Automatic
- Output voltage: 1DC5V/3A, DC9V/3A, DC12V/3A, DC15V/3A, DC20V/3.25A (MAX 65W)
- DC Connector: USB Type-C
- Operating temperature : 0∼40°C / 32∼104°F
- Operating humidity: 5%∼90% RH
- Protection circuit: Over-voltage, Over-current, Short circuit
- Dimensions: approx. 68 ( W )x68 ( H )x30.5 ( D )mm approx. 2.67 ( W )x2.67 ( H )x1.2 ( D ) inches
- Cable length: approx. 1.2m approx. 47.24inches Weight: approx. 219g / 0.481bs
- Charge time standard: For the latest charging time information, please visit our website ( http://www.idxtek.com/charging-times )
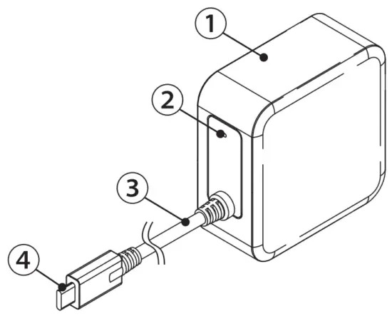
Location and Function of Parts
- Body
- Power LED
- Charging cable
- USB-C connector
- AC plug
- Conversion plug


* Design and specifications are subject to change without notice.
* USB Type-C® and USB-C® are trademarks or registered trademarks of USB Implementers Forum companies.
CAUTION
- Charging with USB Power Delivery requires connecting the equipment which supports USB Power Delivery.
- The output voltage is switched automatically when connecting the battery.
- Please insert the USB-C connector firmly. Start charging automatically when plugging the USB-C connector into IDX Battery equipped with USB PD.
- Please check the charging status by pressing the LED check button on the connected battery.
- Please be careful as the charger may heat up during charging.
- Not all the products that are equipped with a USB can be charged. Please note that you may not be able to use this charger with these products.
Manufacturer : IDX Company,Ltd. 6-28-11 Shukugawara, Tama-ku, Kawasaki-shi, Kanagawa-ken, 214-0021 Japan
Tel : +81-44-850-8801
Fax : +81-44-850-8838
URL : https://www.idx.tv/
E-mail : [email protected]
Importer for EU:!DX Technology Europe, Ltd. Unit 9, Langley Park, Waterside Drive, Langley, Berkshire SL3 6AD, England
Tel : +44-1753-547692
Fax : +44-1753-546660
URL : http://www.idx-europe.co.uk/
E-mail : [email protected]
Importer for the USA: IDX System Technology, Inc. 2377 Crenshaw Blvd, Suite 154, Torrance CA 90501 USA
Tel : +1-310-328-2850
Fax : +1-310-328-8202
URL : http://www.idxtek.com/
E-mail : [email protected]
202111
C1MK210129-1
















